牌匾施工图

牌坊设计施工图
图片尺寸1648x1165
店铺招牌标准做法详图
图片尺寸1857x732![[分享]古典中式牌坊大门施工图资料下载](https://i.ecywang.com/upload/1/img1.baidu.com/it/u=3375680680,3948167156&fm=253&fmt=auto&app=138&f=JPEG?w=738&h=424)
[分享]古典中式牌坊大门施工图资料下载
图片尺寸738x424
一个商铺广告招牌大样图纸
图片尺寸610x428
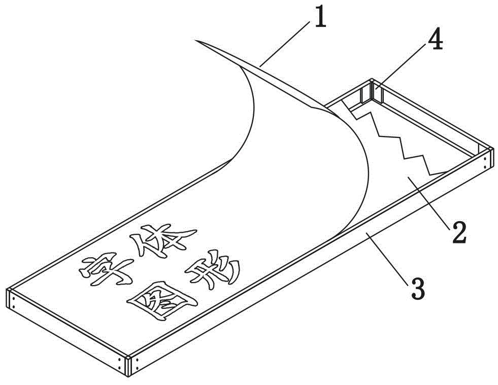
一种仿古木纹牌匾的制作方法
图片尺寸981x759
仿古牌坊 建筑cad施工图图片2
图片尺寸610x432
广告招牌施工图下载
图片尺寸1600x592![[广东]城镇商铺广告招牌整饰工程量清单计价实例(附施工图纸)](https://i.ecywang.com/upload/1/img0.baidu.com/it/u=177325730,1463108203&fm=253&fmt=auto&app=138&f=JPEG?w=500&h=267)
[广东]城镇商铺广告招牌整饰工程量清单计价实例(附施工图纸)
图片尺寸560x299
字牌t型牌 三角牌结构图及施工图全矢量图图片
图片尺寸1002x1024
中式牌坊施工图古典中式牌坊cad原创
图片尺寸689x500
免费下载 广告招牌结构 施工图
图片尺寸650x422
某状元牌坊全套施工图
图片尺寸858x608
某城市街道门头牌改造项目平面设计图纸
图片尺寸610x432
某牌坊设计cad施工图
图片尺寸700x461
门头装修施工申请表_歌厅门头装修效果图_物业安装门头招牌申请
图片尺寸1800x1268
某地小型牌坊建筑设计施工图标注详细
图片尺寸610x451
外墙招牌详图节点
图片尺寸700x453
【dwg】状元牌坊全套施工图
图片尺寸650x459
钢结构广告牌详细设计cad施工图
图片尺寸610x861
仿古建牌坊施工图2
图片尺寸264x458