猫耳洞尺寸

产品型号bnkd117
图片尺寸790x1151
商品详情
图片尺寸750x994
601a-3a 猫眼尺寸图及唯一 性说明.png
图片尺寸800x717
200度方形铜猫眼,200度方形铜门眼,200度方形铜防盗眼
图片尺寸917x556
吉宠时光藤席剑麻猫爬架猫窝猫树猫架子凉席款大号多
图片尺寸790x1780
pivot enclosures
图片尺寸1001x1001
【急急急】
图片尺寸969x650
野外生存技巧小知识猫耳洞究竟是怎么挖出来的
图片尺寸472x491
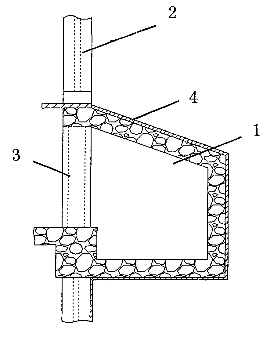
cn101676501a_一种建筑猫耳洞失效
图片尺寸898x1104
收藏商品
图片尺寸750x943
猫墙尺寸大全猫体工程学.不养猫的设计师,遇到养猫的业主,谈到 - 抖音
图片尺寸1600x2511
the elections 750_860
图片尺寸750x860
适用airpods1/2代保护套苹果液态硅胶无线蓝牙耳机保护套壳九洞款
图片尺寸1000x1000
美篇
图片尺寸749x1184
猫房30
图片尺寸1080x1441
大眼猫2
图片尺寸690x976
s925纯银小鹿雪花耳钉时尚红珠麋鹿耳饰红贝珠女款圣诞节首饰银饰
图片尺寸790x1111
老山传奇23猫耳洞堑壕感激为收复老山做出贡献的云南麻栗坡各族人民
图片尺寸1080x607
10cm heightened summer hollow breathable shoes fema
图片尺寸700x495
扬州邦博电气有限公司
图片尺寸700x905