环工锁结构图

有图最好.和一般的弹子锁有什么区别?
图片尺寸600x306
孔明锁鲁班锁36套全套智力解环套装木制儿童益智高难度解锁玩具
图片尺寸1200x1428
常见防盗门锁结构图大全
图片尺寸427x469
本发明涉及一种包括锁体和环状件的挂锁,其中,环状件可在闭合位置与
图片尺寸798x1000
一种新型电子机械锁
图片尺寸1463x932
x技术>最新专利>五金工具产品及配附件制造技术>一种防盗智能锁结构的
图片尺寸846x1000
cn202745498u_锁的连动结构失效
图片尺寸1000x728
锁芯解剖图
图片尺寸409x283
工程机械普通门锁结构模型3d图纸solidworks设计
图片尺寸1080x658
一种电子柜锁的唤醒结构的制作方法
图片尺寸905x1000
一种挂锁组的制作方法
图片尺寸1000x841
无忧文档 所有分类 工程科技 建筑/土木 安防铁架锁结构图 第1页 (共
图片尺寸690x520
锁芯内部结构(附图)-锁芯解剖结构之欧阳体创编
图片尺寸893x376
但由于结构上存在对称差异,两门锁组件组装
图片尺寸1000x789
环牌锁业50mm仿铜铁挂锁 钱箱电脑机箱柜门锁 防盗安全锁头批发
图片尺寸375x340
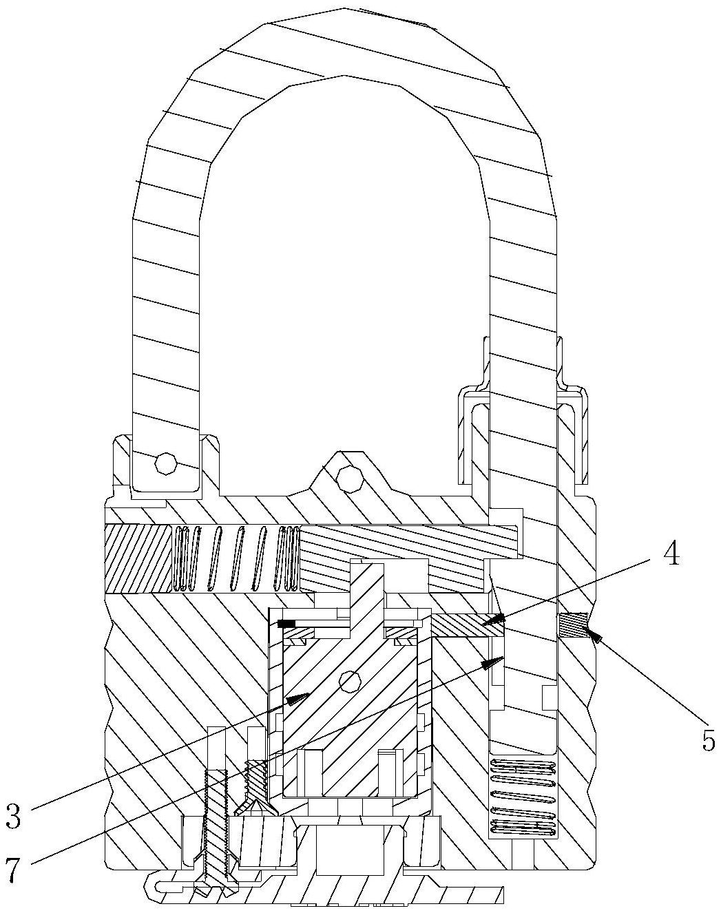
一种挂锁锁环限位结构
图片尺寸1047x1326
锁芯解剖图
图片尺寸463x270
各种锁芯的解剖图参考
图片尺寸311x353
bq2201-8型双向液压锁结构图,bq2201-8型双向液压锁安装说明,bq2201-8
图片尺寸431x432
门锁里的构造图怎么组装
图片尺寸345x334