环形器结构图

一种同轴环行器
图片尺寸1132x2076
光环行器的典型结构有n(n≥3)个端口,如图1所示,当光由端口1输入时,光
图片尺寸640x247
cn101621148b_一种环行器有效
图片尺寸1000x769
一种微型环形器结构
图片尺寸1575x1453
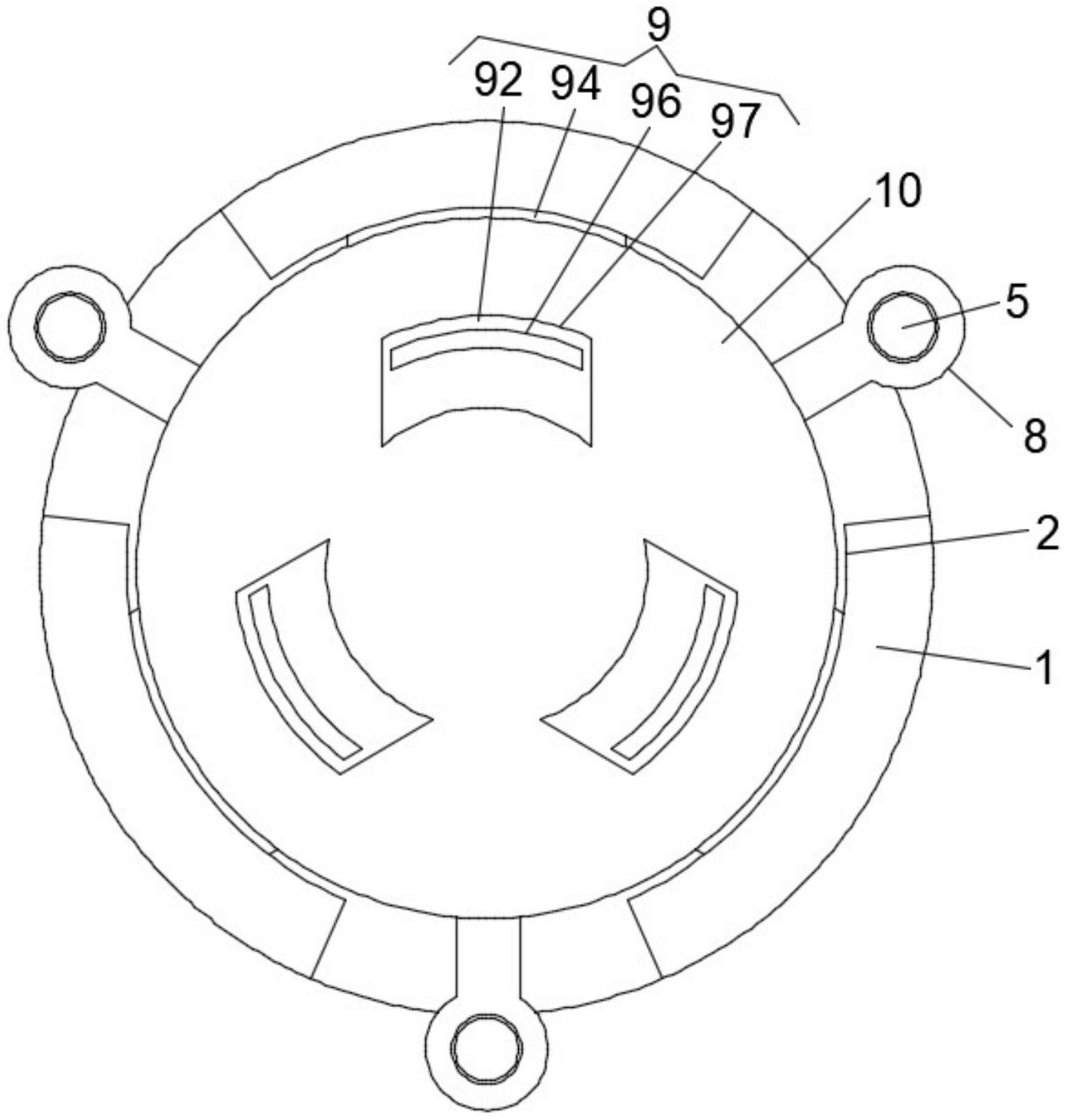
一种小型环形器-爱企查
图片尺寸792x800
一种新型光纤环形器
图片尺寸1760x1011
cn112276868a_一种可调孔径大小的环形电锤设备在审
图片尺寸1963x1497
一种圆环形定位阻流器
图片尺寸1000x921
一种用于5g通信小型化环形器结构的制作方法
图片尺寸938x1000
一种具有铆接冲压式壳体结构的环形器
图片尺寸506x719
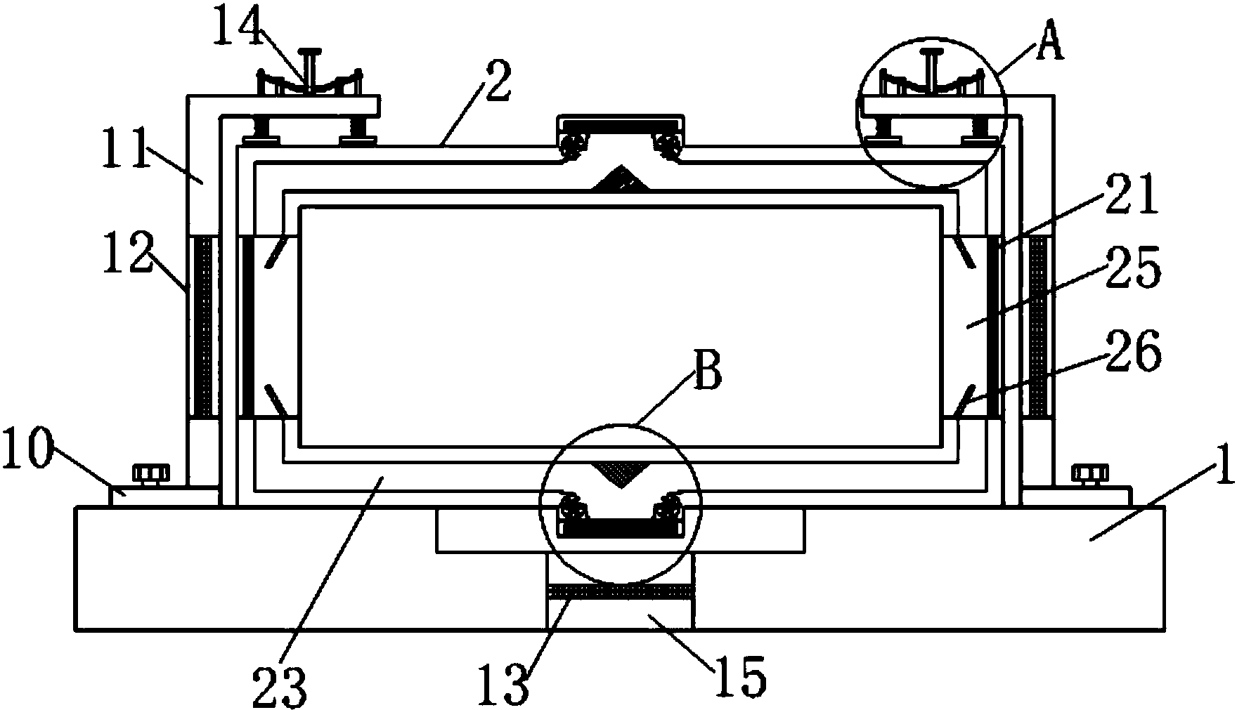
背景技术:原有的嵌入式环形器结构属于上下腔体拼装式的.
图片尺寸952x1000
一种环形变压器的制作方法
图片尺寸910x1000
一种微型环形器结构的制作方法
图片尺寸1000x469
一种扣压内旋盖式环行器
图片尺寸1471x1153
cn211957860u_一种小尺寸易安装表贴环形器有效
图片尺寸1390x1459![[0016]图2为本实用新型实施例一的超小型网络环形器的壳体结构示意图](https://i.ecywang.com/upload/1/img1.baidu.com/it/u=340283552,3285863191&fm=253&fmt=auto&app=138&f=JPEG?w=475&h=520)
[0016]图2为本实用新型实施例一的超小型网络环形器的壳体结构示意图
图片尺寸475x520
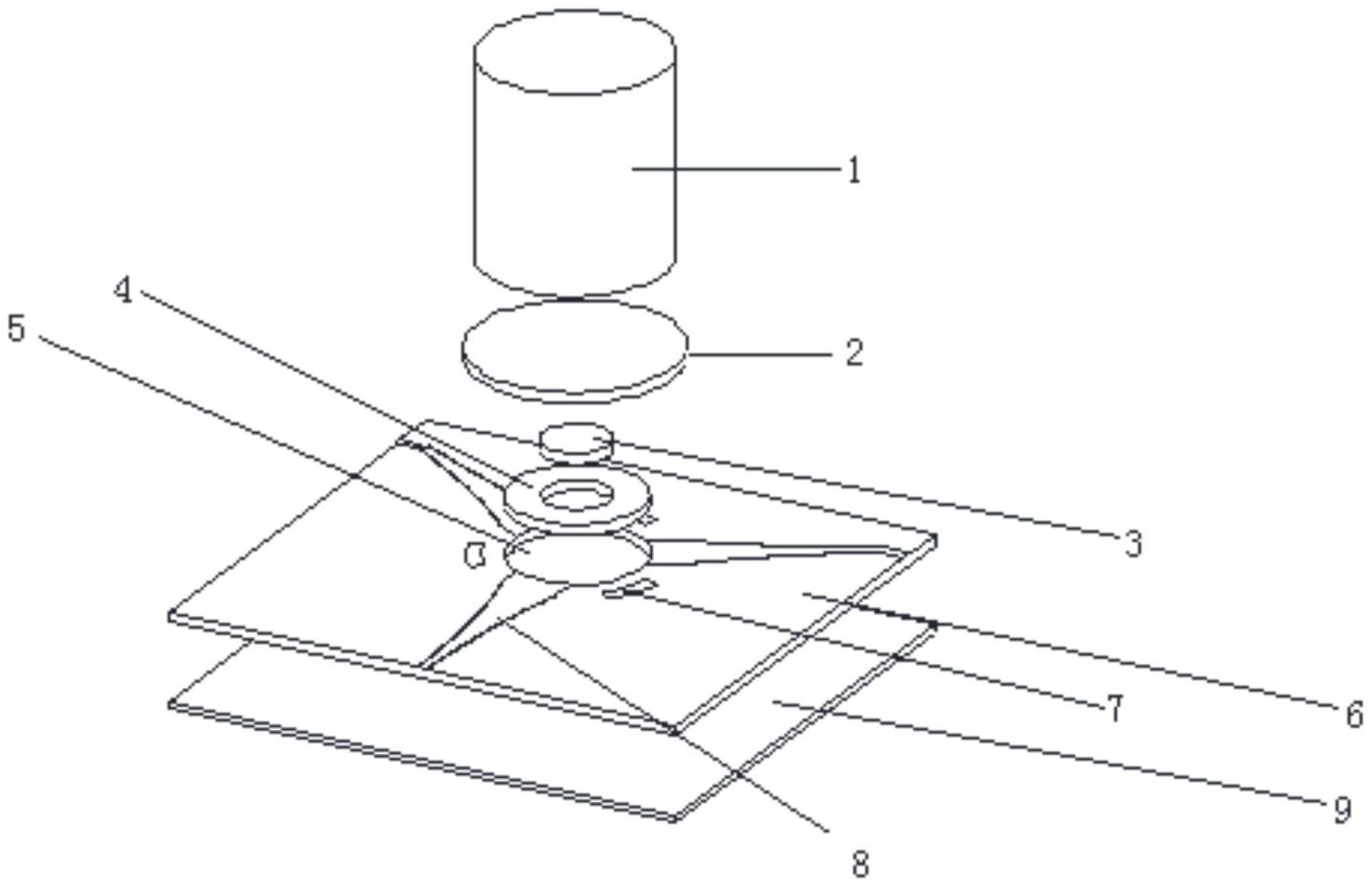
一种同轴等光程的自由空间环形器的制作方法
图片尺寸1000x966
一种光环形器的制作方法
图片尺寸1000x433
涉及一种微带环形器技术领域,包括磁钢,陶瓷盖板,高磁距铁氧化柱,低磁
图片尺寸1433x926
一种环形器的制作方法
图片尺寸432x1000