玻璃幕墙压板

关于幕墙明框玻璃压板问题小节
图片尺寸392x522
图片图片可整合不同的旭格门,窗,推拉系统玻璃压板型材和幕墙罩盖选择
图片尺寸443x443
铝合金幕墙玻璃附框特殊付框隐框大连生产厂家90度转角弧形全压板
图片尺寸750x750
幕墙防水理论与常见幕墙防水缺陷分析
图片尺寸1080x479
明框幕墙是用压板和机制螺钉将玻璃固定在横梁和立柱上.
图片尺寸655x342
铝合金幕墙副框压板 玻璃双压块单压块 阳光房坡道钢结构隐框幕墙
图片尺寸795x795
单元式防火隔热玻璃幕墙-爱企查
图片尺寸1823x1951
三类幕墙:工艺 成本 细节—— 石材铝板玻璃
图片尺寸650x284
图片图片可整合不同的旭格门,窗,推拉系统玻璃压板型材和幕墙罩盖选择
图片尺寸443x443
深灰色幕墙外盖板铝合金装饰盖玻璃幕墙压板明框铝合金扣盖
图片尺寸800x800
西创系统a类防火(2h)3mm精制钢玻璃幕墙系统(图10)
图片尺寸1280x905
幕墙玻璃板块的安装技巧
图片尺寸470x567
河南玻璃幕墙-林州玻璃幕墙厂家电话-林州玻璃幕墙厂家
图片尺寸846x511
玻璃幕墙铝板幕墙安装施工
图片尺寸1920x1440
长沙江高玻璃幕墙装饰工程有限公司
图片尺寸480x319
明框玻璃幕墙
图片尺寸470x641
幕墙压板玻璃副框单压块双压块铝合金幕墙阳光房压块 25*23*2.
图片尺寸3000x4000
明框玻璃幕墙工程设计说明(word,6页)
图片尺寸471x329
玻璃幕墙
图片尺寸280x380
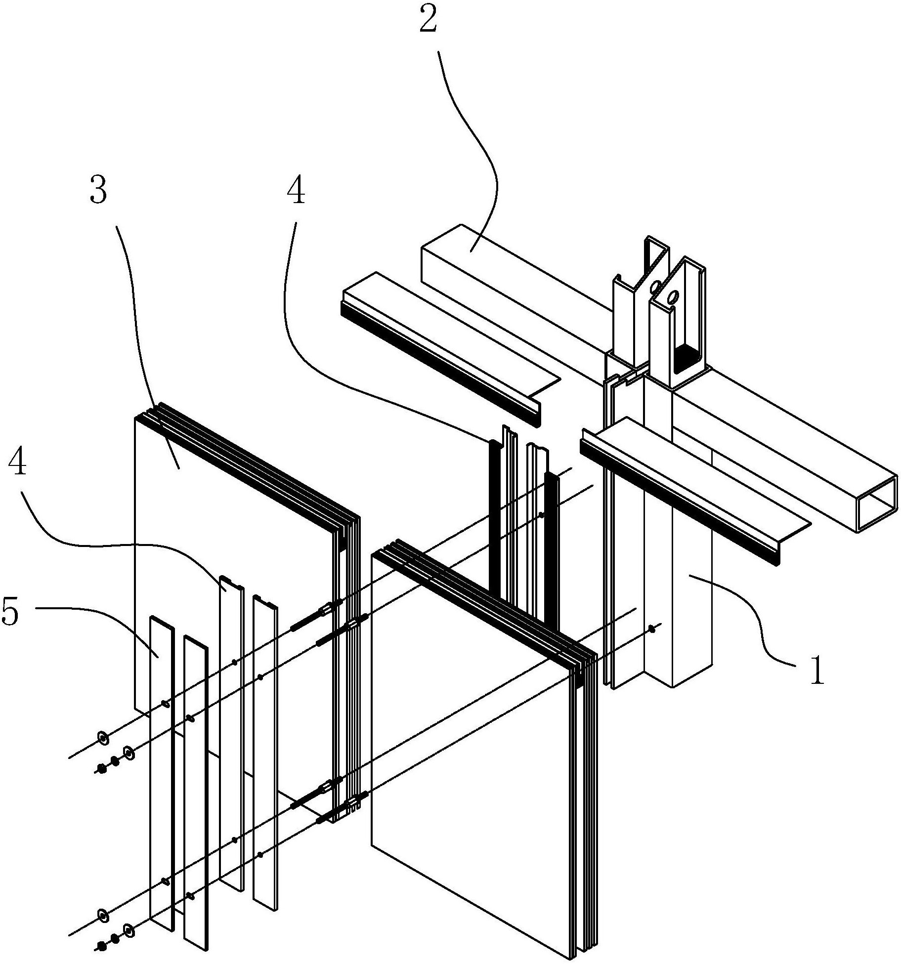
明框玻璃幕墙:明框幕墙的玻璃是用压板和橡皮条固定在横梁和立柱上
图片尺寸512x341