球机安装图
![kv8001全高清网络智能高速室外球机安装说明书:[2]](https://i.ecywang.com/upload/1/img0.baidu.com/it/u=1418055856,3636279887&fm=253&fmt=auto&app=120&f=JPEG?w=800&h=1132)
kv8001全高清网络智能高速室外球机安装说明书:[2]
图片尺寸2381x3368
标准智能篮球发球装备
图片尺寸790x1297
球机安装示意图
图片尺寸1080x365
tplink300万4g全彩室外球机tlipc632a4g西安现货供应tplink西安代理
图片尺寸1000x804
海康威视智能监控球型摄像 头旋转高清变焦球机 ds-2dc6120iy-a
图片尺寸750x944
大华dahua 球机 dh-sd6c84fx-gn-a 400万全彩智能球机 高清监控摄像机
图片尺寸790x1095
海康威视供应i红外高线高速智能球机ds2af7023ia
图片尺寸765x486![kv8001全高清网络智能高速室外球机安装说明书:[1]](https://i.ecywang.com/upload/1/img0.baidu.com/it/u=3123902216,3431165057&fm=253&fmt=auto&app=138&f=JPEG?w=500&h=707)
kv8001全高清网络智能高速室外球机安装说明书:[1]
图片尺寸2381x3368
一种球磨机用的自动加球机的制作方法
图片尺寸1000x865
200万红外网络智能球机
图片尺寸482x361
200万像素5寸数字高清高速智能球机
图片尺寸800x540
海康威视监控摄像头室外球机 2k高清全彩夜视360度网络云台摄像机家用
图片尺寸990x926
200万像素网络智能球型摄像机
图片尺寸478x325
高速网球发球机供球系统专利_专利申请于2013-10-22
图片尺寸992x1005
ds2ae5123ta海康威视5寸23倍720p室外同轴智能球机
图片尺寸650x416
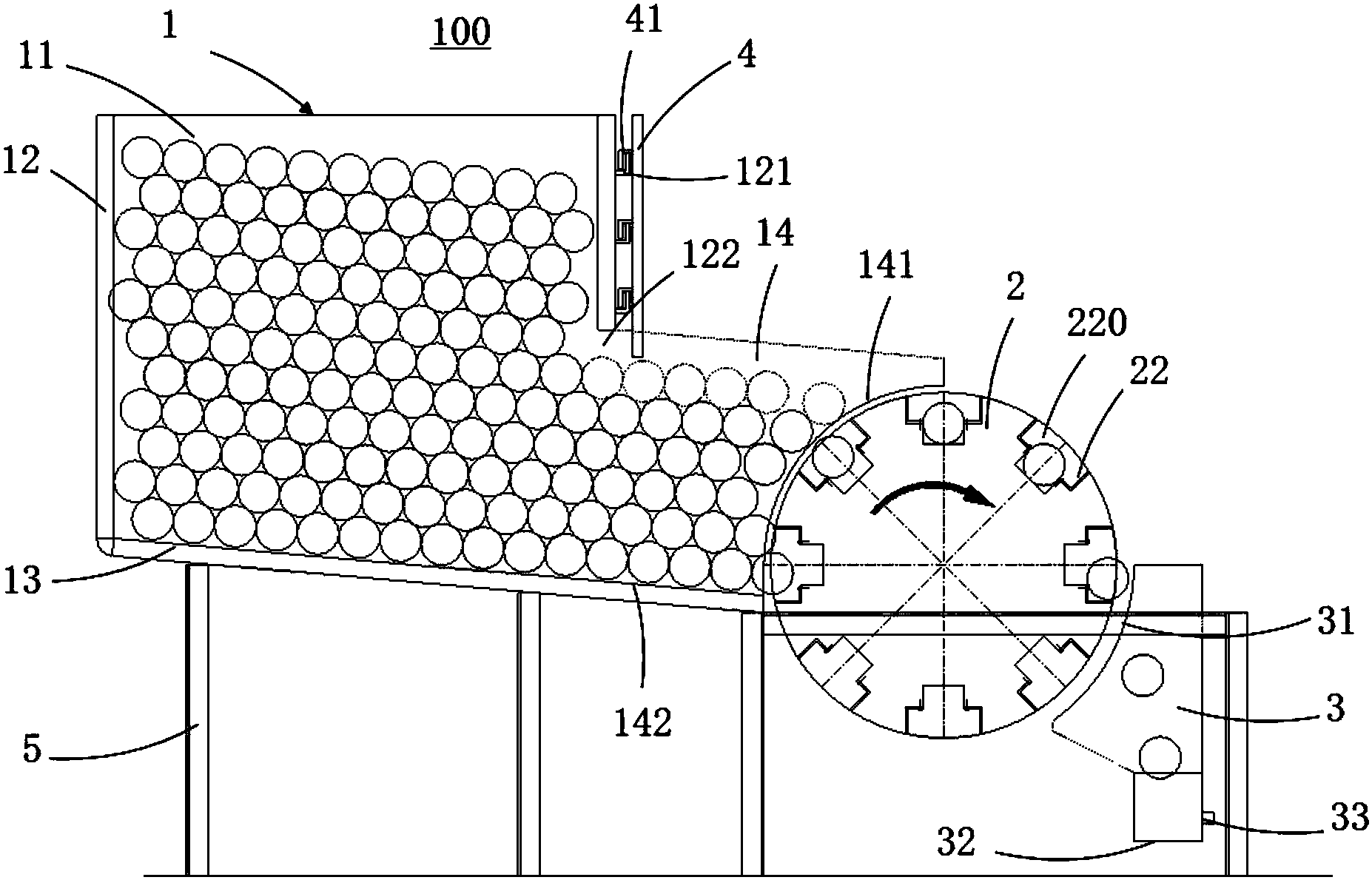
辊筒型加球机
图片尺寸1854x1189
走进钨合金球的圆盘造球机
图片尺寸800x400
网络红外高速智能球机
图片尺寸3112x2088
海康威视130 万红外网络高清高速智能球机ds-2df72.
图片尺寸1025x583
10室外壁装7寸球机安装图_副本
图片尺寸760x570