瓶塞简笔画

瓶塞(通用型)
图片尺寸552x825
瓶塞(l34)-爱企查
图片尺寸603x929
瓶塞(8)-爱企查
图片尺寸720x1544
瓶塞-爱企查
图片尺寸690x978
葡萄酒瓶塞图标轮廓风格
图片尺寸693x1200
本外观设计产品为补料瓶塞,用于液体分配设备的密闭
图片尺寸959x1149
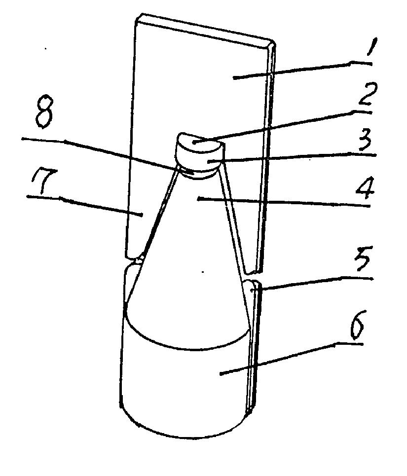
一种便于开启的玻璃瓶瓶塞
图片尺寸938x987
瓶塞
图片尺寸1568x1483
化妆品包装瓶的瓶塞-爱企查
图片尺寸1472x1608
简笔画瓶塞
图片尺寸623x500
瓶塞
图片尺寸427x1062
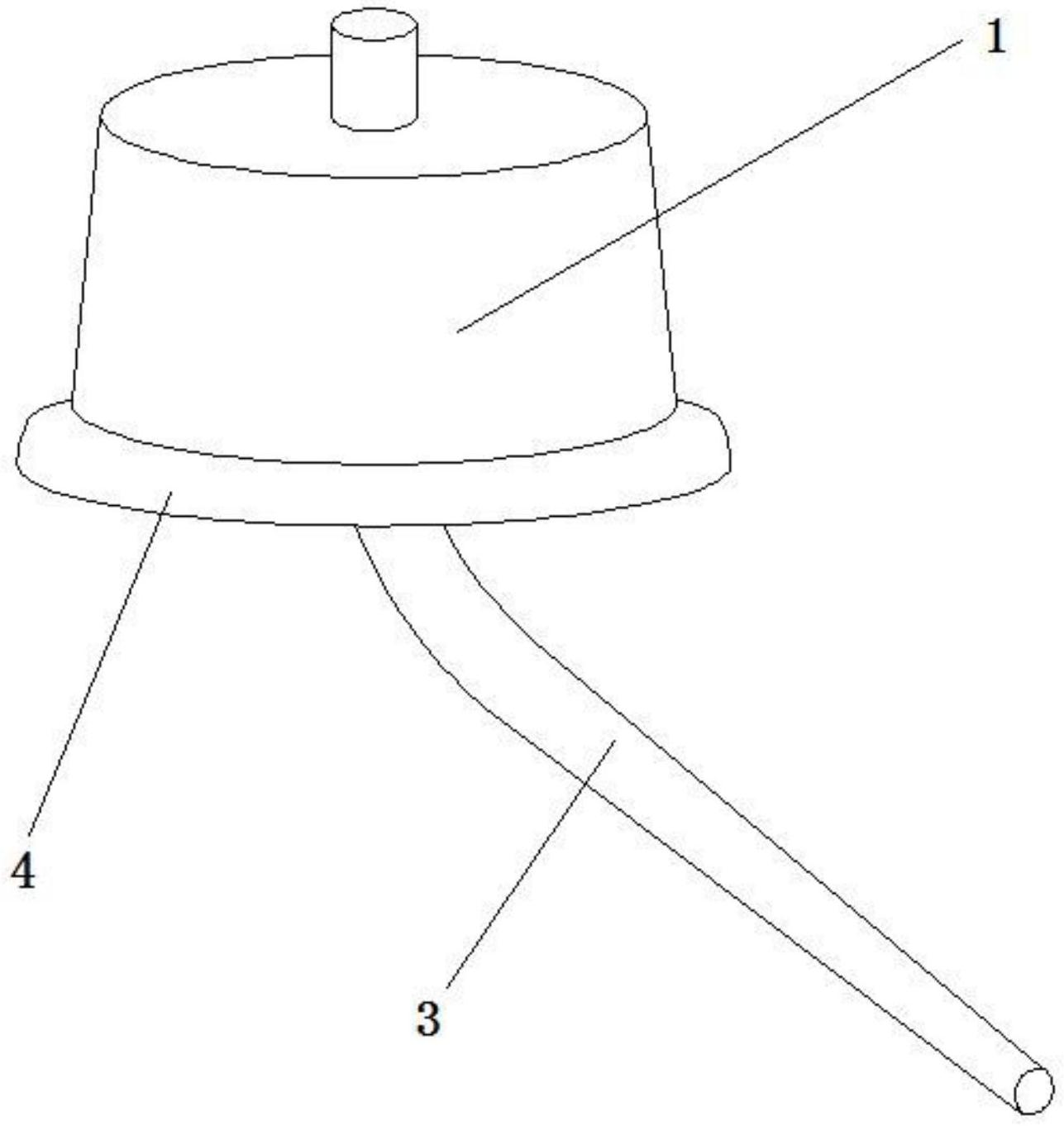
可放置镊子的广口瓶瓶塞-爱企查
图片尺寸936x1561
一种高分子材料红酒瓶塞的制作方法
图片尺寸269x443
瓶塞(鹿)-爱企查
图片尺寸647x799
方便拨起的保温瓶塞
图片尺寸736x865
兔用水瓶瓶塞-爱企查
图片尺寸1287x1362
香槟瓶塞砰砰声卡通
图片尺寸1024x1024
摘要附图摘要一种瓶子,尤其是一种无需另配瓶盖或瓶塞或密封膜而将
图片尺寸825x965
白色瓶塞
图片尺寸610x610
瓶塞
图片尺寸808x799