电主轴结构图

瑞士电主轴结构图
图片尺寸2550x1744
数控机床电主轴结构简述
图片尺寸640x387
数控雕刻机主轴是电主轴的一种,主要应用于中小型雕刻设备上面,具有
图片尺寸865x400
该电主轴采用直联主轴,中间没有齿轮或其他减速机构,其基本结构如图2
图片尺寸699x343
主轴结构 - 2020年最新商品信息聚合专区 - 百度爱采购
图片尺寸640x480
一种cnc数控铣床的电主轴结构
图片尺寸1147x2586
剐齿机刀具电主轴
图片尺寸2157x826
图2 gd-Ⅱ型高速电主轴的结构
图片尺寸418x216
电主轴结构:编辑于 2017-04-27 16:34数控机床写下你的评论.
图片尺寸471x279
一种高精度永磁同步中心出水电主轴的制作方法
图片尺寸412x1000
一种主动通讯式的自动换刀电主轴
图片尺寸2144x1134
河北库存电主轴维修厂家供应,电主轴维修
图片尺寸640x480
卧式加工中心电主轴2.jpg
图片尺寸1047x442
一种回抽复合式搅拌摩擦焊动静压电主轴
图片尺寸1505x942
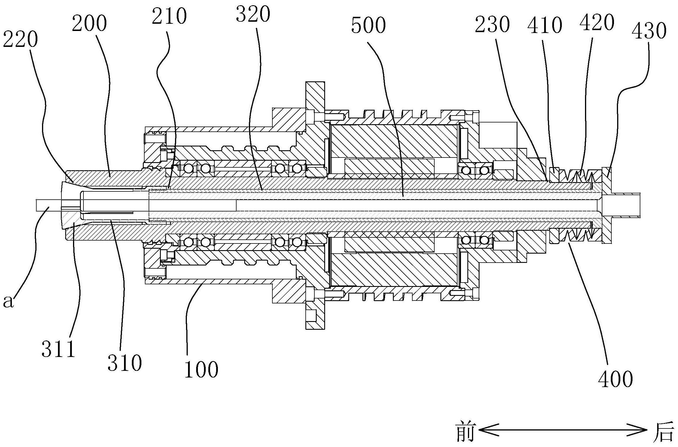
一种车床电主轴装置-爱企查
图片尺寸2340x1544
奔跑的豌豆
图片尺寸739x461
厂家直供台炬机械ck36a2-4车床永磁电主轴zj150cd5l-7.5w-a
图片尺寸1920x1357
cn207930498u_磨床电主轴结构有效
图片尺寸2551x1432
ug电主轴建模
图片尺寸1296x656
cn203109249u_车床电主轴有效
图片尺寸1000x553