电吹风机结构

同时也得益于其马达和塑料部分的改进,让吹风机的外观结构发生了很大
图片尺寸640x480
吹风机什么牌子的好?五款热门机型推荐帮你优中选优_头发_电吹风_人群
图片尺寸500x323
2022电吹风吹风机推荐1月电吹风怎么选吹风机哪个牌子好负离子水离子
图片尺寸500x529
proe/creo家电产品结构设计-电吹风设计规范
图片尺寸492x471
家用大风力蓝光恒温电吹风.#上热门 已采用了先进技术的配置, - 抖音
图片尺寸1080x1096
电吹风结构
图片尺寸275x300
首先我们来了解下吹风机的原理,吹风机主要是由电动机,电热元件,风叶
图片尺寸550x282
电吹风
图片尺寸676x583
洁霸bf534强力吹干机拉杆式三速风机酒店超市商场地板地毯吹风机
图片尺寸772x473
吹风机市场调研
图片尺寸692x526
代理飞利浦电吹风hp8203吹风机 飞利浦负离子电吹风 恒温
图片尺寸735x570
厂家批发5121迷你电吹风 吹风机 吹风筒1000w
图片尺寸1563x1920
超洁亮sc-900地毯吹干机 酒店宾馆地面地毯风干机 三速吹风机
图片尺寸850x443
吹风机应该如何选择?
图片尺寸1920x785
吹风机的原理和小电扇差不多.只不过结构上增加了一段电热丝结构.
图片尺寸1080x751
万字整理/吹风机选购攻略及避坑指南/各价位区间高性价比电吹风评测
图片尺寸1080x792
电吹风方案浅析?
图片尺寸1080x608
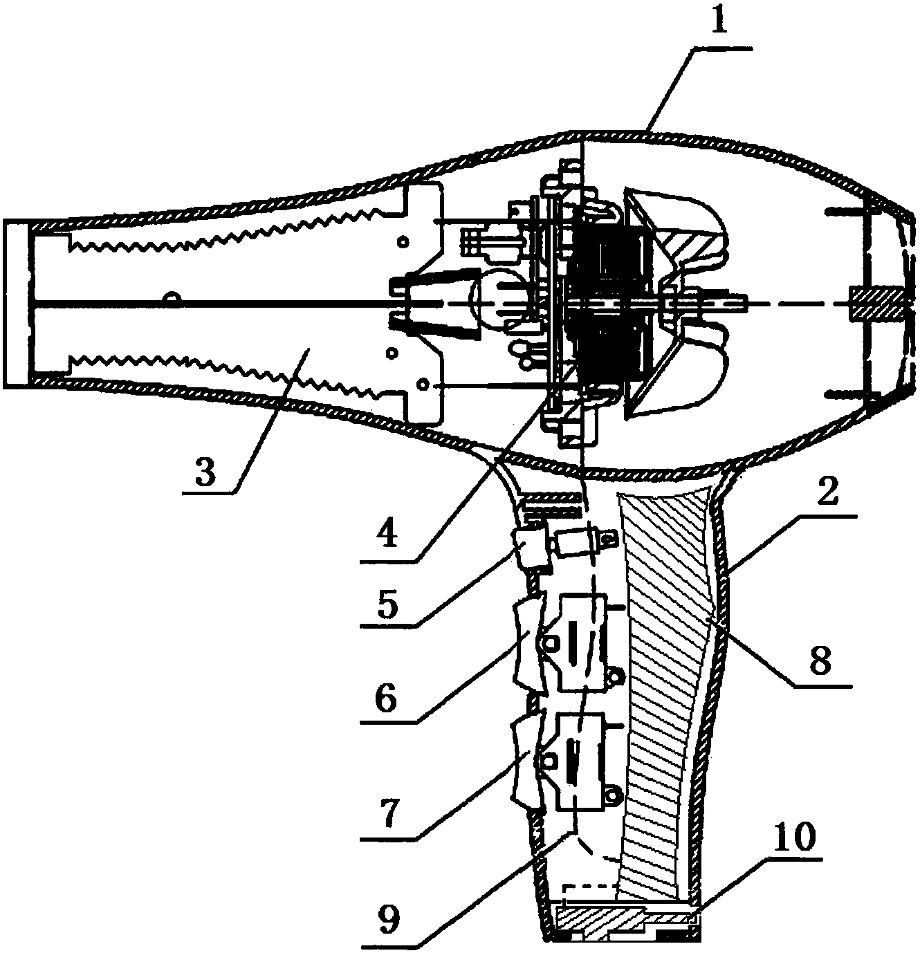
型小体积吹风机,包括前主壳体,后主壳体,半圆柱手柄壳,手柄套筒,电机
图片尺寸1721x1308
高速吹风机风筒直流无刷电机11万转13叶戴森电吹风烘干机
图片尺寸640x917
一种充电式电吹风
图片尺寸1330x1378