电感器结构

卷线型电源电感器结构图
图片尺寸561x336
积层信号电感器结构图
图片尺寸664x306
电感器的基础知识详解
图片尺寸444x382
卷线型信号电感器结构分析
图片尺寸562x275
磁芯材料电感结构组成分类特点
图片尺寸380x246
光电式光量传感器的结构
图片尺寸800x350
电子设计基础(三):电感
图片尺寸640x480
一文读懂电感式传感器
图片尺寸254x258
村田绕线电感薄膜电感叠层电感的特点与差异
图片尺寸769x436
【推荐1】图a,b分别是电容式转速传感器,电感式转速传感器的结构原理
图片尺寸5961x2121
叠层电感也就是非绕线式电感,叠层电感是电感按结构不同对电感进行
图片尺寸500x251
电感器是什么东西图文详解电感器教你一眼在迷惑的电路图中识别它
图片尺寸500x377
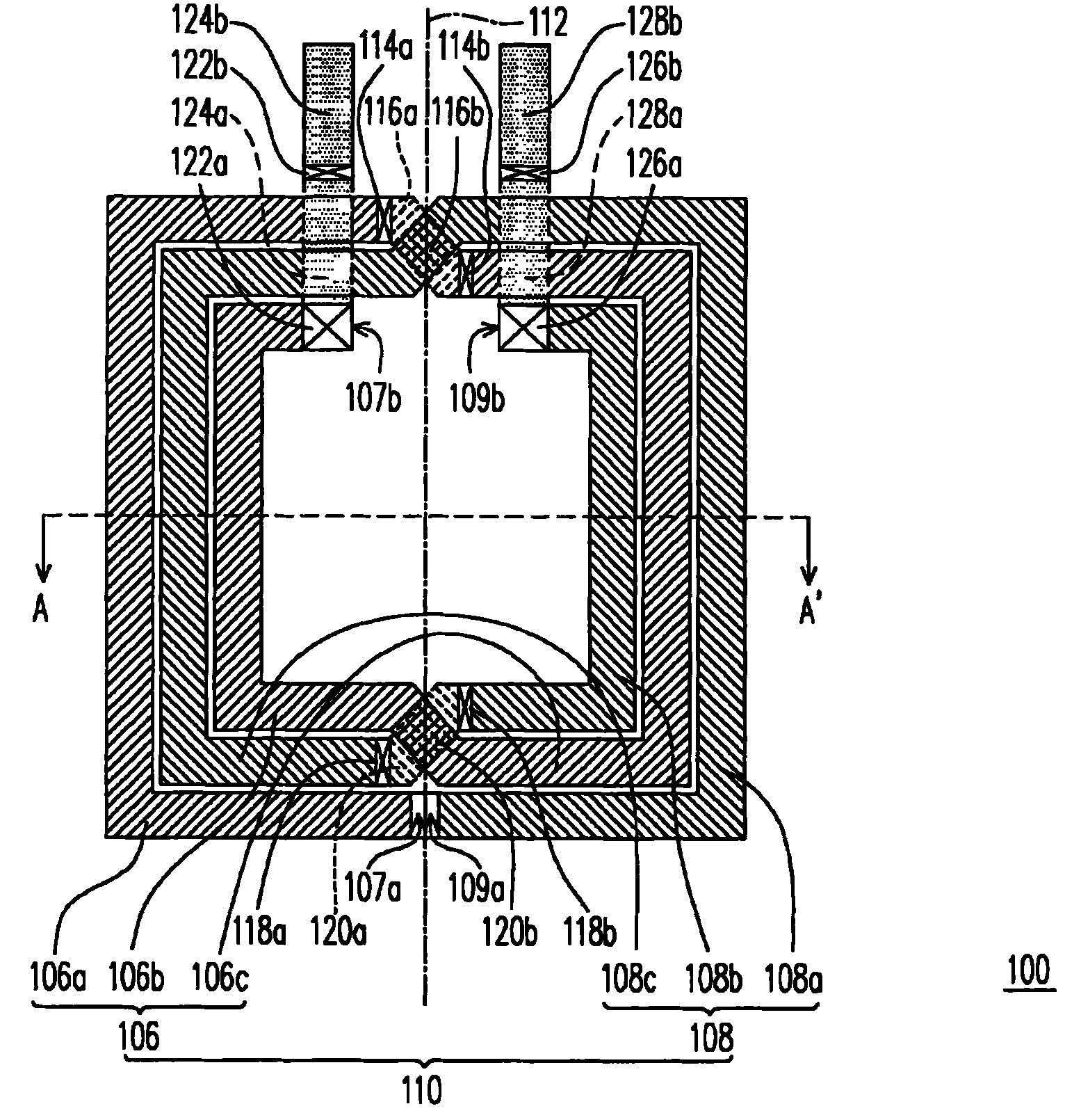
cn101206950b_电感结构有效
图片尺寸1532x1610
电感器的结构和种类介绍
图片尺寸392x415
电感的基本原理工艺结构及应用选型
图片尺寸656x244
鲜为人知的电感详细设计步骤
图片尺寸4835x3227
自感式电感传感器
图片尺寸415x240
一种具有安全防护功能的电感器-爱企查
图片尺寸1323x1344
电感器的功能用途,你了解过吗?一文读懂电感式传感器原理和分类
图片尺寸640x295
片式电感及其应用
图片尺寸816x425