电磁阀图纸

电磁阀工作原理
图片尺寸660x571
zczp系列电磁阀-永嘉上正流体科技有限公司
图片尺寸500x625
zqdf蒸汽法兰电磁阀-制药网
图片尺寸548x305
201430200972.6 - 电磁阀 - soopat专利搜索
图片尺寸1476x1685
一种大口径先导式高压常开电磁阀专利_专利申请于2020-03-31_专利查询
图片尺寸1663x1865
郑州2w膜片式铜电磁阀价格_阀门栏目_机电之家网
图片尺寸1122x737
一种智能电磁脉冲阀的制作方法
图片尺寸1000x966
燃气电磁阀说明书(家用燃气电磁阀安装示意图)|天地安阀门
图片尺寸978x513
zqdf蒸汽电磁阀3d图纸 soildworks3d设计图
图片尺寸1179x849
进口空气电磁阀,进口空气电磁阀,厂家价格,电磁阀,上海瓦诺阀门厂-中
图片尺寸650x325
进口潜水电磁阀-德国沃德wode进口阀门中国营销中心
图片尺寸917x463
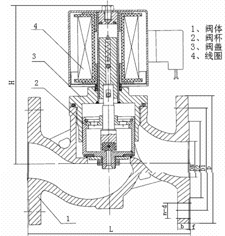
电磁阀结构图
图片尺寸470x389
耐高温法兰不锈钢zbsf系列 蒸汽不锈钢电磁阀 zbsf-1.6p dn80_家装家
图片尺寸444x465
一种电磁阀控制电路及其构成的双路电磁阀专利_专利查询 - 天眼查
图片尺寸1293x1093
交直两用燃气电磁阀的制作方法
图片尺寸918x1000
常用电磁阀的工作原理_上海郝立自控阀
图片尺寸640x625
一种燃气高速电磁阀专利_专利申请于2010-03-03_专利查询 - 天眼查
图片尺寸1600x2152
一种电磁阀结构专利_专利申请于2011-02-24_专利查询 - 天眼查
图片尺寸1610x2010
电磁阀结构图
图片尺寸447x405
一种高速开关插装电磁阀的制作方法
图片尺寸414x443