电解槽设计

电解槽的设计图
图片尺寸677x557
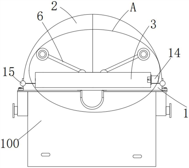
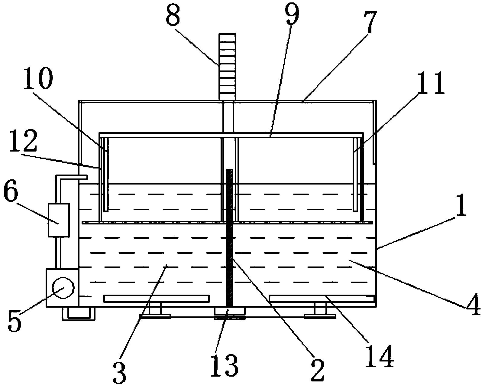
一种金属锂电解槽自动收集装置
图片尺寸1659x1495
cn201065435y_铝电解槽失效
图片尺寸2100x1245
cn201201979y_电解锰玻璃钢电解槽失效
图片尺寸1820x1497
cn208815125u_一种氟化电解槽
图片尺寸975x991
一种具有清理装置的电解槽
图片尺寸1882x2775
挪威科纳斯独特的铝电解槽主动冷却技术
图片尺寸500x338
预焙铝电解槽设计加工制造方法及应用工艺 技术
图片尺寸700x700
次氯酸钠发生器电解槽设计.png
图片尺寸1920x902
cn205803612u_碳纤维电极及由该碳纤维电极构成的电解槽有效
图片尺寸610x1000
一种基于固态电解质的双室熔盐电解槽制备高纯锂的方法
图片尺寸1652x1209
cn2139583y_立式隔膜食盐水电解槽失效
图片尺寸1216x1433
cn201261808y_节能型低电压设定铝电解槽有效
图片尺寸800x509
双极式电解槽结构 | 2024北京氢能展_极板_阴极_隔膜
图片尺寸1280x720
cn101748436a_一种预焙阳极铝电解槽有效
图片尺寸2056x1264
cn101660174a_电解槽的预热方法有效
图片尺寸1664x1178
一种电极箔化成稳水循环电解槽装置-爱企查
图片尺寸1605x1286
一种节能型万安培稀土熔盐电解槽系统的制作方法
图片尺寸1000x993
新型ineos膜极距电解槽-爱企查
图片尺寸1600x1045
一种电解铜箔的电解槽-爱企查
图片尺寸800x712