电锤的结构

带你了解电动工具
图片尺寸1812x1080
电锤的结构及工作原理
图片尺寸722x504
轻型电锤 家居安装好帮手
图片尺寸680x906
电锤或锤钻中的手柄减震结构
图片尺寸2082x1494
以前一直不明白电锤内部是如何工作的,这回总算看明白了!不多说,看图
图片尺寸720x1280
电锤的工作原来是这样的
图片尺寸1080x1920
奔宇26汽缸电锤电镐电钻多功能冲击钻打混凝土工业级大功率电捶搞
图片尺寸750x1117
拆解电锤揭秘内部原理,竟发现不转的真正原因是什么?
图片尺寸1080x1920
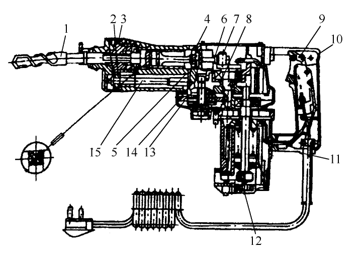
电锤钻内部机构原理
图片尺寸843x1498
电锤原理
图片尺寸720x1280
电锤结构揭秘,如何高效使用电动工具
图片尺寸720x1280
传统电锤
图片尺寸1121x646
电锤at3260kd20的使用说明及产品爆炸图
图片尺寸736x981
电锤-爱企查
图片尺寸1835x2015
qy-2603|泉有五金机电连锁|泉有机电|泉有|浙江泉
图片尺寸2480x3508
狼堡 电锤工业级大功率混凝土冲击钻专业两用安全离合水电工工程
图片尺寸750x1139
电锤内部拆解:揭秘工作原理与关键部件
图片尺寸720x960
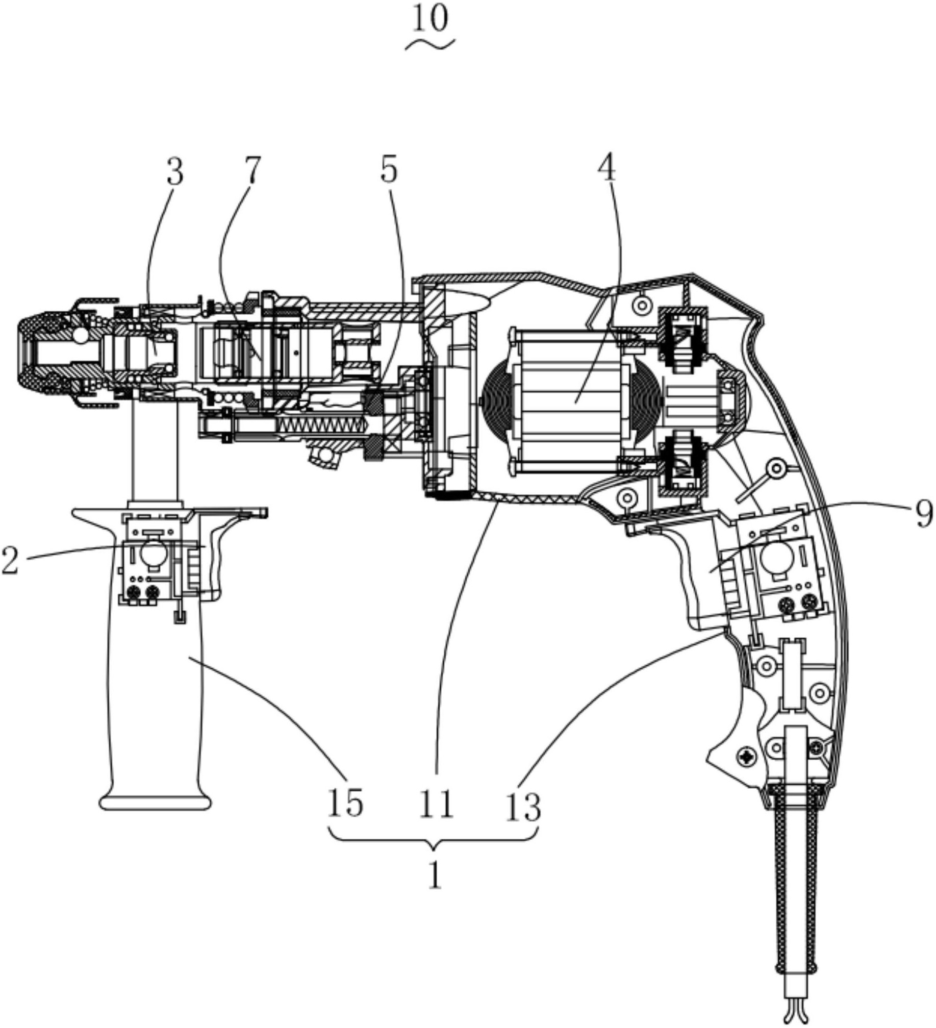
一种电锤
图片尺寸1721x1333
电锤内部结构揭秘:如何运作与原理分析
图片尺寸660x880
电锤原理动画
图片尺寸1188x742