盾构机零件图

一种盾构机用便于更换刀具的换刀装置-爱企查
图片尺寸1735x1874
6260盾构机主要图纸
图片尺寸3310x2340
一种盾构机
图片尺寸905x2114
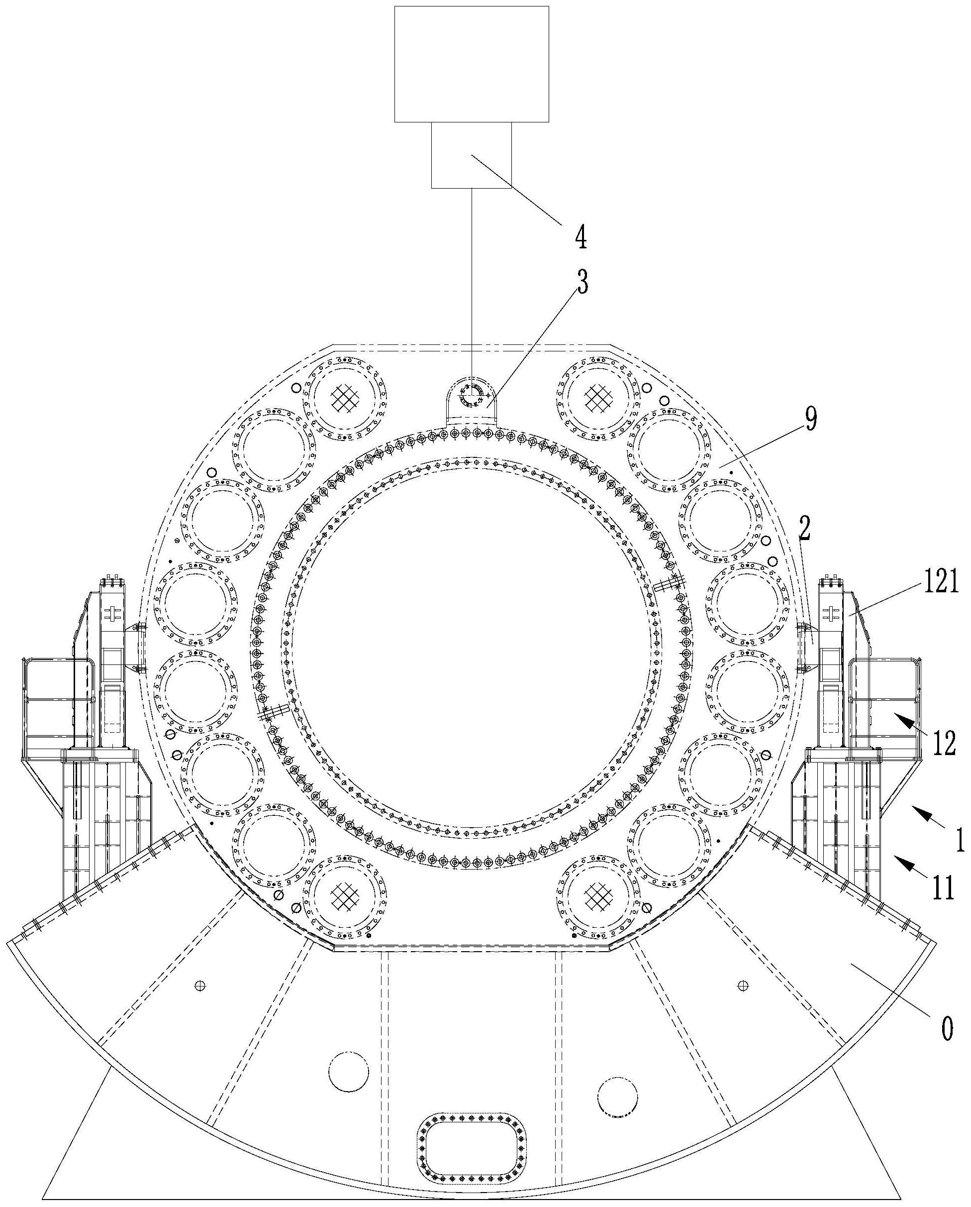
一种用于大马蹄形断面隧道的可现浇支护的盾构机
图片尺寸2712x1808
第6页 (共38页,当前第6页) 你可能喜欢 盾构姿态 盾构施工 盾构机构造
图片尺寸1080x810
一种盾构机刀盘的拆卸结构-爱企查
图片尺寸1972x1997
盾构机的基本参数
图片尺寸1080x499
土压平衡盾构机的掘进管理地下工程施工
图片尺寸598x633
盾构工程专业知识培训课件(word,188页)
图片尺寸1020x575
盾构机是什么春风盾构机是怎么挖隧道的
图片尺寸1080x470
一种隧道盾构机用刀盘的制作方法
图片尺寸444x419
推客多米诺团建—世界第一台多米诺盾构机亮相洛阳!_手机搜狐网
图片尺寸702x527
一种超大直径盾构机主驱动翻身装置及方法
图片尺寸1952x2425
南昌地铁3号线上软下硬地层盾构机选型
图片尺寸936x400
一种结构稳定的盾构机用管片拼装机
图片尺寸1913x1600
图-3 f-navi盾构机的构造图
图片尺寸350x257
盾构机图纸2
图片尺寸5600x4000
盾构机主要参数
图片尺寸2148x3037
一种盾构隧道掘进机
图片尺寸1632x1584
盾构机轴承
图片尺寸671x458