真空瓶原理

as真空瓶15ml30ml50ml80ml100ml120ml细雾喷雾瓶 按压式爽肤水瓶
图片尺寸880x849
真空瓶原理图
图片尺寸620x391
一种可替换式真空瓶的制作方法
图片尺寸579x579
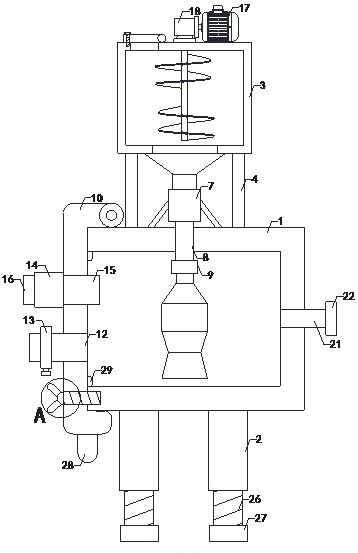
一种内胆可替换的便携式化妆品真空瓶的制作方法
图片尺寸453x1000
一种真空瓶的制作方法
图片尺寸492x1000
一种玻璃真空包装瓶-爱企查
图片尺寸411x800
保温杯之所以能够保温,其实它的原理并不复杂,一般来说,不锈钢的保温
图片尺寸640x442
一种双层真空瓶的制作方法
图片尺寸755x1000
真空瓶了解
图片尺寸600x546
一种真空引流瓶的制作方法
图片尺寸872x1000
它的原理较为简单,同普通的真空瓶一样,按压喷头内袋产生负压内收缩
图片尺寸960x540
时尚深蓝sl-145 不锈钢真空保温杯 弹跳杯 男士女士杯
图片尺寸750x543
吸管式真空瓶制造技术
图片尺寸441x1000
今农智慧农业的个人展示页
图片尺寸640x426
cn107173969a_内胆可置换式一配多真空瓶在审
图片尺寸509x1081
油价即将调整又要开启新价格或要脱离7元
图片尺寸519x522
31) 二,实验原理(参见教材p.
图片尺寸285x272
采用真空吸料,吹-吹法成型,用电机驱动和凸轮传动驱动机器连续旋转,宜
图片尺寸900x824
一种用负压法测试塑料瓶耐真空度值的辅助检测装置-爱企查
图片尺寸358x553
日本三丰经济型线性测微计三本精密代理
图片尺寸462x496