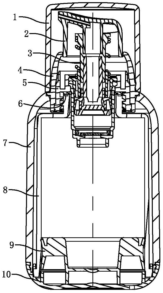
真空瓶结构

一种内胆可替换的便携式化妆品真空瓶的制作方法
图片尺寸453x1000
as真空瓶15ml30ml50ml80ml100ml120ml细雾喷雾瓶 按压式爽肤水瓶
图片尺寸880x849
一种真空瓶的制作方法
图片尺寸492x1000
直销30ml50ml100ml磨砂款乳液喷雾真空瓶高档化妆品分装瓶透明瓶
图片尺寸620x391
气瓶结构
图片尺寸600x476
一种高效环保真空罐的制作方法
图片尺寸700x1000
一种真空脱气罐
图片尺寸1459x2315
轻量化耐压双层真空瓶
图片尺寸670x1205
一种双层真空瓶的制作方法
图片尺寸755x1000
一种带有过滤功能的真空瓶的制作方法
图片尺寸701x1000
jn50-2000系列真空浓缩罐
图片尺寸500x419
ysp35.5 (ysp-15)钢瓶
图片尺寸1242x1420
一种可替换式真空瓶的制作方法
图片尺寸579x579
一种真空缓冲瓶制造技术
图片尺寸775x1000
吸管式真空瓶制造技术
图片尺寸441x1000
真空瓶,是针对现有同类产品中盖片,头帽和活塞结构设计欠佳导致稳定性
图片尺寸878x1096
真空瓶及其制备方法,是针对现有同类产品的头帽塞和瓶体结构设计欠佳
图片尺寸584x800
cn107173969a_内胆可置换式一配多真空瓶在审
图片尺寸509x1081
所有分类 工程科技 机械/仪表 气焊电焊安全操作培训ppt 氧气瓶结构
图片尺寸1080x810
其各部件基本结构如下——气瓶结构看来,气瓶虽小,但暗藏危机!
图片尺寸1080x737