矩形导轨画法

brh方形直线导轨
图片尺寸828x440
数控机床常用的滑动导轨 导轨截面组合主要有:三角形—矩挝
图片尺寸715x313
brx方形直线导轨cad图纸
图片尺寸800x435
一种组合式矩形静压导轨-爱企查
图片尺寸504x280
上银直线导轨hgh45cahgh方形型号导轨
图片尺寸1374x713
批发国产方型导轨线性导轨直线导轨导轨滑块线轨hgh65ca
图片尺寸1024x486
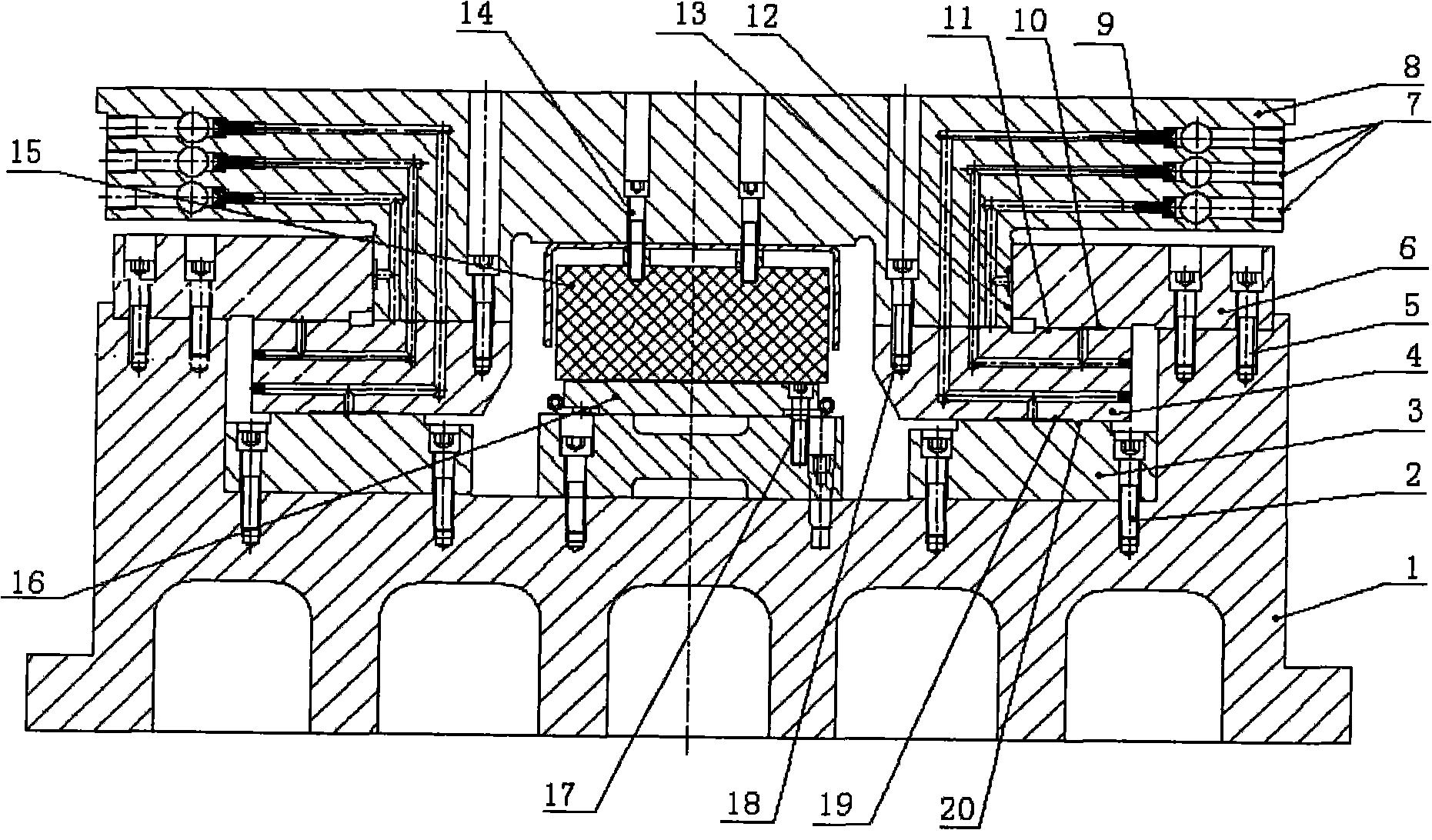
cn101905443a_一种直驱式非对称闭式矩形静压导轨
图片尺寸1861x1092
注:长度单位mm 滑块重量kg 导轨重量kg/m 组合尺寸 滑块尺寸 滑块
图片尺寸750x417
客户定地基导轨板矩形导轨不锈钢导轨大型型直线导轨硬导轨
图片尺寸750x750
一种用于工业机器人具有防脱轨结构的矩形轨道的制作方法
图片尺寸443x303
双轴心导轨质量 svgr15m摄影导轨 42mm宽双轴心直.
图片尺寸777x545
一种直线导轨的制作方法
图片尺寸1000x637
nsk ra35alra 系列标准直线导轨
图片尺寸1183x646
电梯配件导轨t70t75t89t90实心轨t型轨道t型钢升降轨道自动化轨道t78
图片尺寸750x957
1,导轨的截面形状:三角形,矩形,燕尾形和圆形.一对导轨副一凸一凹.
图片尺寸640x318
一种直线方形导轨滑动装置的制作方法
图片尺寸1000x583
矩形导轨滑台
图片尺寸300x225
矩形导轨 方导轨 平板导轨 方轨 平轨
图片尺寸453x368
一种改进型电梯导轨
图片尺寸1756x1486
cn206218998u_一种新型电梯导轨有效
图片尺寸475x353