矿灯结构图

led工矿灯厂房灯 工厂车间照明灯 100w150w200w 仓库
图片尺寸750x1046
矿灯
图片尺寸1151x1748
led工矿灯是工矿企业常用的照明设备之一,其安装方法
图片尺寸600x338
氙气工矿灯是指内部充
图片尺寸220x201
矿用led巷道灯 隔爆型井下照明灯 国标防爆灯
图片尺寸750x865
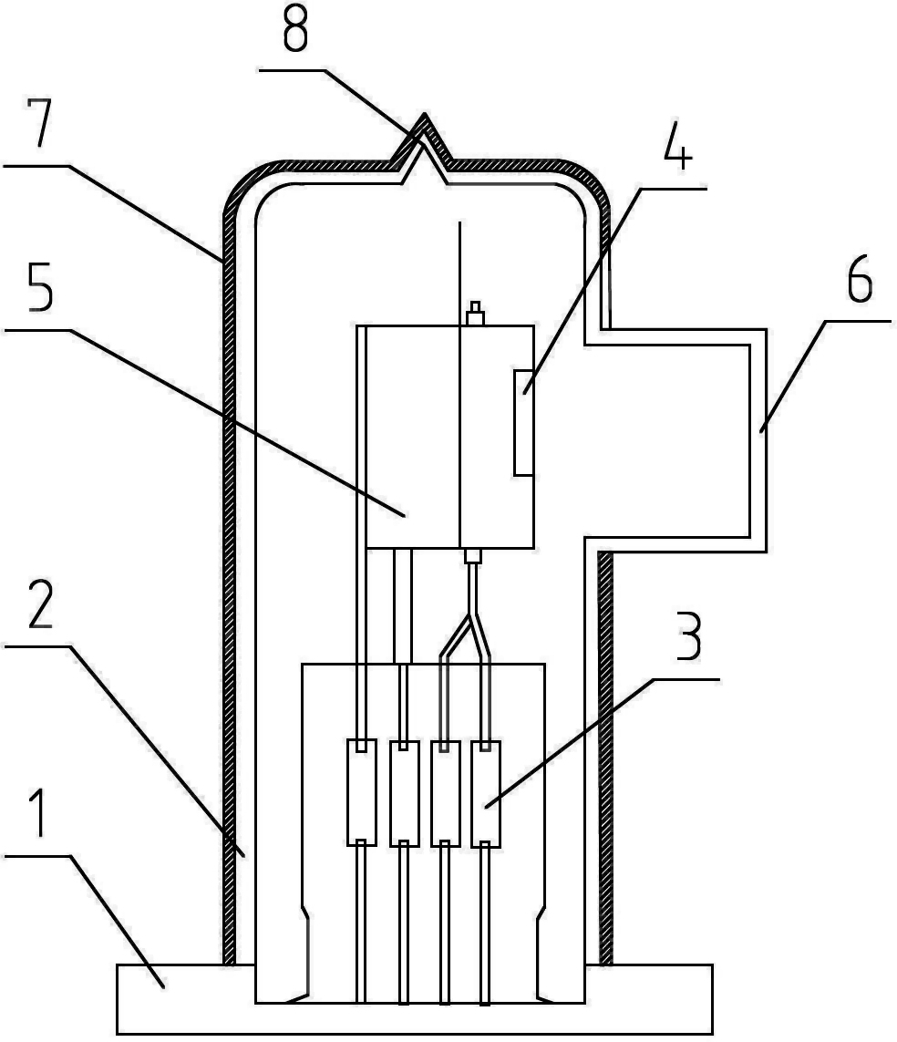
一种矿灯的制作方法
图片尺寸1000x679
商标logo
图片尺寸1392x1159
一种快速高效散热的led工矿灯的制作方法
图片尺寸904x1000
在矿灯使用中灯珠产生大量的热量,需要高效的散热结构来保证灯珠能在
图片尺寸898x1000
一种适于钢结构安装的工厂灯
图片尺寸1973x1798
商标logo
图片尺寸1252x1106
商标logo
图片尺寸1482x933
商标logo
图片尺寸984x1143
工矿灯的三种常见安装方式 工矿灯主要用于工业和矿山
图片尺寸960x470
图片尺寸750x1040
商标logo
图片尺寸1395x1388
一种可变焦led灯组件
图片尺寸1082x1134
电源,电源腔,灯体和铝基灯板,所述灯体为底部窄口,顶部宽口的筒体结构
图片尺寸1816x1272
化工厂加油站甲类仓库iic类led免维护防爆圆形灯100w
图片尺寸750x1328
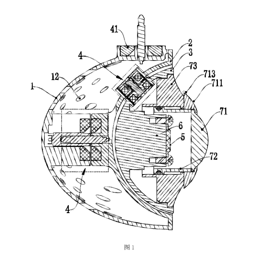
一种矿灯电池与盖身的密封结构
图片尺寸568x709