砂光机结构

碟式砂光机结构
图片尺寸1850x2326
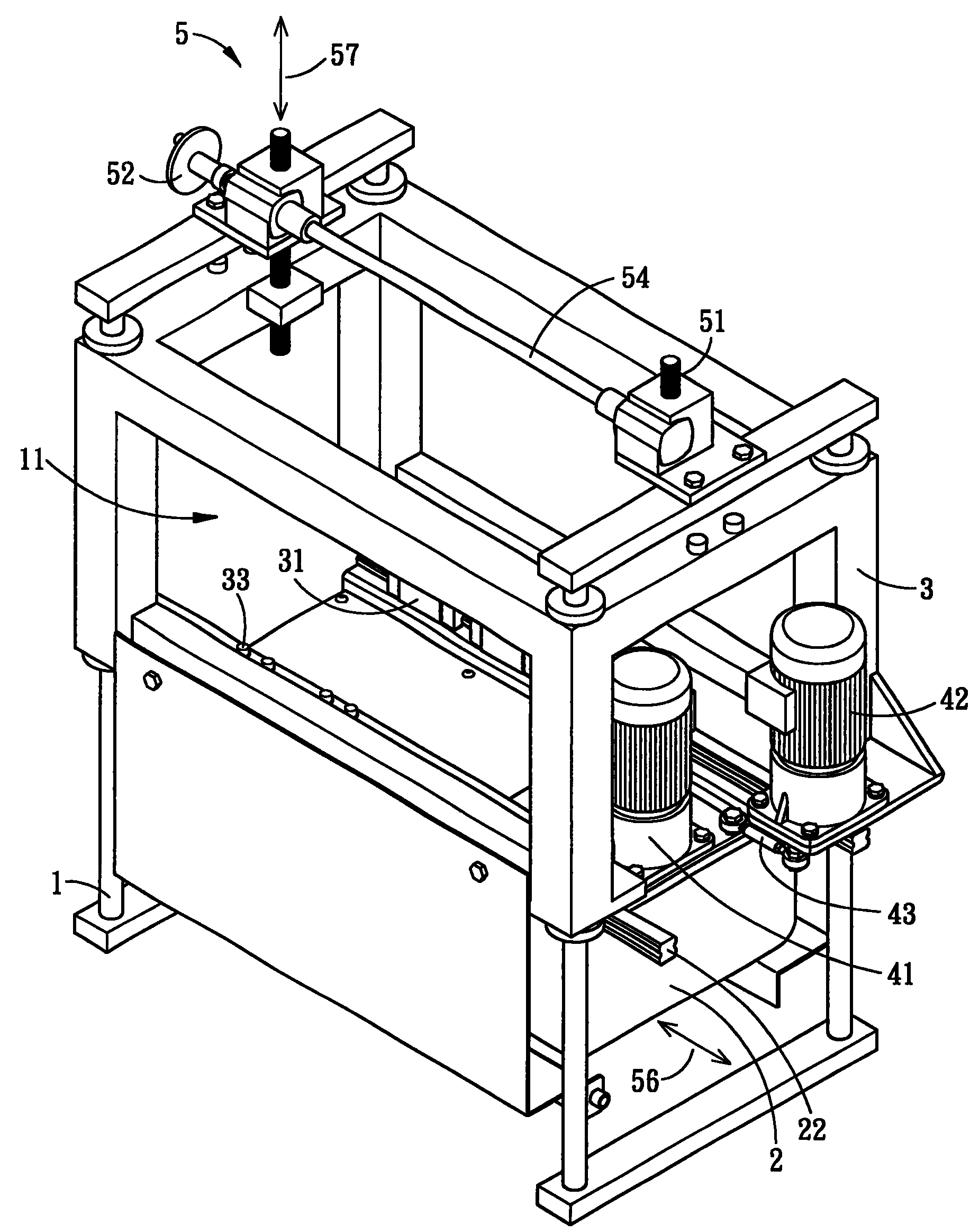
cn102001032a_一种盘元剥壳砂光机有效
图片尺寸2451x1962
电动抛光机 状态:设计完成,进入出图阶段,结构如下图所示.
图片尺寸893x545
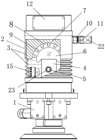
型号mt900 角向磨光机
图片尺寸706x939
一种底面砂光机制造技术
图片尺寸1000x843
金鼎牌12寸立式微型工业砂轮机300mm电动砂轮机m3030磨刀机抛光机
图片尺寸790x686
带式木工磨光机类型与构造
图片尺寸797x372
带浮动调节的砂光机
图片尺寸346x463
宽带式砂光机 gb/t 6202-2019
图片尺寸502x379
cn106808355a_单面抛光机失效
图片尺寸1588x1030
cn1462666a_全自控无级调压双无级变速高精度研磨抛光机失效
图片尺寸656x709
窄带式砂光机结构设计
图片尺寸820x578
双辊式(光面)破碎机结构图
图片尺寸690x517
砂光机结构设计 zs-1000砂光机结构设计(全套含cad图纸)
图片尺寸800x1132
grinding system nizzoli air disc
图片尺寸795x497
角向磨光机制造技术
图片尺寸1000x506
砂光机结构设计zs1000砂光机结构设计全套含cad图纸
图片尺寸621x438
窄带式砂光机的结构设计(全套含cad图纸)
图片尺寸800x1132
cn201685165u_角向磨光机有效
图片尺寸1745x789
难倒75注安考生的砂轮机安全要求一招助你笑着学
图片尺寸811x661