破窗器原理

当我们贴近车窗下压破窗器时,b弹簧会优先压缩,当外壳接触到内部锁止
图片尺寸908x605
resqme 锐救 破窗器内部结构.jpg
图片尺寸746x423
resqme破窗器的原理是什么实际上使用效果如何
图片尺寸2153x2937
强光手电破窗器的制作方法
图片尺寸435x1000
一种破窗器的制作方法
图片尺寸1000x878
用于双层玻璃结构的手动自动一体式破窗器制造技术
图片尺寸1000x992
一种智能破窗器的制作方法
图片尺寸443x266
破窗器(a1)_页面_12
图片尺寸2481x3508
一种内燃式自动破窗器的制作方法
图片尺寸1000x871
手动破窗器的制作方法与工艺
图片尺寸1000x792
一种警用单手破窗器
图片尺寸1000x344
一种多功能破窗器制造技术
图片尺寸1000x729
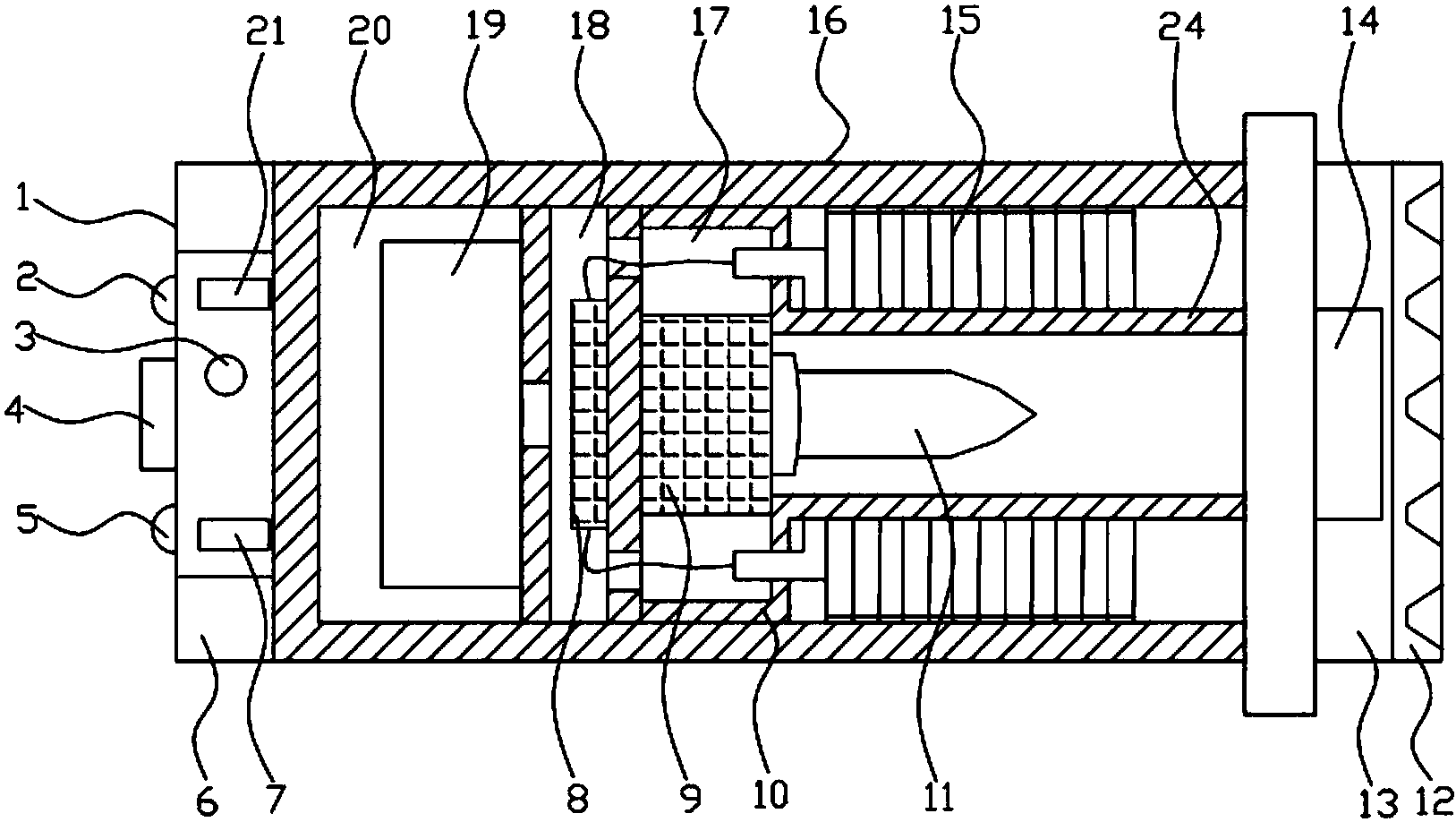
cn109260620a_电磁式破窗救生装置在审
图片尺寸1627x918
一种具有救援功能的破窗器
图片尺寸1933x1124
按压式双层玻璃破窗器的制作方法
图片尺寸970x1000
cn204775106u_一种破窗器有效
图片尺寸1000x799
一种车载半自动破窗器的制作方法
图片尺寸1000x736
无人机消防用超轻型弹射爆炸破窗器的制作方法
图片尺寸1000x532
汽车破窗器撞针逃生锤砸玻璃破窗神器多功能车载安全锤车用救生锤升级
图片尺寸790x1101
一种复位方便的高效破窗器
图片尺寸1900x2507