碟形弹簧原理

碟形弹簧如何在带式输送机用盘式制动器进行疲劳试验?
图片尺寸358x213
一种考虑限位的碟簧初始压缩位移研究分析 - 碟簧_碟形弹簧_碟形弹簧
图片尺寸485x735
高温碟簧的工作原理(密封) - 碟簧_碟形弹簧_碟形弹簧厂家-厦门力常
图片尺寸482x227
mubea碟簧 碟形弹簧 高温碟簧 德国碟簧 进口碟簧
图片尺寸871x430
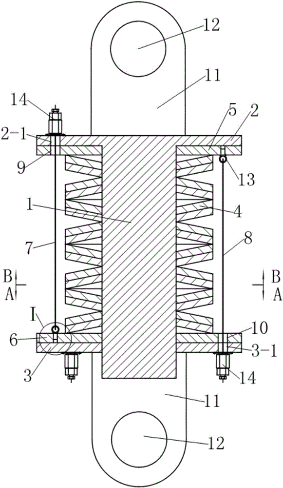
一种可调节早期刚度的碟形弹簧阻尼器-爱企查
图片尺寸1447x2486
弹簧标准——碟形弹簧
图片尺寸2216x2896
目前欧美,日本等先进国家的工程师在机械元件上,已将碟形弹簧大量应用
图片尺寸482x381
天津元象国际贸易有限公司西南服务处 主营产品 波形弹簧,碟形弹簧
图片尺寸690x537
碟形弹簧参数代号以及单位
图片尺寸573x245
cn106352002a_一种早期刚度可预设的碟形弹簧阻尼器有效
图片尺寸1466x2543
cn201580945u_碟形弹簧式起艇绞车离合器失效
图片尺寸2020x1446
专业生产din2093碟形弹簧/碟簧/贝勒维尔弹簧品质保障,诚信至上
图片尺寸1920x1357
碟形弹簧
图片尺寸1215x1275
金属碟簧密封的失效及对策 - 碟簧_碟形弹簧_碟形弹簧厂家-厦门力常
图片尺寸474x379
重庆碟形弹簧
图片尺寸406x534
一种能够调节早期刚度的碟形弹簧阻尼器
图片尺寸250x434
一种力值特性可调的碟形弹簧装置的制作方法
图片尺寸1000x825
一种初始刚度可调的反压式碟形弹簧阻尼器
图片尺寸1338x1367
cn112805487a_碟形弹簧,碟形弹簧装置,以及碟形弹簧的制造方法
图片尺寸1387x1562
cn106286663a_一种可调节早期刚度的碟形弹簧阻尼器有效
图片尺寸581x1000