碰结构

爱车的碰撞小知识!
图片尺寸500x333
碰碰车结构-水印
图片尺寸750x550
一种便于调整的碰珠结构
图片尺寸1466x1296
基于滑移门车型的新型车身侧碰结构的制作方法
图片尺寸1000x1000
一种便于调整的碰珠结构的制作方法
图片尺寸1000x884
一种车身侧碰加强结构的制作方法
图片尺寸1000x890
碰珠碰珠结构御虎实业
图片尺寸699x700
cn200967452y_汽车侧围下部防侧碰结构失效
图片尺寸1804x984
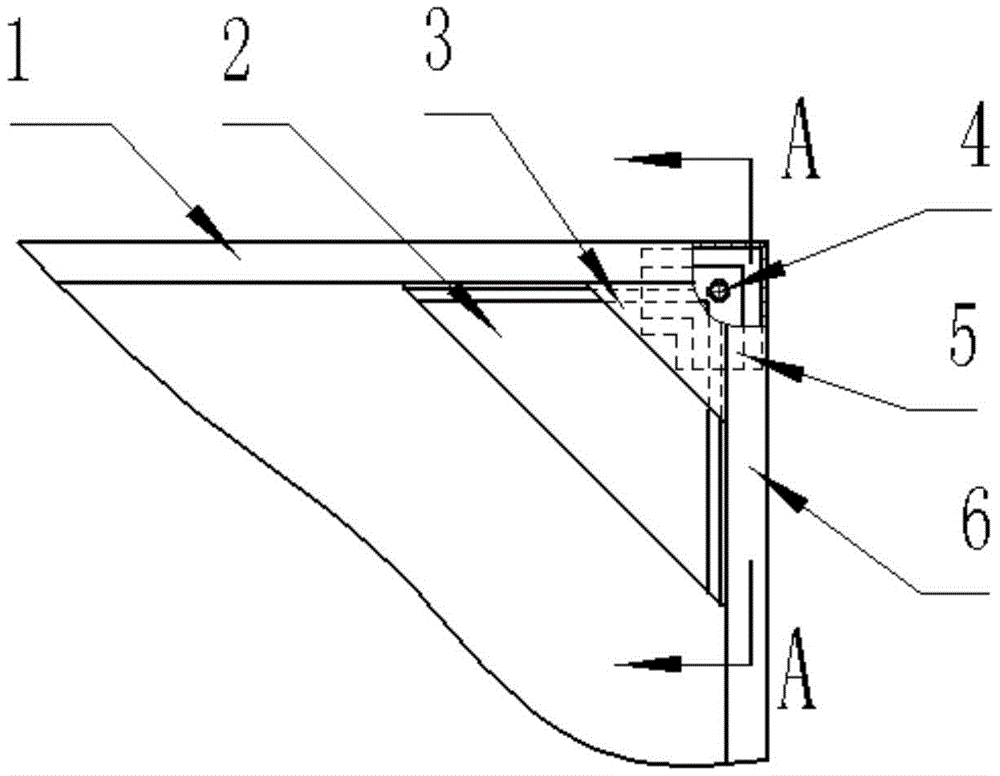
门框碰角结构及门框
图片尺寸1000x776
铜碰珠家具碰珠磁碰小碰珠侧门纯铜碰珠卡珠子柜门铜碰珠厂家直销铜碰
图片尺寸750x482
木工三碰肩棕角榫详细结构尺寸图
图片尺寸700x353
反弹器柜门反弹器碰珠免拉手按压式弹门器触碰按弹器回弹器黑色
图片尺寸790x1118
规格 64*41*16 加工定制 是 表面处理 灰色白色 安装形式 其他 结构
图片尺寸400x317
磁碰安装结构显示屏箱体以及led显示屏
图片尺寸444x215
棕角榫(三碰肩)结构示意图,明式家具榫卯特点介绍
图片尺寸635x439
供应斜边单磁碰_圆形单磁吸 单门玻璃磁碰
图片尺寸1284x614
一种应用于侧碰的b柱加强结构
图片尺寸274x443
留置针接头消毒帽防误碰结构的制作方法
图片尺寸386x443
一种挂靠式碰电轨道结构的制作方法
图片尺寸1000x620
"蝴蝶雷"再现俄乌战场,能一次投放上万枚,碰上立马断手断脚
图片尺寸640x480