磁控管结构图

磁控管的制作方法
图片尺寸924x1000
磁控管结构及工作原理磁控管结构图动画
图片尺寸760x555
什么是磁控管?_工程-考高分网
图片尺寸500x302
cn1797676a_磁控管的上部磁极的组装结构失效
图片尺寸1033x1417
微波炉磁控管基础知识介绍ppt
图片尺寸1080x810
cn100550263c_磁控管有效
图片尺寸1791x2100
什么是磁控管?_工程-考高分网
图片尺寸800x645
磁控管的分类和应用
图片尺寸750x523
微波炉磁控管基础知识介绍ppt
图片尺寸1080x810
磁控管的制作方法
图片尺寸868x1000
cn1320589c_磁控管的输出部件结构失效
图片尺寸1649x2044
微波辅助样品前处理装置的主要构件和作用-磁控管
图片尺寸253x290
磁控管的原理及结构
图片尺寸511x266
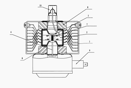
一种磁控管
图片尺寸455x304
微波炉中磁控管的结构怎样微波炉是怎么工作的
图片尺寸640x597
工业微波风冷磁控管 -- 河南新航微波技术有限公司
图片尺寸511x545
cn1567518a_磁控管的排气管结构失效
图片尺寸521x600
科学小贴士之磁控管工作原理
图片尺寸684x308
多腔磁控管结构图第三样关键是宝贝叫做多腔磁控管技术.
图片尺寸648x418
cn101071717a_带有新型抗流结构的磁控管失效
图片尺寸848x1462