离心管模式图

用什么软件可以画出这样的图,我要画那个离心管
图片尺寸520x386
5 ml离心管中,若上清液较多可每管200
图片尺寸1080x464
ufc905096 ufc905008millipore 密理博50k 15ml超滤离心管
图片尺寸564x253
septube—密度梯度离心管快速分选pbmc
图片尺寸669x272
1.5ml无dna酶rna酶无热源离心管
图片尺寸730x330
默克密理博amiconultra4ml超滤离心管
图片尺寸729x517
一文看遍离心管离心管为什么又叫ep管
图片尺寸646x342
离心管的制作方法
图片尺寸605x1000
一种用于水产养殖水体中土臭味物质检测的前处理方法
图片尺寸1559x1039
eppendorf艾本德离心管dna lobind03 tub - 抖音
图片尺寸800x800
包邮biologix实验室尖底离心管15/50ml巴罗克塑料离心管无菌无致热源
图片尺寸800x800
微量离心管
图片尺寸320x240
2ml凸盖离心管 ep管 pcr管
图片尺寸254x322
如何从一条mrna序列得到对应的蛋白
图片尺寸1005x434
实际的离心速度和持续时间因细胞类型而异.
图片尺寸1080x556
brand03微量离心管05ml带盖
图片尺寸413x480
一种带有密封盖的离心管-爱企查
图片尺寸800x761
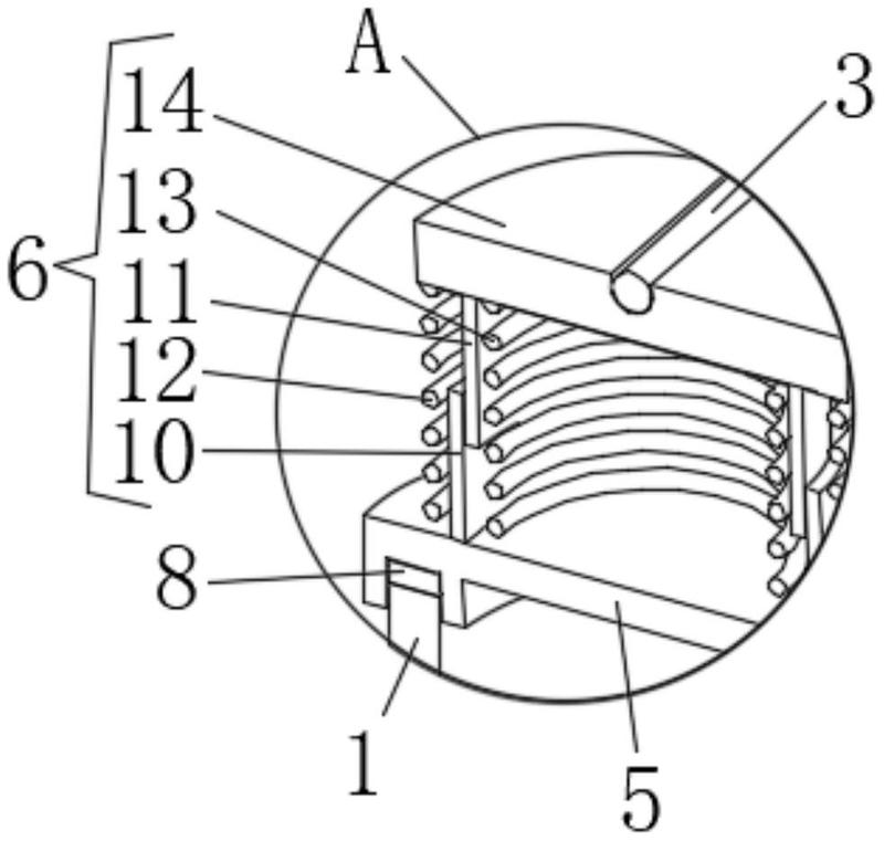
一种离心管的制作方法
图片尺寸444x397
微量离心管
图片尺寸712x418
离心管-离心管4ml(卡扣式安全盖u型底 )_迪默(北京)生物技术有限公司
图片尺寸1667x1251