积放链图纸

一种积放链的制作方法
图片尺寸1000x412
cn208070705u_一种积放链式缓存线有效
图片尺寸1000x531
积放链图纸dwg
图片尺寸755x413
积放式悬挂输送链 山西积放输送链厂家直供
图片尺寸500x286
涂装输送设备积放双链设计图 - 输送和提升设备图纸 - 沐风网
图片尺寸614x421
桥车输送积放双链下载(218.96 kb,dwg格式) 机械cad图纸
图片尺寸571x408
一种吊装零件用悬挂积放链轨道
图片尺寸444x375
jtw积放链的道岔 - autocad机械图纸 - 沐风图纸
图片尺寸767x476
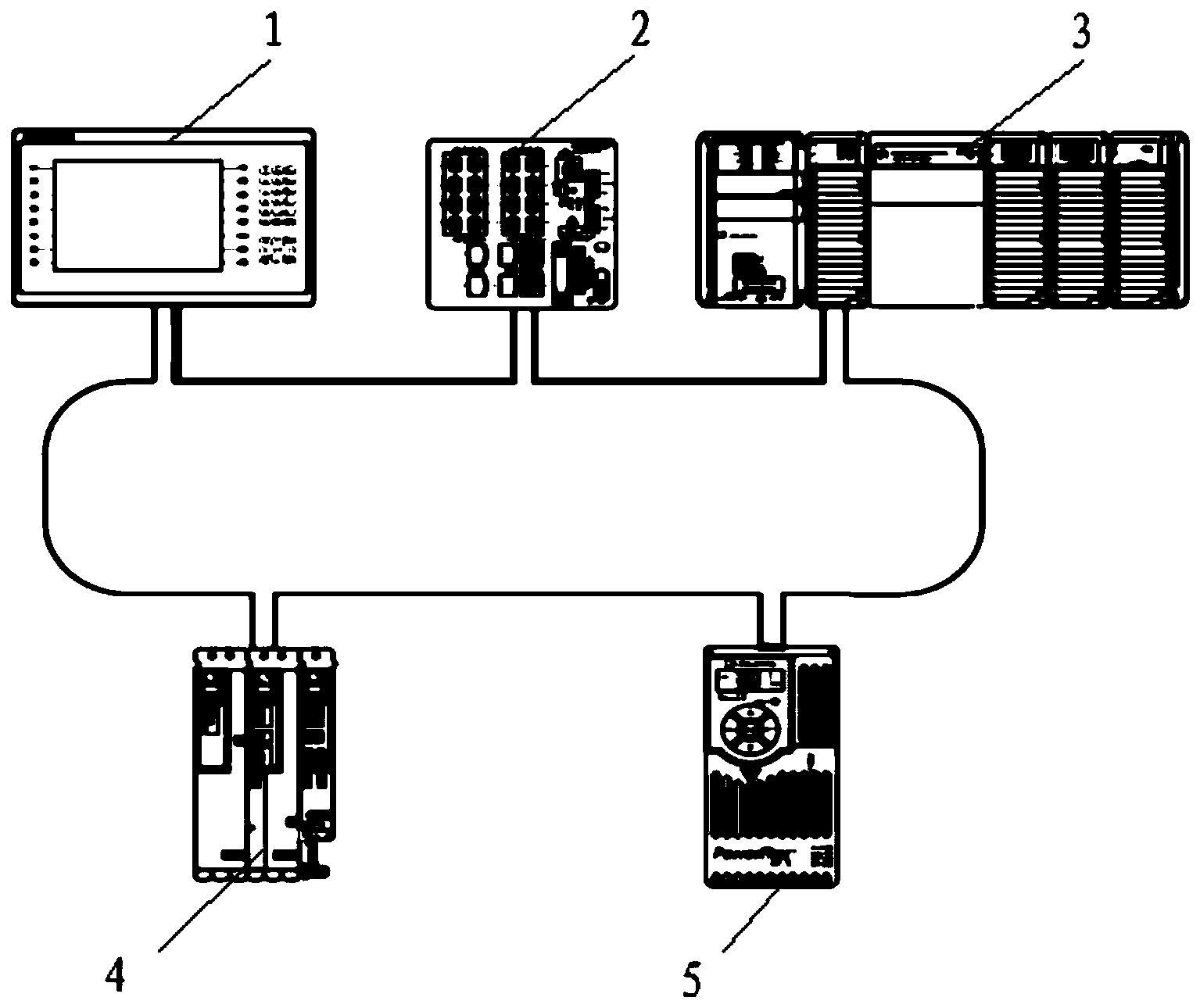
一种输送积放链自整定系统-爱企查
图片尺寸1535x1290
车身件积放链装置
图片尺寸443x390
一种随动托盘积放倍速链线的制作方法
图片尺寸876x1000
斜向积放链设计图 - 输送和提升设备图纸 - 沐风网
图片尺寸607x415
轻型地面方向积放链 - 机械设备图纸 - 沐风网
图片尺寸820x421
涂装输送积放链前小车设计图下载_其他图纸_机械图纸 - 机械5
图片尺寸503x376
前处理电泳积放悬挂输送链布置图 - 输送和提升设备图纸 - 沐风网
图片尺寸631x420
一种积放链过弯防撞系统的制作方法
图片尺寸443x283
ytj3a型积放式悬挂输送机的输送链3寸标准化图纸24张
图片尺寸820x565
4寸积放链直通左出手动检修道岔 - 输送和提升设备图纸 - 沐风网
图片尺寸678x473
涂装车间输送设备积放链基础图 - 输送和提升设备图纸 - 沐风网
图片尺寸300x225
积放链结构图纸
图片尺寸349x276