移动固定装置

一种可手动移动的模具固定装置
图片尺寸1940x1269
一种石膏板移动固定装置
图片尺寸1645x2172
一种机器人移动定位固定装置的制作方法
图片尺寸795x1000
可移动气瓶固定架钢瓶固定支架40l气瓶防倾倒装置加厚气瓶支架
图片尺寸800x800
通信移动终端的固定装置
图片尺寸1583x1671
一种洗衣机移动固定装置的制作方法
图片尺寸1000x943
一种医用无纺布卷退卷换卷移动装置,它包括固定框,水平行走机构和纵向
图片尺寸1675x1041
建筑施工用移动式水平泵管固定装置
图片尺寸400x338
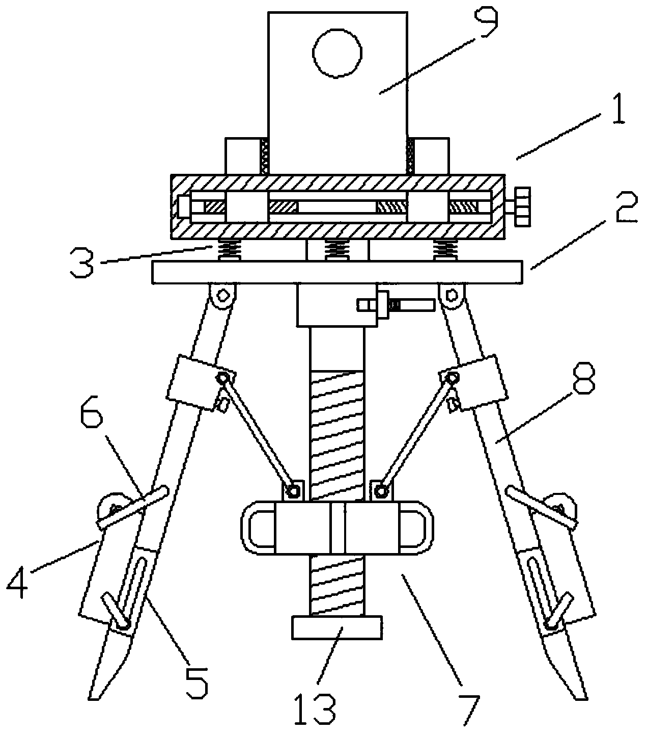
一种便于移动固定的地理测绘用辅助装置
图片尺寸1271x1440
py4/200半固定式泡沫灭火装置 移动式泡沫灭火装置
图片尺寸750x750
一种无缝钙铝包芯线移动固定装置的制作方法
图片尺寸547x452
一种便于移动安装的电器盘柜固定装置的制作方法
图片尺寸494x427
一种ct检查床可移动固定装置
图片尺寸1878x1145
一种洗衣机移动固定装置的制作方法
图片尺寸1000x962
一种固定方便的移动装置的制作方法
图片尺寸390x431
可移动可固定升降平台装置
图片尺寸1665x1380
cn112993478a_一种移动平台底部旋转电池固定装置在审
图片尺寸1139x923
移动式床边呼吸机导管固定装置的制造方法
图片尺寸1000x864
一种便于移动后固定的心胸外科护理装置的制作方法
图片尺寸1000x596
一种工业气体贮存罐移动固定装置的制作方法
图片尺寸418x385