穿孔机顶头

唐山耐高温穿孔顶头设计优势
图片尺寸750x750
穿孔顶头供应
图片尺寸574x318
厂家销售 钼顶头 各种规格型号 穿孔顶头用 可定制
图片尺寸750x750
钼顶头 现货批发 诚信经营 货源稳定 匠心工艺 诚信商家 用心服务
图片尺寸790x714
顶头
图片尺寸3648x2432
穿孔顶头等离子堆焊技术应用视频
图片尺寸1440x1080
肋片强制导流内水冷穿孔机顶头-爱企查
图片尺寸3808x2403
无缝钢管穿孔顶头最佳材料:tzm合金 or tzc合金?
图片尺寸650x390
宁波数控穿孔机
图片尺寸640x320
高品质各规格无缝钢管穿孔钼顶头 可加工
图片尺寸1600x1200
河北yd80cnc无缝钢管矩形管穿孔机 云朵矩形管穿孔机品质保证
图片尺寸750x750
供应无缝钢管穿孔顶头
图片尺寸1600x1200
等离子熔覆工艺制作耐磨穿孔顶头_处理_表面_堆焊
图片尺寸1080x810
大量供应穿孔顶头,球顶,导板,冷拔内模,冷拔外模,钳口板价.
图片尺寸271x240
钼顶头
图片尺寸1600x1207
宿迁简易穿孔机 客户至上「乐清市乐川机床厂供应」
图片尺寸640x320
精加工钼顶头
图片尺寸800x800
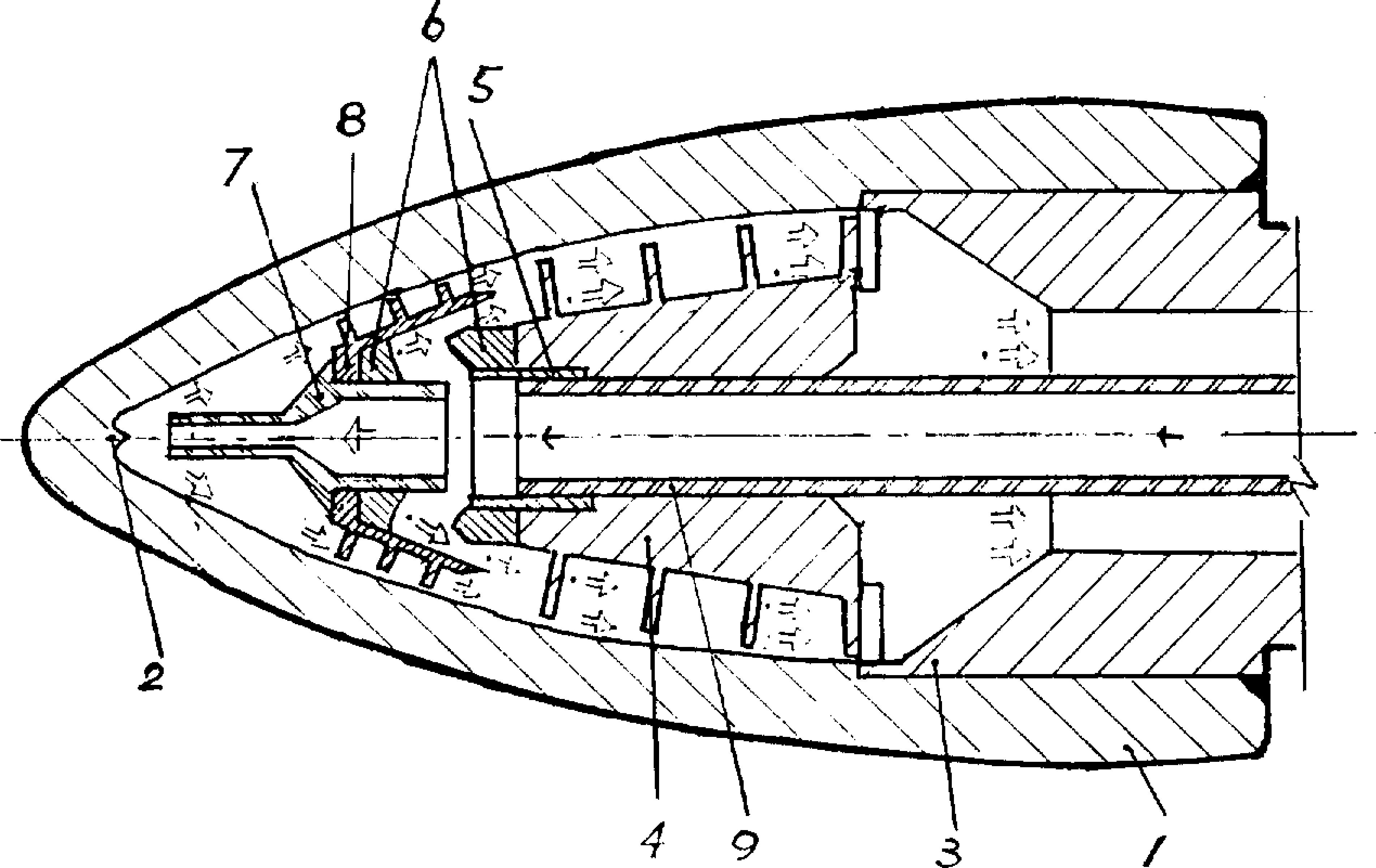
穿孔机顶头技术工艺发展分析
图片尺寸597x327
钨钼制品钼顶头
图片尺寸500x500
钢管穿孔顶头专用生产设备-1500吨锻造液压机_工作_系统_操作
图片尺寸598x447