立铣刀图解

干加工中心的你,知道立铣刀的用途和结构吗?
图片尺寸686x303
立铣刀的刃数
图片尺寸791x371
硬质合金立铣刀 被削材特性/各部位名称及底刃尖角保护99尖角说明
图片尺寸673x563
立铣刀各部分的名称和刃数
图片尺寸466x330
立铣刀基础知识ppt课件
图片尺寸860x5095
3秒教你认全机械加工中心立铣刀! - 知乎
图片尺寸587x297
3秒教你认全机械加工中心立铣刀!
图片尺寸581x351
整体立铣刀2
图片尺寸1080x810
数控加工中心立铣刀的几大使用步骤! - 知乎
图片尺寸600x377
干加工中心的你,知道立铣刀的用途和结构吗?
图片尺寸448x213
一文搞懂铣刀的方方面面
图片尺寸640x569
立铣刀的选用方法
图片尺寸652x280
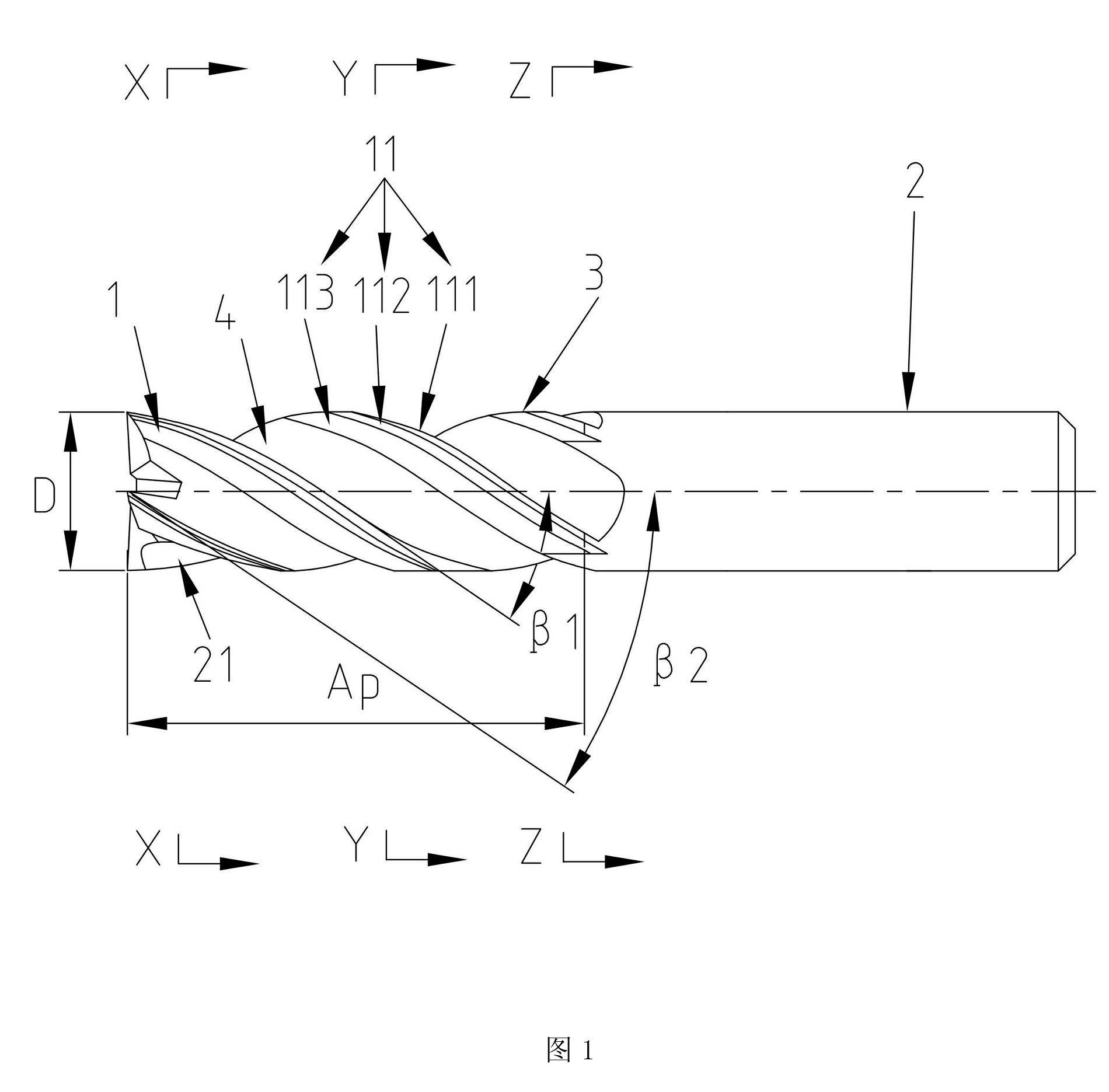
不等螺旋角立铣刀
图片尺寸1900x1871
铣削加工中的17个要点,还有图解大全_刀具_工件_铣刀
图片尺寸480x2675
立铣刀螺旋角的选择门道,大有学问!
图片尺寸474x356
最浅显易懂的立铣刀结构基础解析,刀具人值得收藏!
图片尺寸640x371
直柄立铣刀
图片尺寸644x290
常用铣刀及其应用
图片尺寸928x819
【蛛网模型】居然可以用来分析立铣刀加工工件材料,值得收藏!
图片尺寸640x350
铣刀基本的组成部份图示说明
图片尺寸715x426