立铣头结构图

x52k立式铣床立铣头设计【说明书 cad】
图片尺寸1200x800
立式铣床铣削加工
图片尺寸630x662
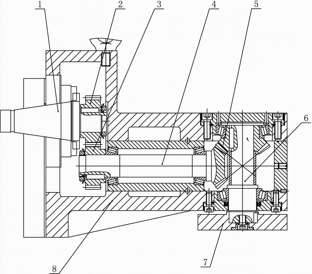
立卧双输出数控铣头的制作方法
图片尺寸655x1000
立式铣床立铣头设计【含cad图纸 pdf图】
图片尺寸1200x800
一种全自动万能铣头制造技术
图片尺寸1000x946
应用技术图1为用于立式加工中心或龙门加工中心的侧铣头的结构示意图
图片尺寸530x586
铣刀头装配图中4Φ20属于尺寸
图片尺寸748x517
立铣头套图
图片尺寸718x514
x5032立式铣床
图片尺寸440x448
一种带自动打刀功能的万能铣头制造技术,万能立铣头的功能是专利_技高
图片尺寸919x1000
x52k立式铣床立铣头设计 - 立铣头装配图a0goodq.dwg
图片尺寸820x580
【cad设计图纸】立式铣床立铣头设计【全套终稿】
图片尺寸891x634
一种用于立式加工中心或龙门加工中心的侧铣头
图片尺寸530x586
立式铣床铣刀头部分结构设计
图片尺寸804x577
看懂铣刀头装配图,该装配体由几种零件组成.()http://image.
图片尺寸721x567
自动加长直角铣头se2050-050gf001-01
图片尺寸960x1346
多功能立铣头
图片尺寸1000x878
铣刀头装配图-资源圈-内蒙古网络协同制造云平台
图片尺寸588x366
铣头装配图
图片尺寸1003x674
精密万能铣头结构及其工作方法
图片尺寸870x602