笔头结构图

对金星这种典型的26型自来水笔结构,在另一本书《自来水笔和圆珠笔》
图片尺寸556x445
圆珠笔笔头内部结构(图片来源:参考文献1)
图片尺寸640x479
派克威雅黑色胶杆签字笔
图片尺寸750x830
通过下图了解中性笔的结构名称:一,画前观察四,整体调整三,上色二
图片尺寸700x503
《自来水笔与圆珠笔》书中对永生201型内部结构的解释(中国财政经济
图片尺寸772x512
圆珠笔头到底有多难造?精度堪比造航母,至今只有三个国家可以造
图片尺寸613x464
笔头的制造对工艺要求非常高
图片尺寸600x500
分享 披毛,首选出更细嫩的毫毛,采用做笔柱的工序,根据笔头的大小
图片尺寸697x697
cn207241232u_中性笔的笔头有效
图片尺寸2026x1484
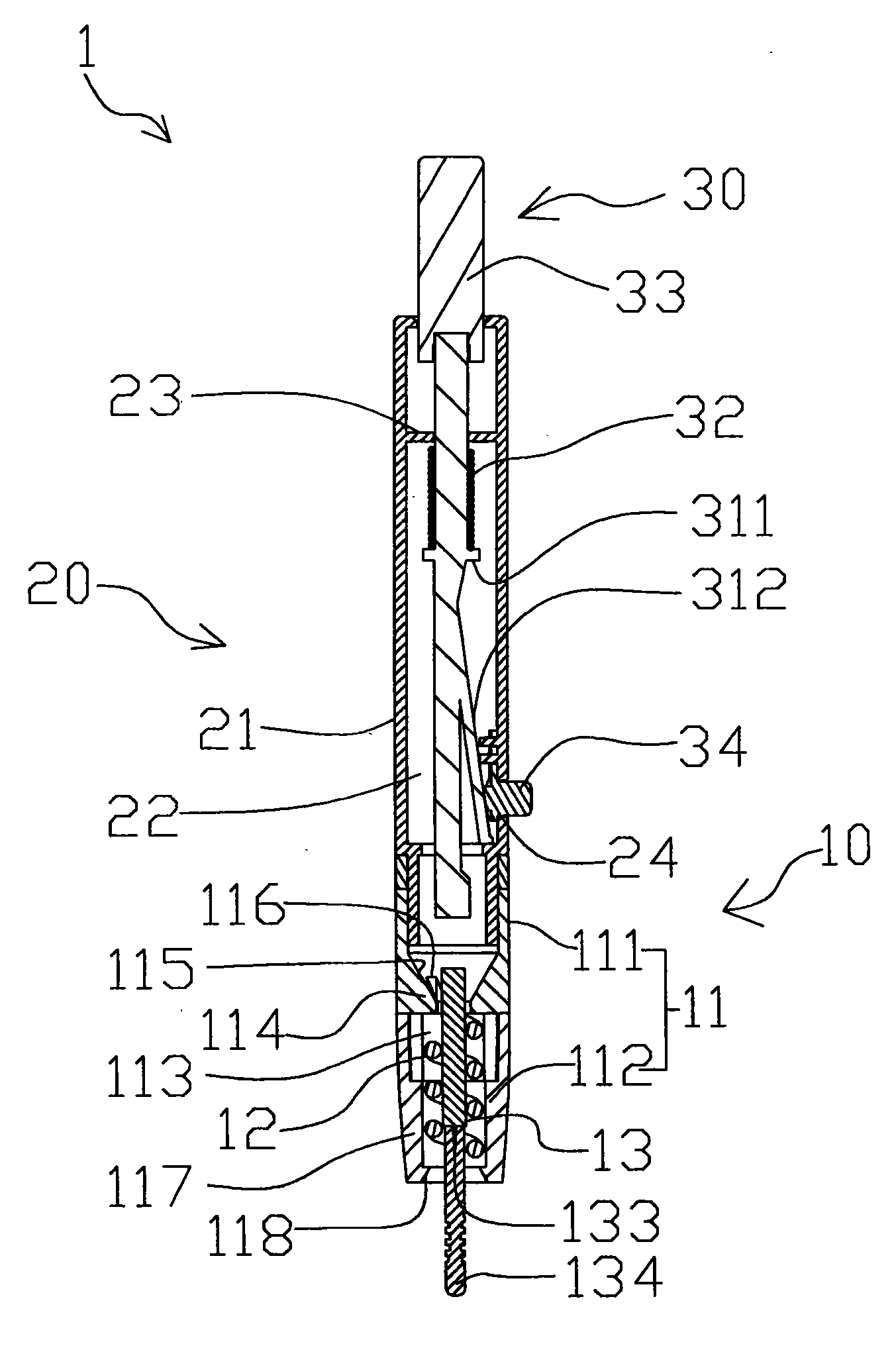
采血笔的笔头结构
图片尺寸1353x2035
派克钢笔维修手册
图片尺寸1080x2322
钢笔结构浅析一
图片尺寸425x219
一种电容笔笔头的制作方法
图片尺寸1000x376
新手练练签字笔造型
图片尺寸1047x739
schneider 施耐德 钢笔智者id(黑紫)(169208)
图片尺寸800x559
凌美lamy 钢笔签字笔水笔 safari狩猎者系列 亮黄色-f尖
图片尺寸750x2723
哇,光是个笔头就让人眼花缭乱了,其他笔管啊, 笔帽啊是不是有更大的
图片尺寸640x408
tas-108 结构部件分解图八个 结构部件每个部件皆为精密数控,精心打造
图片尺寸1200x1200
中性笔的笔头的制作方法
图片尺寸1000x733
20世纪50年代,联邦德国推出针管型笔头绘图笔,已为国际上普遍采用.
图片尺寸600x170