笔盒的结构

多功能文具盒制造技术
图片尺寸952x1000
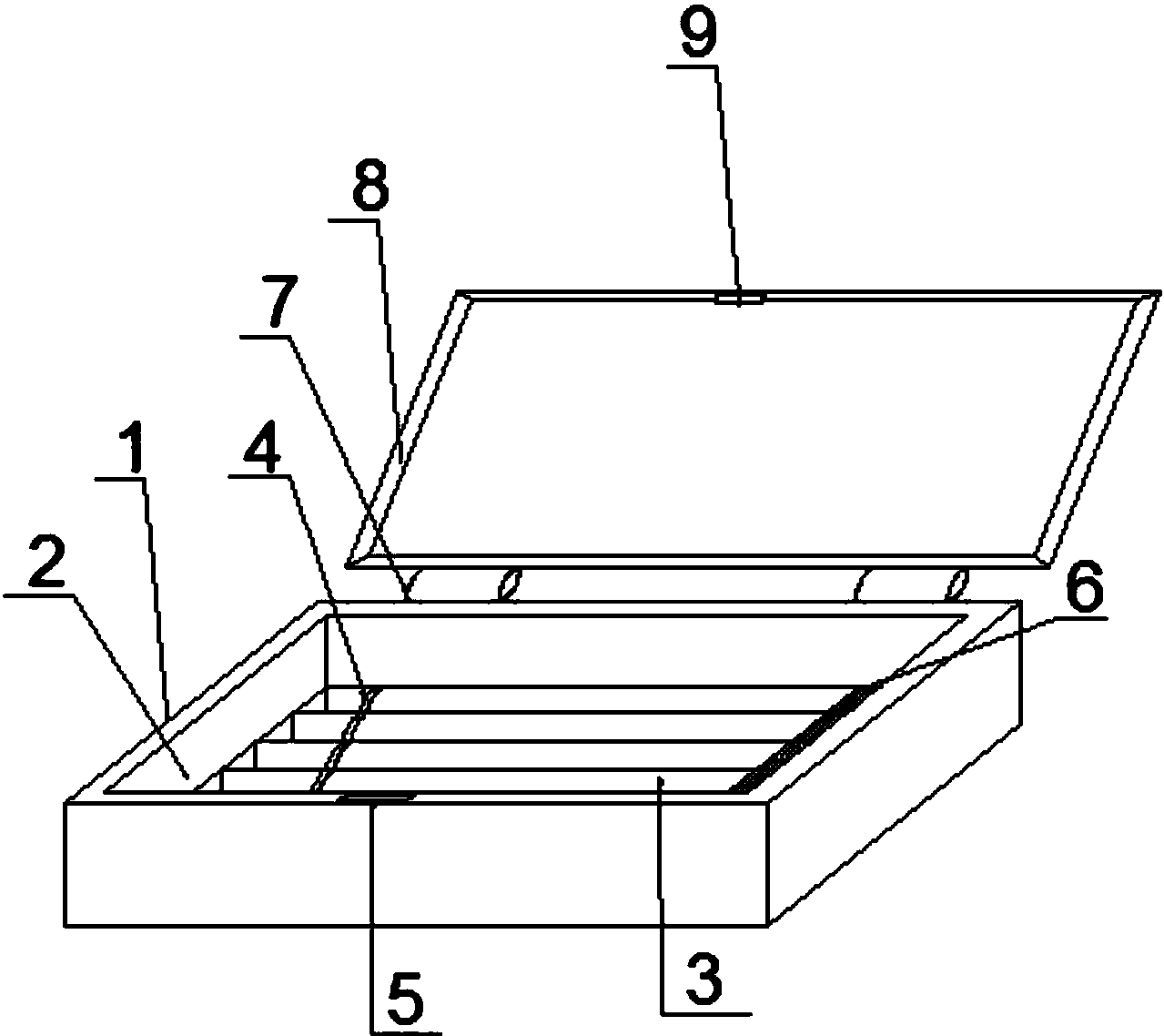
部的首尾两端,这种结构下可以把长笔帽放在托盘凸台内孔道的任何一端
图片尺寸895x1000
学生纯木质文具盒 双层带黑板创意铅笔盒收纳盒多功能笔盒礼物
图片尺寸752x627
cn201200065y_多功能文具盒失效
图片尺寸2025x1848
属于智能文具技术领域,包括笔盒主体以及蓝牙配对结构,笔盒主体上设有
图片尺寸800x647
先找一些高清的笔袋图片素材,可以是多种角度的,帮助我们从外形,结构
图片尺寸1080x705
cn101444356a_一种环保小笔盒失效
图片尺寸1540x1015
红酸枝微凹黄檀独板榫卯结构双层文具盒文房收纳盒盖盒中式盒子
图片尺寸800x800
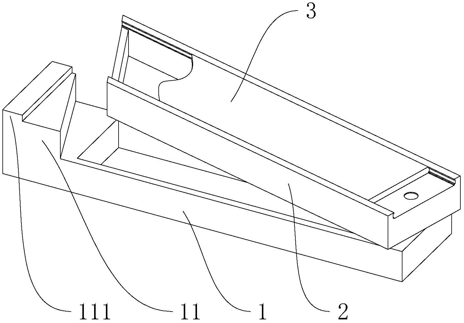
领域,包括至少两个活动连接的壳体,相邻两壳体之间设置有密封连接结构
图片尺寸800x588
服装鞋帽珠宝饰品制造的工具及其制品制作技术
图片尺寸1000x754
一种简易笔盒-爱企查
图片尺寸800x407
一种笔盒双层结构
图片尺寸1538x1072
一种墨盒的安装结构
图片尺寸1784x1844
一种新型文具盒的制作方法
图片尺寸358x296
一种语文老师教学用粉笔盒的制作方法
图片尺寸1000x724
一种烫蜡硬木可抽拉式粉笔收纳盒
图片尺寸1000x729
塑料笔盒的制作方法
图片尺寸1000x730
一种基于教学专用的带转笔刀的文具盒的制作方法
图片尺寸1000x965
笔袋的造型结构类似于长方体,抓住这个特点,我们就能理解笔袋不同块面
图片尺寸650x291
一种小学生用专用文具盒
图片尺寸1279x1138