筛粉机结构图

粮食淀粉专用直排式筛粉机
图片尺寸621x265
氧化铝粉末专用振动筛粉机
图片尺寸750x528
中药粉振动筛粉机结构图
图片尺寸720x417
定制适用厂家直销圆形多层振动筛选机小型电动筛粉机震筛机豆渣过滤机
图片尺寸750x915
塑料颗粒振动筛是一种广泛应用于塑料,化工,食品,医药等行业的粉体
图片尺寸640x339
卧式离心气流筛轻比重筛粉机微细粉末过滤筛旋转不锈钢立式气旋筛
图片尺寸1300x527
筛粉机
图片尺寸593x349
超声波振动筛圆形细粉末筛分机振动不锈钢石墨粉筛粉机
图片尺寸790x678
筛粉机制造技术
图片尺寸1000x813
食品医药筛粉机大型粉料气流筛分机厂家/批发/供应商
图片尺寸438x277
精细选粉机 超细网筛选硅石灰粉 工业粉振动筛选机
图片尺寸750x507
供应振动筛粉机,筛选机,振动筛,筛料机,筛粉机
图片尺寸634x360
医药中间体高精度超声波振动筛分机筛粉机
图片尺寸880x539
金信生产厂家 旋振筛分机 炸鸡包裹粉筛选设备圆形多层振动筛粉机
图片尺寸790x1074
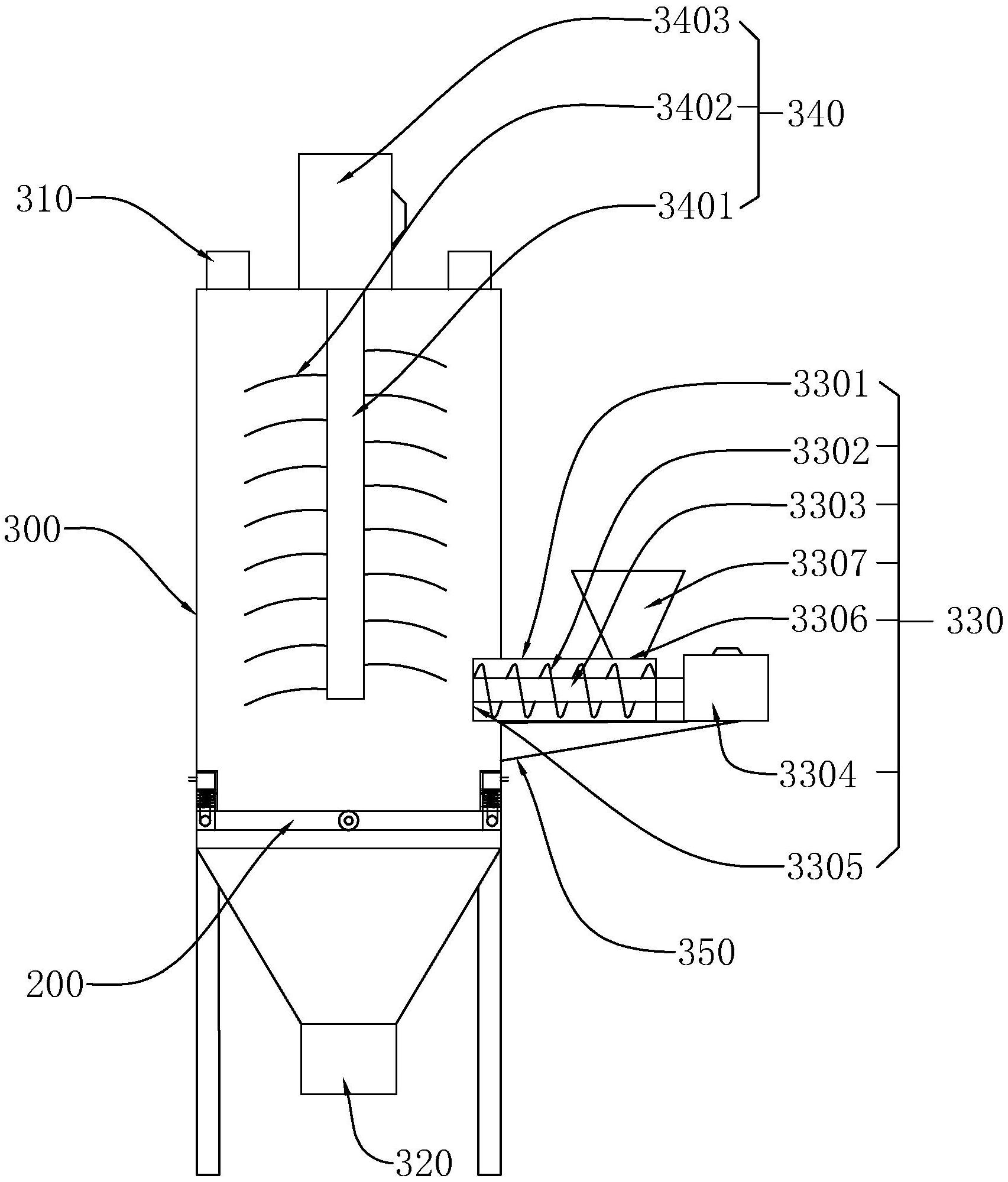
一种振动结构振动筛及气流粉碎机
图片尺寸1705x2000
直销不锈钢zps面粉过滤筛分机 定制多层粉末除杂过滤圆形直排筛
图片尺寸1919x996
可移动式直线筛粉机长方形振动筛加装滑轮
图片尺寸1001x394
高服粉末冶金振动筛铁粉筛分s49旋振筛
图片尺寸753x456
上一个 下一个> 举报 hzy牌 辽宁 圆筛粉设备的结构原理图
图片尺寸664x531
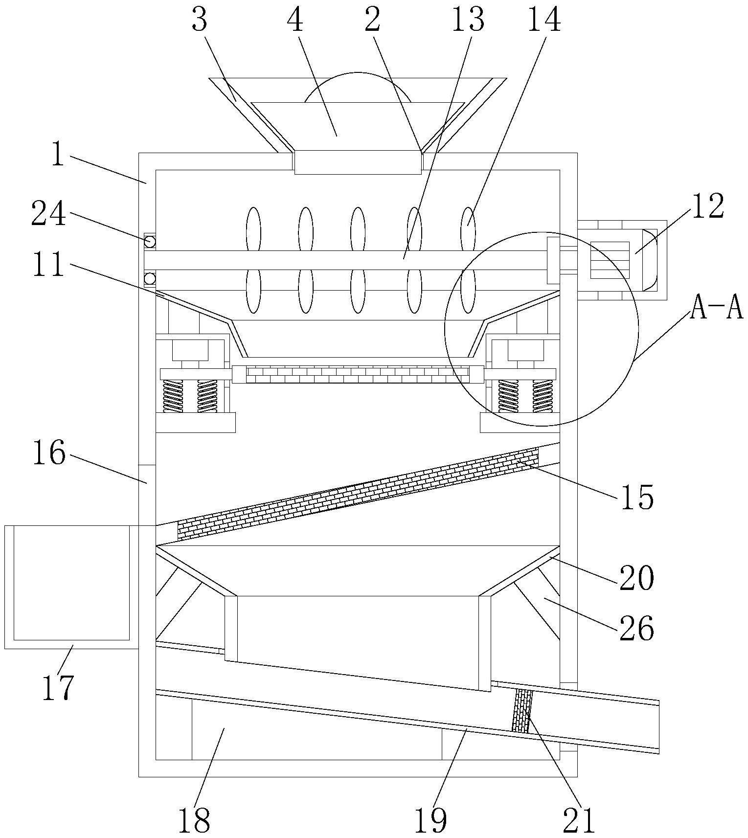
一种用于粉末包装机的筛分机构
图片尺寸1529x1713