管道结构

一种防堵塞的组件式家庭输水管道结构
图片尺寸779x1086
一种水利工程用水管结构
图片尺寸550x337
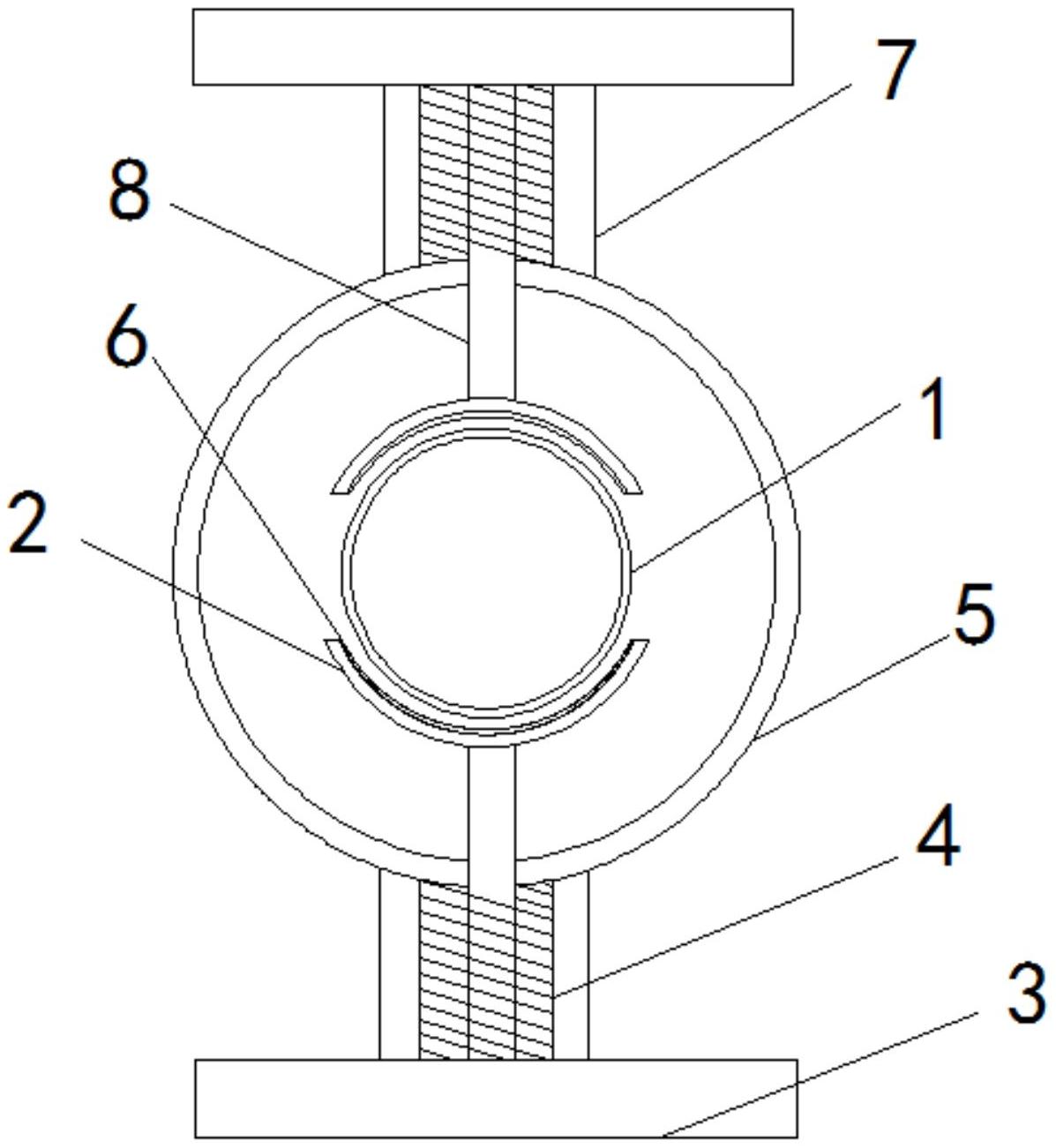
管道结构
图片尺寸338x385
管道工程施工图识读
图片尺寸623x469
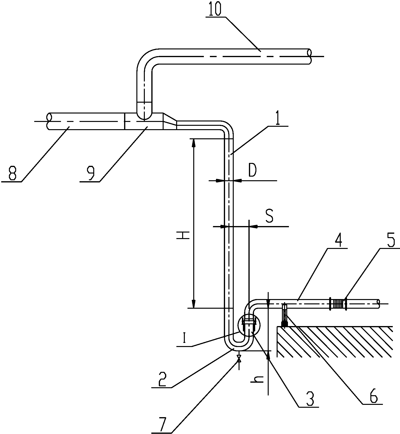
管道节点图
图片尺寸640x469
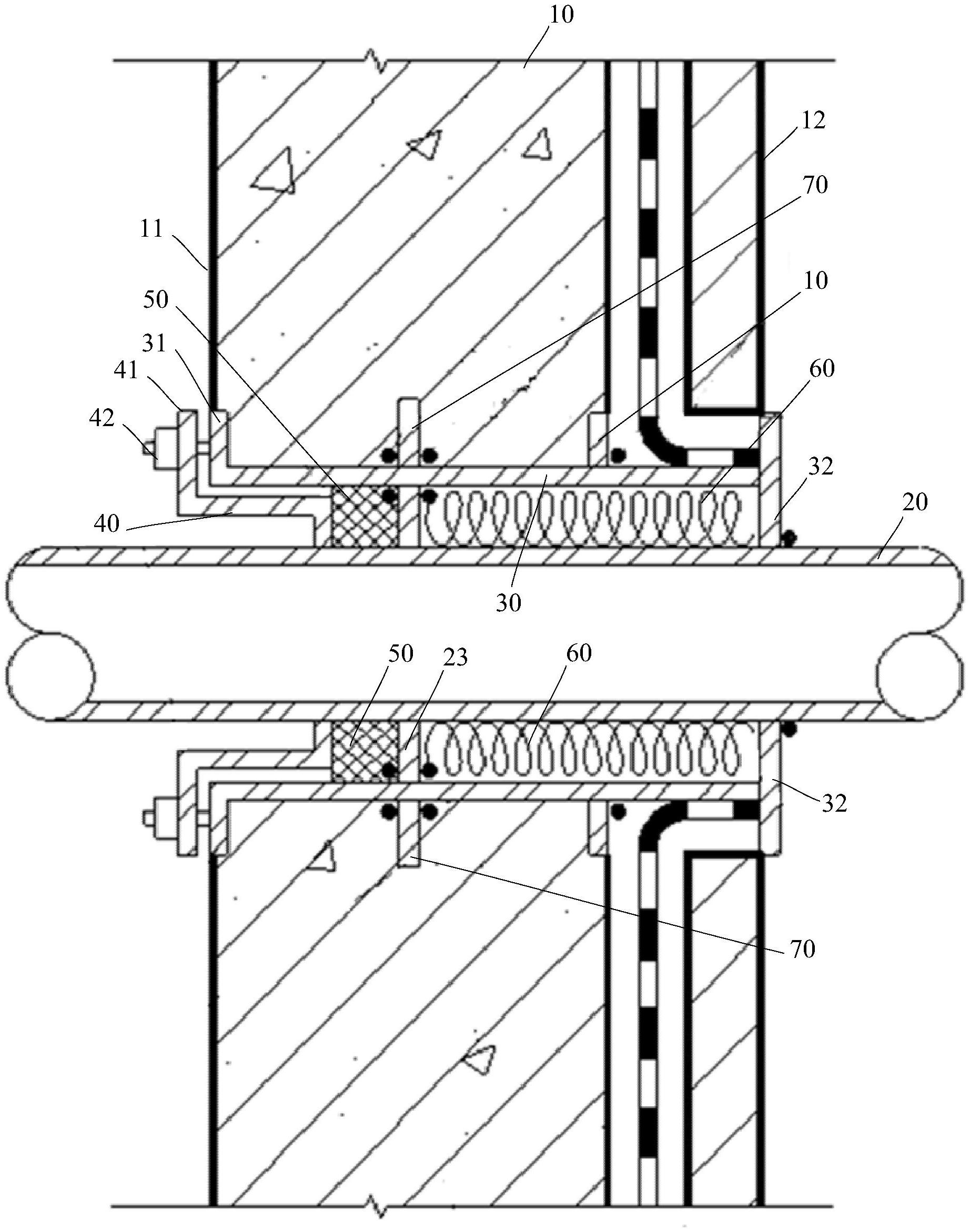
玻璃钢通风管道结构示意图
图片尺寸786x576
一种市政给排水管道连接结构
图片尺寸1923x1498
四位三通球阀的最后一个管道接的是出水管道,这个管道分别安装的有
图片尺寸600x333
新型公开了一种建筑给排水管道安装结构,涉及排水管道结构技术领域
图片尺寸800x558
管道结构形式
图片尺寸640x480
一种车间除尘用管路结构的制作方法
图片尺寸1000x733
一种用于废水回收设备的管路结构制造技术
图片尺寸1000x638
管道结构
图片尺寸268x185
低压管道结构示意图
图片尺寸610x458
穿墙管道结构
图片尺寸1844x2342
一种城乡规划市政排水管道结构的制作方法
图片尺寸314x457
cn212203377u_一种新型天然气管道安装结构有效
图片尺寸1197x1301
一种高层建筑施工排水管道连接结构
图片尺寸1000x896
cn208151314u_一种气液分离器后焦油氨水输送管道结构有效
图片尺寸1660x1801
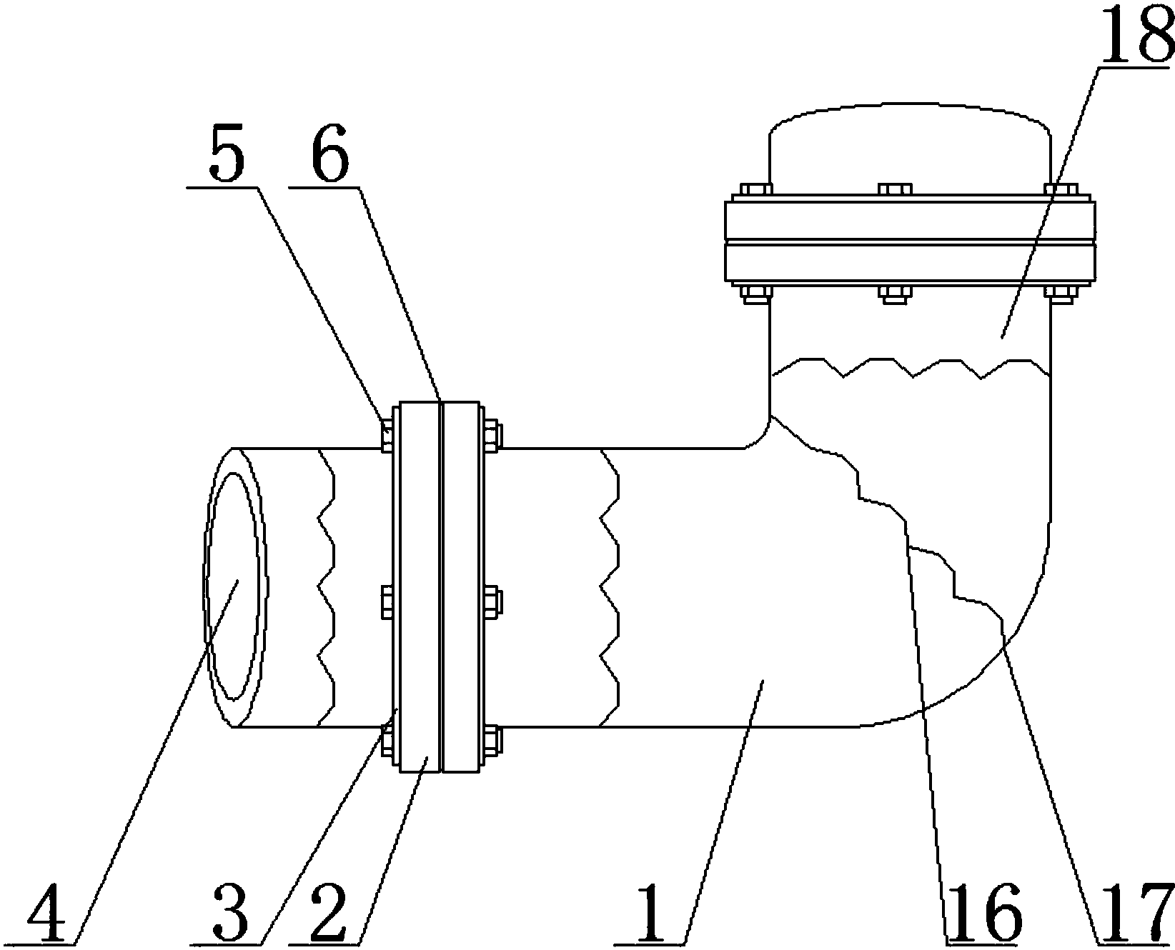
一种防腐的管道结构
图片尺寸1644x1330