箱形桥结构图

箱型梁桥梁架构
图片尺寸665x396
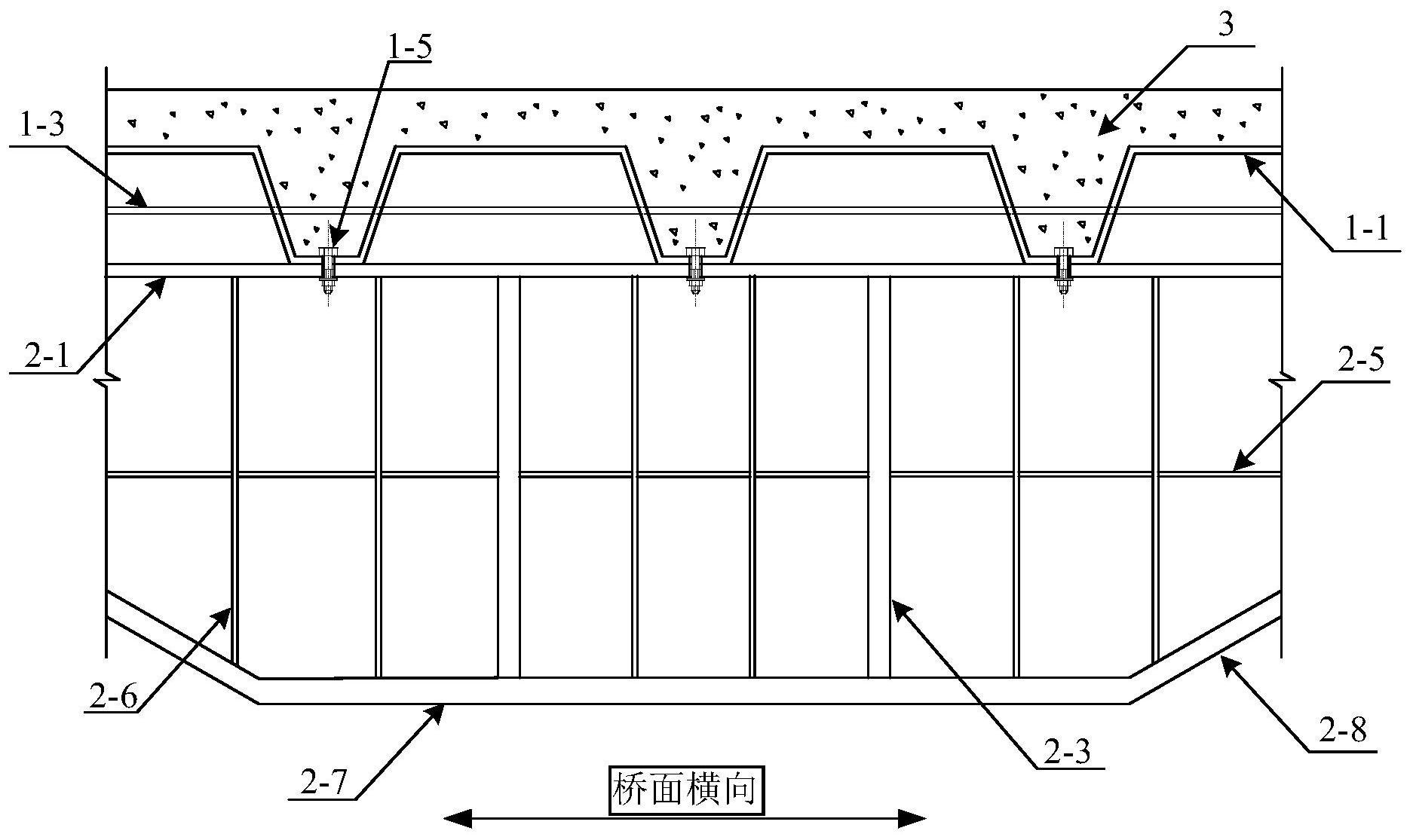
cn113062201a_一种压型钢板装配式组合箱型桥在审
图片尺寸1874x1115
钢筋混凝土箱形拱桥构造图纸1
图片尺寸700x504
cad1622016m现浇预应力箱形连续梁桥上部构造通用图纸87张梁高115mdwg
图片尺寸1200x1200
上海人走过的桥比侬吃过的盐还多
图片尺寸660x392
一种钢箱梁系杆拱桥结构
图片尺寸1734x841
一种v形刚构单幅钢箱拱肋组合桥
图片尺寸969x412
钢筋混凝土箱形拱桥构造图纸6
图片尺寸700x510
钢筋混凝土箱形拱桥构造图纸7
图片尺寸700x502
钢筋混凝土箱形拱桥构造图纸2
图片尺寸700x509
上部采用预应力现浇箱梁,下部结构桥台采用肋板台,桥墩采用柱式墩
图片尺寸760x570
本发明属于钢结构建筑技术领域,特别涉及一种不规则箱形桥塔 节点及其
图片尺寸444x338
钢筋混凝土箱形拱桥构造图纸5
图片尺寸700x508
某箱型混凝土拱桥设计图
图片尺寸903x666![[资料]某箱型混凝土拱桥设计图](https://i.ecywang.com/upload/1/img1.baidu.com/it/u=2296071954,4241411897&fm=253&fmt=auto&app=138&f=JPEG?w=929&h=500)
[资料]某箱型混凝土拱桥设计图
图片尺寸1066x574
钢筋混凝土箱形拱桥构造图纸4
图片尺寸700x507
小箱梁桥设计指南:适用条件和尺寸标准拟定,计算
图片尺寸689x450
组合型空间扭曲钢箱拱桥制作技术
图片尺寸2835x1287
一种先半后整的预制小箱梁桥施工工艺
图片尺寸1962x1287![[分享]箱型拱桥设计资料免费下载](https://i.ecywang.com/upload/1/img1.baidu.com/it/u=626785425,2116912720&fm=253&fmt=auto&app=138&f=JPEG?w=688&h=500)
[分享]箱型拱桥设计资料免费下载
图片尺寸957x696