精馏塔简易

精馏塔的结构简图
图片尺寸1499x2201
精馏塔装配图_第1页
图片尺寸920x1302
精馏
图片尺寸300x484
精馏塔设计图(参考版)
图片尺寸893x1263
一种填料式精馏塔
图片尺寸311x375
筛板精馏塔设计ppt
图片尺寸1080x810
精馏塔装配图
图片尺寸893x1263
萃取精馏塔的设计
图片尺寸3264x2448
精馏塔演示图
图片尺寸2525x3576
精馏塔示意图
图片尺寸773x1108
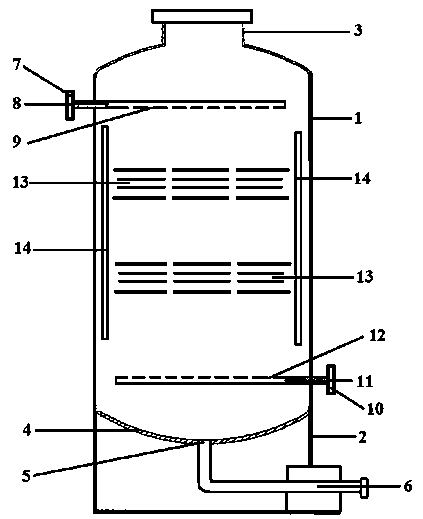
一种依靠重力提供回流的精馏塔的制作方法
图片尺寸714x1000
cn209662655u_一种依靠重力提供回流的精馏塔有效
图片尺寸712x1000
精馏塔动态图寻求一个精馏塔的简易的关于物料平衡的动态图片或动画
图片尺寸1365x767
cn204522356u_精馏塔有效
图片尺寸423x519
十足干货!精馏塔全套动画演示
图片尺寸742x455
关于单级精馏塔的一些问题
图片尺寸864x628
精馏塔cad图纸dwg图纸
图片尺寸640x755
有没有填料精馏塔的设计图 请发给我348296484@qq.com 万分感激
图片尺寸375x320
汽液双相连续精馏塔
图片尺寸525x463
精馏塔操作 word 文档
图片尺寸850x682