级进模 装配图

a级进模装配图.dwg
图片尺寸1200x800
模具装配图
图片尺寸841x594
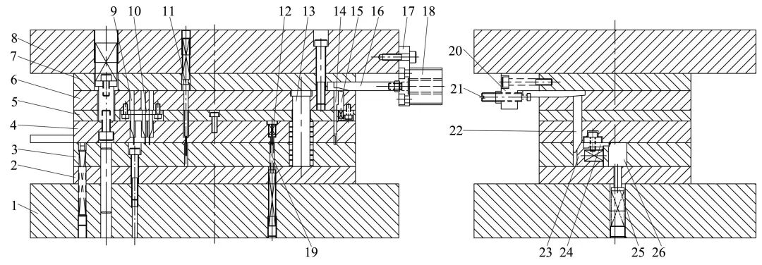
模具装配图
图片尺寸2338x1653
模具装配图
图片尺寸2338x1653
模具装配图
图片尺寸841x594
模具装配图
图片尺寸2338x1653
模具装配图
图片尺寸1100x778
镀金镍带弹簧片精密级进模设计
图片尺寸1080x376
模具装配图
图片尺寸841x594
级进模装配图.dwg
图片尺寸1200x800
拉伸级进模装配图.pdf
图片尺寸800x1132
模具装配图
图片尺寸841x594
活门冲孔落料级进模设计【说明书 cad】_装配图网
图片尺寸1200x800
级进模设计及其制造工艺-冲压模具【含cad图纸和文档全套】_装配图网
图片尺寸1200x800
级进模装配图零件图
图片尺寸738x499
模具装配图
图片尺寸2338x1653
装配图
图片尺寸1100x778
a0-垫片级进模具装配图.dwg
图片尺寸1200x800
零件冲压模具设计-级进模【含10张cad图纸 说明书全套文件】_装配图网
图片尺寸1200x800
插扣级进模设计
图片尺寸640x464