纸盒卡扣结构

进阶篇3112dfm注塑卡扣
图片尺寸406x486
卡扣式一次性饭盒
图片尺寸1579x858
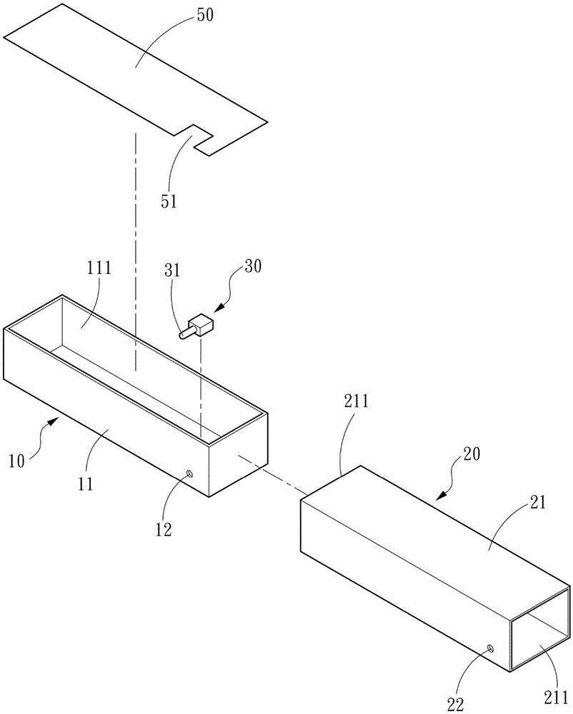
具卡扣结构的纸盒
图片尺寸802x1000
纸盒 定制牛皮纸盒 长方形 双插式样牛皮纸盒子定做 包装纸盒厂家
图片尺寸950x992
折叠纸盒结构设计盘式折叠纸盒
图片尺寸920x690
飞机盒和普通纸盒有什么区别 :彩盒包装结构设计图44
图片尺寸640x506
常用纸盒结构ppt
图片尺寸1080x810
适用 东芝 240s 241sdp-2400 2410 纸盒卡扣 300d 301dn 302dnf 3003
图片尺寸800x800
一种吸塑蛋盒的卡扣结构
图片尺寸442x444
一种卡扣结构的制作方法
图片尺寸1000x827
卡扣结构和包装内卡的制作方法
图片尺寸1000x744
一种用于包装箱的锁扣装置的制作方法
图片尺寸979x1000
苍南纸盒厂定做白卡纸包装盒印刷纸盒子订做包装彩盒定制
图片尺寸1019x824
常见纸盒结构图和效果图,快来收藏! - 塑料锁扣怎么开 - 实验室设备网
图片尺寸1080x840
常用纸盒结构ppt课件
图片尺寸860x4142
塑胶产品结构设计--卡扣
图片尺寸569x300
常用纸盒结构ppt
图片尺寸860x645
常用纸盒结构
图片尺寸1080x810
封口使用锁底式是什么意思?
图片尺寸453x533
管式折叠纸盒盒底结构ppt
图片尺寸1080x810