绝缘子原理图

南昌大学采购选购我司介电常数ε,介质损耗角正切tanδ测量仪器
图片尺寸660x428
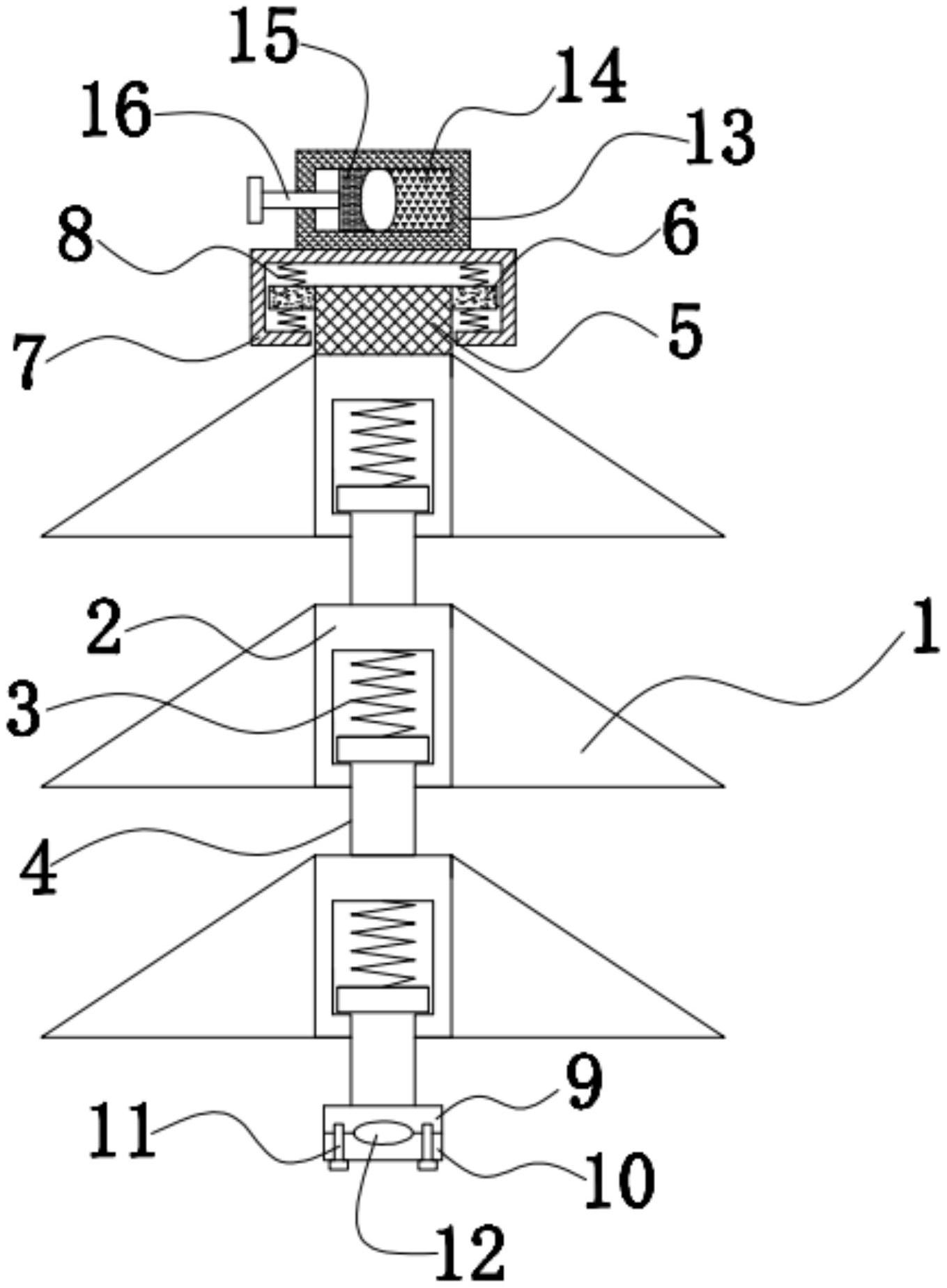
一种具有减振功能的绝缘子-爱企查
图片尺寸1359x1849
一种多功能变台绝缘子-爱企查
图片尺寸2097x927
绝缘测试原理图
图片尺寸1188x918
不同布置方式对交流绝缘子串人工污秽闪络特性的影响
图片尺寸640x355
特高频方法测量原理 盘式绝缘子 屏蔽 天线 特高频原理示意 局放 gis
图片尺寸1080x810
cn201256038y_一种交流800kv户外棒形支柱瓷绝缘子有效
图片尺寸800x269
安徽送变电工程公司技术团队提出一种新型万能绝缘子更换卡具_设计
图片尺寸1110x786
一起化工厂10kv开关柜过电压保护器热崩溃事故的分析与处理
图片尺寸1080x595
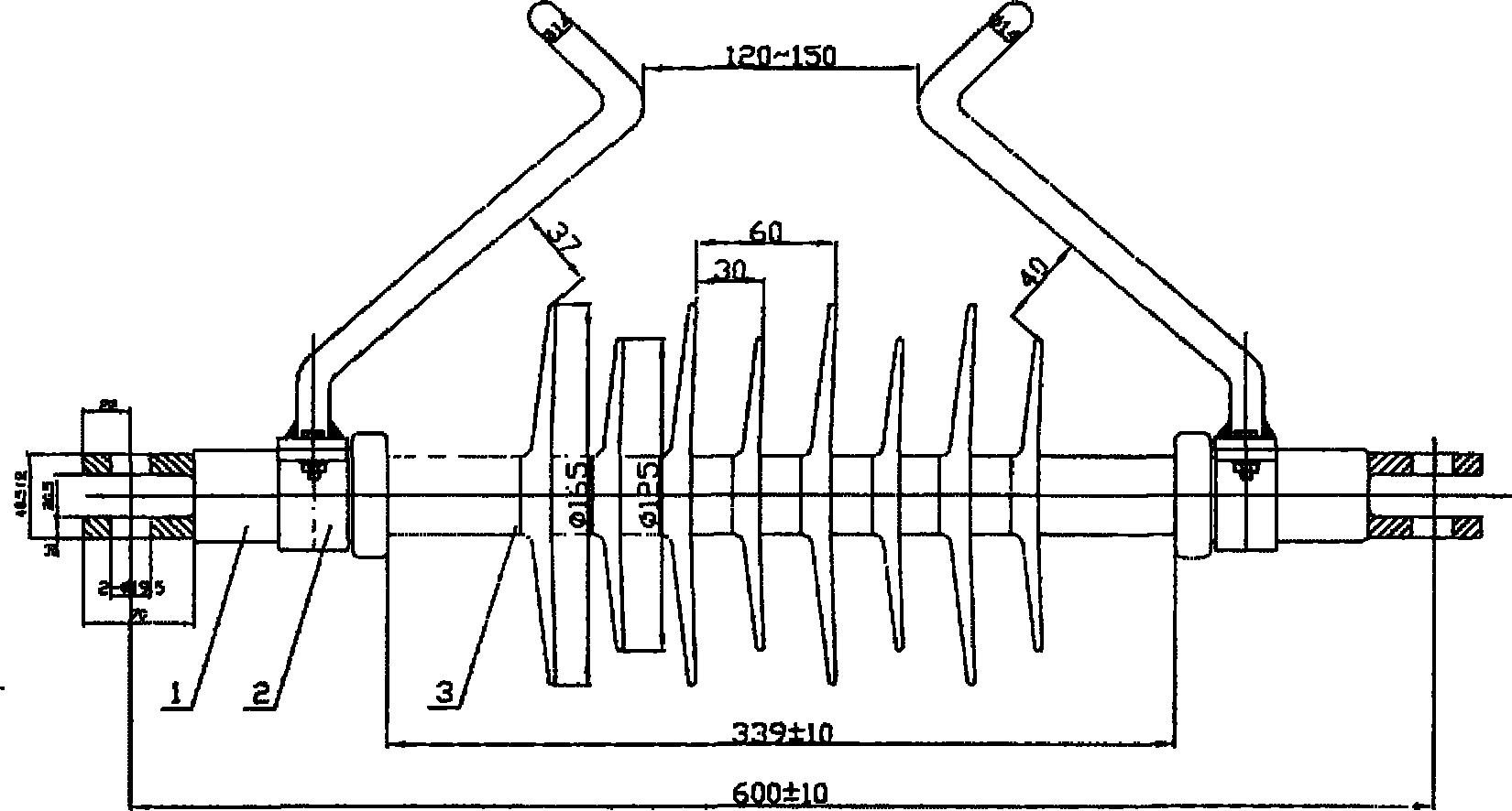
cn108766678a_单导线双联耐张复合绝缘子在审
图片尺寸1477x544
图4光学法露点检测原理示意图露点法是采用镜面冷却技术,镜面上水分所
图片尺寸660x390
一种棒型耐张地线融冰绝缘子-爱企查
图片尺寸1650x886
一起化工厂10kv开关柜过电压保护器热崩溃事故的分析与处理
图片尺寸697x813
第五节 绝缘子
图片尺寸1077x808
一种新式防脱落绝缘子-爱企查
图片尺寸588x367
交流耐压串联谐振试验系统
图片尺寸670x917
基于现场的简易绝缘子故障指示器的设计
图片尺寸924x744
转载-「油质监督」浅谈六氟化硫断路器内水分
图片尺寸660x298
feg-12/5 防雷支柱绝缘子(穿刺式/非穿刺式)
图片尺寸658x295
一种滑轮式绝缘子的制作方法
图片尺寸350x515