绝缘接头原理

绝缘接头技术参数
图片尺寸608x493
油气管道工程绝缘接头技术规格书
图片尺寸1165x1920
绝缘接头使用原理图
图片尺寸640x409
绝缘中间接头绝缘接头使用原理图屏蔽层交叉互联:电缆线路很长时(大约
图片尺寸640x223
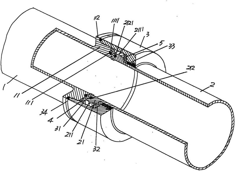
油气管道绝缘接头的制作方法
图片尺寸976x1000
一种超低温高压绝缘接头的制作方法
图片尺寸1000x544
别再被骗了这才是正规的电线接头解法
图片尺寸433x345
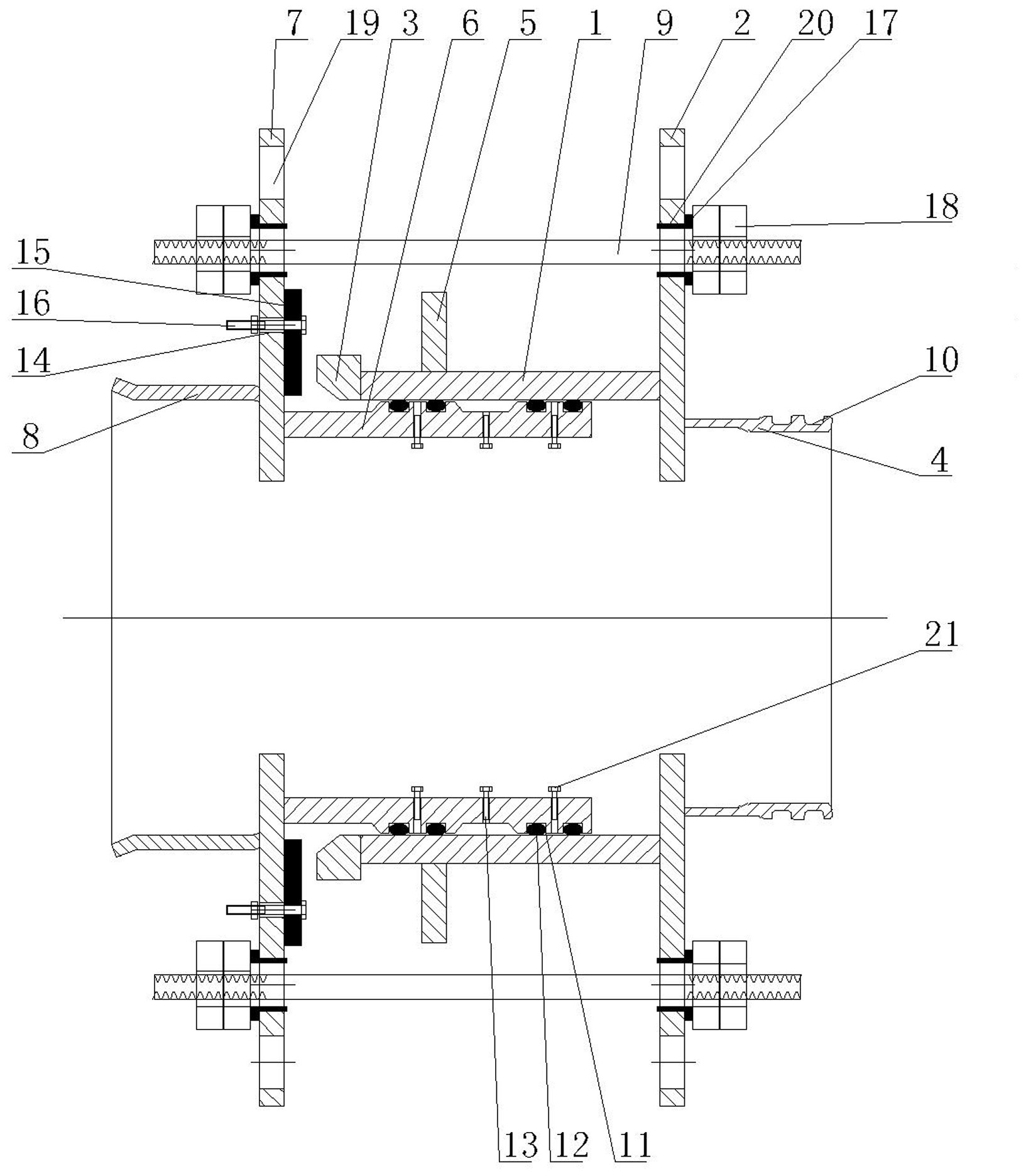
一种伸缩式绝缘接头装置
图片尺寸1633x1871
一种轧机液压管抗压绝缘接头-爱企查
图片尺寸1259x657
图文详解电线接头常用连接方法及绝缘处理
图片尺寸640x694
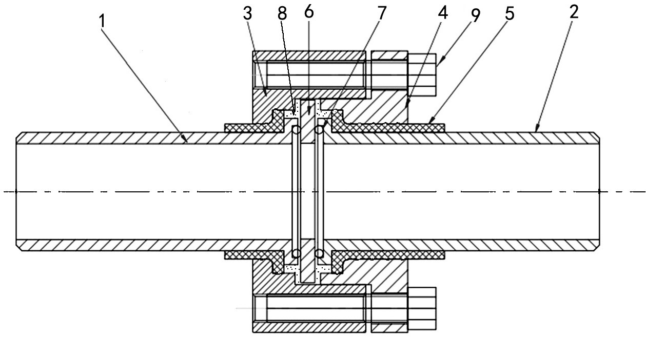
管道用绝缘接头的制作方法
图片尺寸941x1000
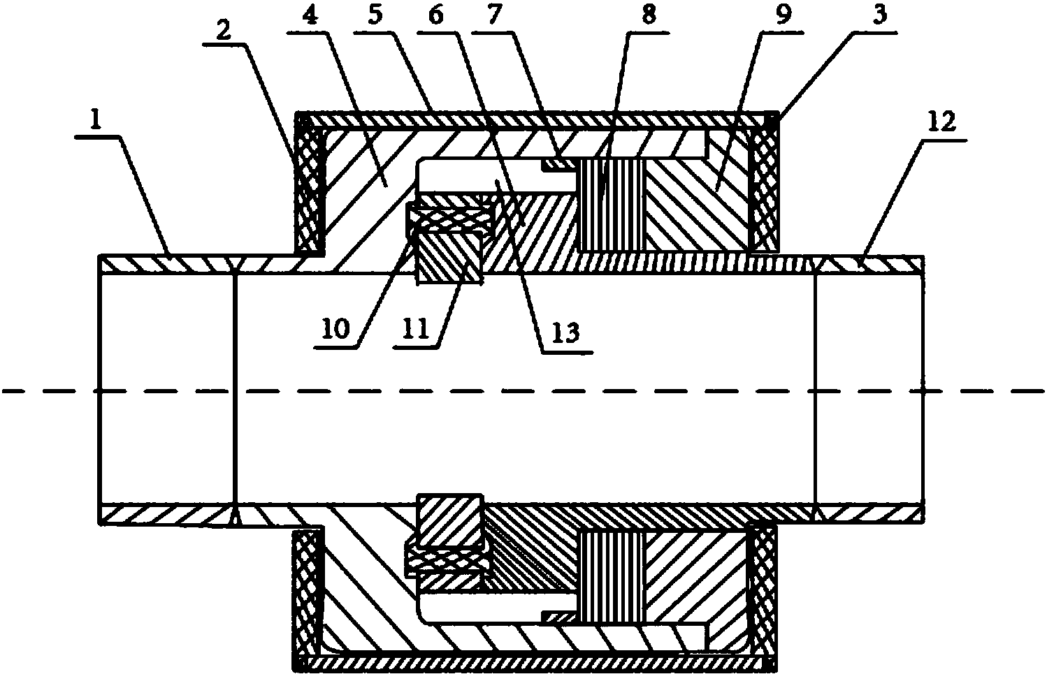
一种燃气用绝缘接头
图片尺寸1498x965
一种轧机液压管抗压绝缘接头制造技术
图片尺寸1000x521
一种绝缘接头制造技术
图片尺寸1000x531
一种伸缩式绝缘接头装置的制作方法
图片尺寸872x1000
110kv整体预制式绝缘直通接头安装工艺图文详解
图片尺寸633x458
cn203023703u_一种改进型耐高压气动快速接头有效
图片尺寸1000x586
管道用的绝缘接头-爱企查
图片尺寸799x584
钢轨胶接绝缘接头的制作方法
图片尺寸586x520
钢轨胶接绝缘接头的制作方法
图片尺寸586x520