绞缆机说明书

jgg-6301 6型管式绞线机
图片尺寸649x411
成缆机安全操作规程
图片尺寸920x1302
一种高强度耐腐蚀电线电缆生产用叉式绞线机的制作方法
图片尺寸1000x802
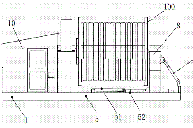
一种船舶用自动排缆绞缆机
图片尺寸1000x914
jwb系列无极绳机械绞车使用说明书
图片尺寸920x1302
14弓型绞线机高速悬臂单绞成缆机
图片尺寸600x600
绞缆机的原理.ppt
图片尺寸920x690
一种对绞成缆机制造技术
图片尺寸1000x452
jwb系列无极绳机械绞车使用说明书
图片尺寸920x1303
民用线押出机安全操作规范流程 弓绞成缆机 电线束丝机 数控包带机
图片尺寸800x800
供应码头用快速脱缆钩,船舶绞缆系缆专用设备 厂家直销
图片尺寸760x637
10-2 锚机和绞缆机
图片尺寸1080x810
cn105384100a_方便移动作业的液压绞缆机失效
图片尺寸605x379
自动张力绞缆机
图片尺寸630x419
500型高速绞线机绞铜机电线绞线机成缆机欢迎选购
图片尺寸750x750
一种船舶用自动排缆绞缆机制造技术
图片尺寸1000x916
一种用于船舶上的绞缆机-爱企查
图片尺寸1259x832
(zdbx2型电脑剥线机使用说明书.doc
图片尺寸794x1123
一种船舶用自动排缆绞缆机的制作方法
图片尺寸1000x573
资阳无极绳绞车-山东宇恒机电股份有限公司
图片尺寸1000x930