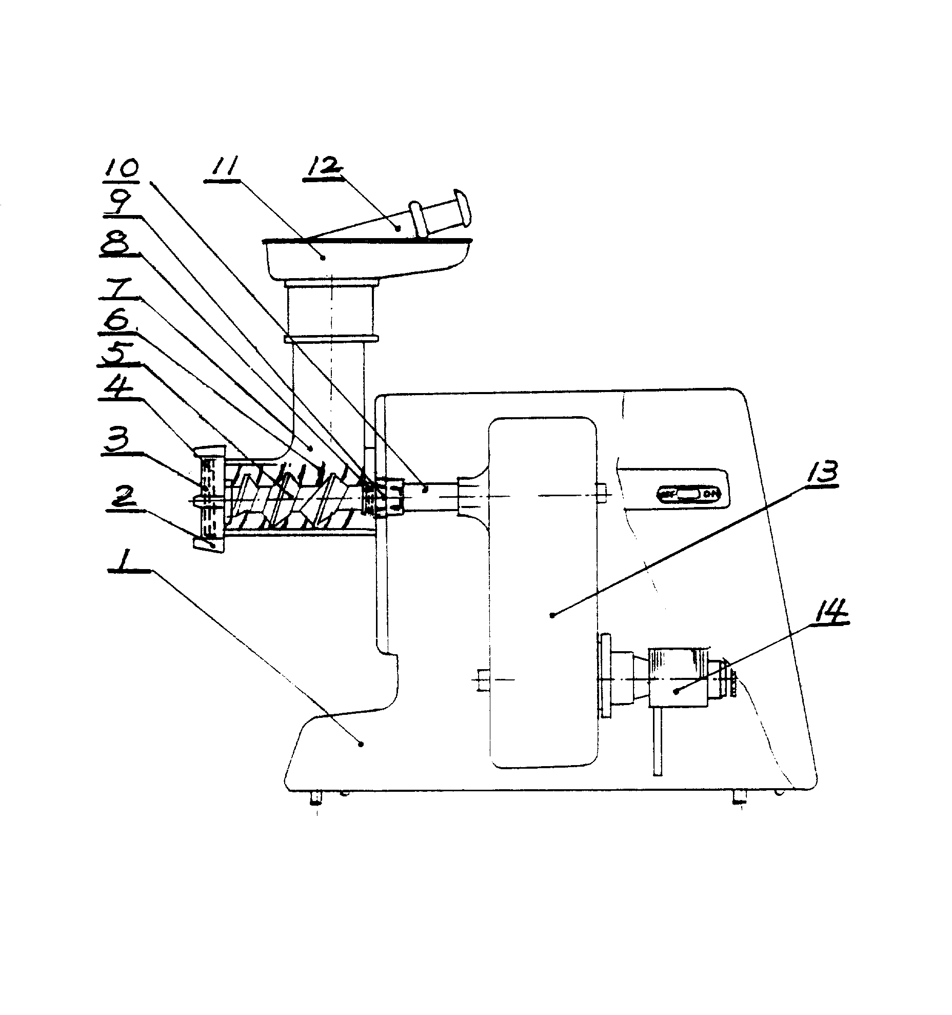
绞肉机装配图

绞肉机
图片尺寸1976x1728
绞肉机(g79)
图片尺寸1104x1135
a0-绞肉机装配图.dwg
图片尺寸1200x800
工业绞肉机设计_装配图网
图片尺寸1200x800
我的新宠!a 新飞旗舰款 五升绞肉机 - 抖音
图片尺寸1020x1360
a0-绞肉机装配图.dwg
图片尺寸1200x800
绞肉机装配图
图片尺寸561x402
一种高效自动绞肉机的制作方法
图片尺寸1000x922
每次包饺子,都需要用绞肉机来绞馅,这样既
图片尺寸750x568
力可美lkm-jr08 手动不绞肉机原理绞肉机结构绞肉机结构示意图绞肉
图片尺寸750x389
绞肉机的清洗维护
图片尺寸740x325
冻肉绞肉机
图片尺寸2379x2040
一种切肉绞肉机的制作方法
图片尺寸1000x814
一种绞肉机的制作方法
图片尺寸1000x847
绞肉机家用电动多功能搅拌绞馅辣椒小型碎打肉机不锈钢肉沫机
图片尺寸790x1592
一种多功能绞肉机的制作方法
图片尺寸974x1000
a1-绞肉机装配图.dwg
图片尺寸1200x800
一种具有扯蛋功能的绞肉机-爱企查
图片尺寸689x800
绞肉机装配图(a0).dwg
图片尺寸1200x800
cn2219160y_高效自动绞肉机失效
图片尺寸1856x1978