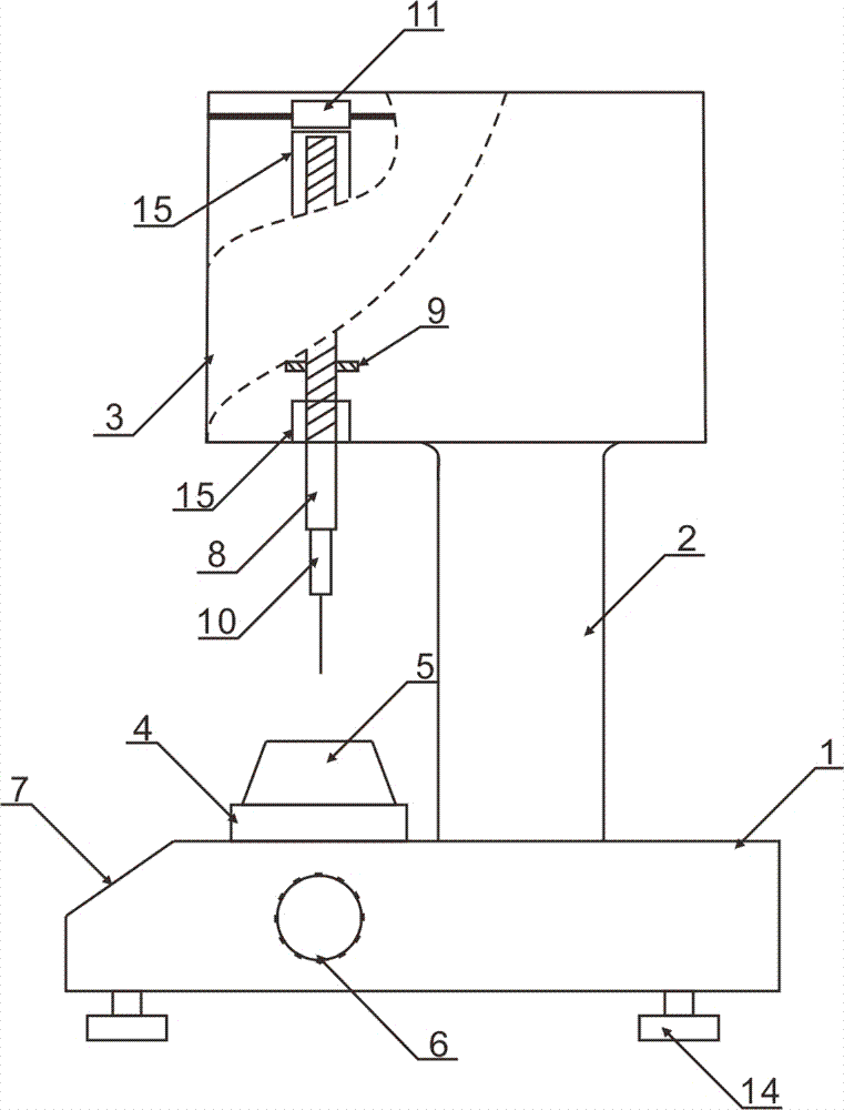
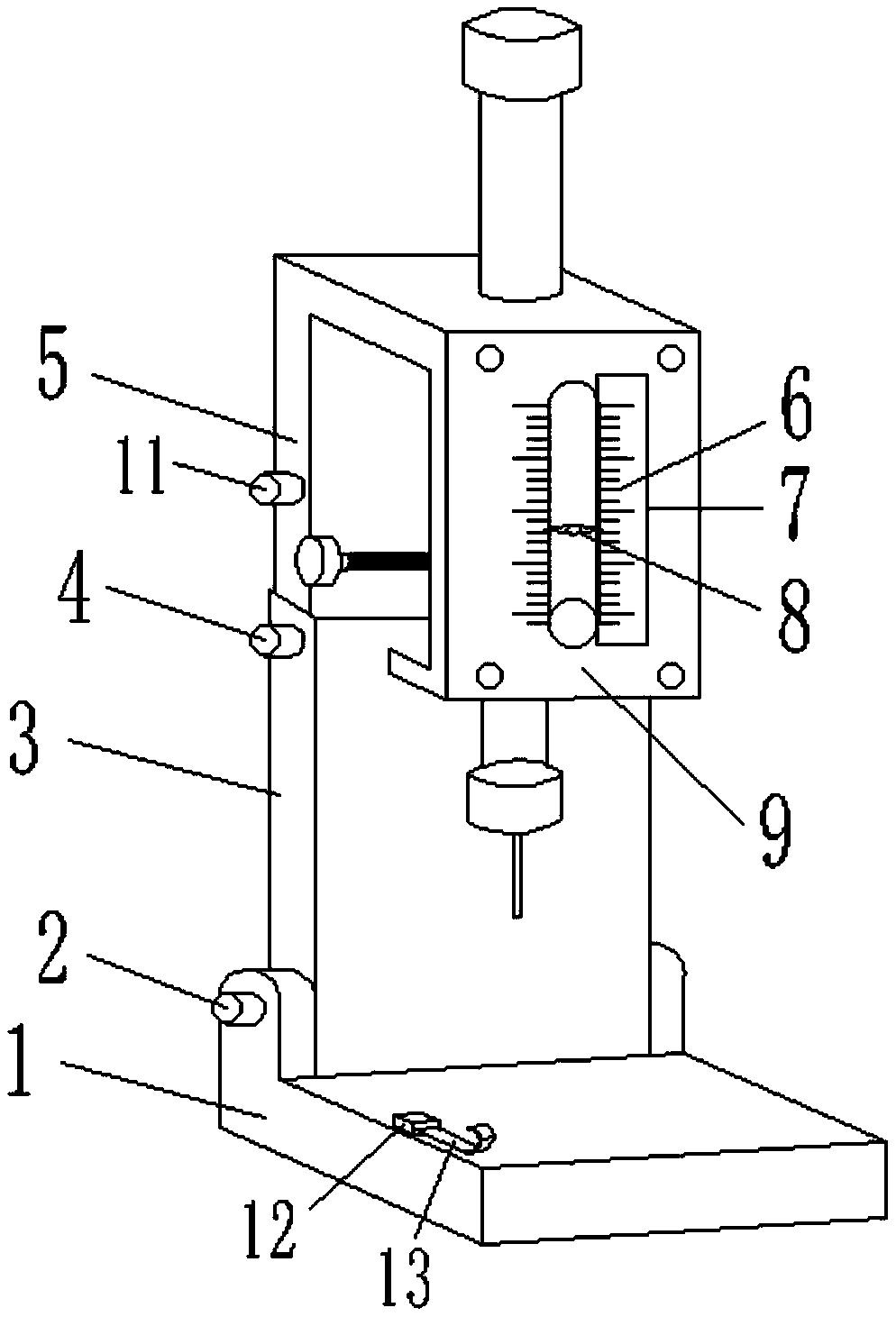
维卡仪工作原理

产品图片(17张)
图片尺寸780x523
如何用电脑绘制这种原理图,应该用什么软件?
图片尺寸600x427
因此从原理上来说,传统的火炮与电磁炮不同的只是发射方式.
图片尺寸450x356
原理:热成像夜视仪,在原理上和前者完全不一样,这种热成像夜视仪,在全
图片尺寸494x321
08 _ 08 图片_百度百科
图片尺寸758x410
s6问题科普贴
图片尺寸506x489
compatible dell 2231 2231d drum unit
图片尺寸960x720
dsc-500b 上海皆准gbt/19466差示扫描量热仪
图片尺寸850x423
我的快乐就是想你
图片尺寸1080x810
一种手持式频谱分析仪的设计与实现 (1)
图片尺寸955x532
维卡仪净浆标准稠度及凝结时间测定仪
图片尺寸193x220
图片浏览
图片尺寸352x244
维卡仪-爱企查
图片尺寸994x1461
一种高精度的智能维卡仪
图片尺寸761x1000
产品描述
图片尺寸587x617
=7M7
图片尺寸790x589
2,电火花计时器 (1)构造: 工作电压为220伏 (2)原理: 脉冲
图片尺寸1080x810![v8 背诵:[1]](https://i.ecywang.com/upload/1/img2.baidu.com/it/u=1499603424,203910975&fm=253&fmt=auto&app=138&f=JPEG?w=500&h=637)
v8 背诵:[1]
图片尺寸1024x1304
cn200947100y_水泥凝结时间全自动维卡仪失效
图片尺寸800x1004
光学玻璃弹性模量的自动化测量方法
图片尺寸1535x1333