缠绕机示意图

一种顶部上断膜高速托盘在线缠绕机的制作方法
图片尺寸528x612
一种简易缠绕机的制作方法
图片尺寸896x1000
缠绕机构以及具有其的包装机的制作方法
图片尺寸1000x975
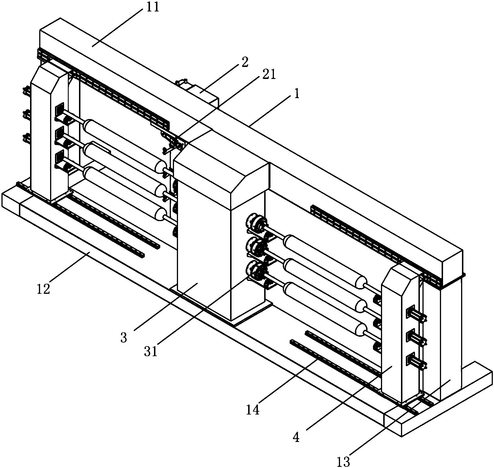
cn108819195a_一种适用于压力气瓶生产的多工位自动纤维缠绕机在审
图片尺寸1726x1636
一种生料带自动缠绕机
图片尺寸1734x1711
一种简易立式环形缠绕机的制作方法
图片尺寸967x1000
多功能托盘缠绕机的制作方法
图片尺寸1000x941
xt300sps-tp压顶型托盘缠绕机
图片尺寸768x1027
一种多规格电缆缠绕机的制作方法
图片尺寸444x268
多功能托盘缠绕机_cn201920896812.7_知雀网
图片尺寸1000x940
一种碳纤维缠绕机工艺参数调节系统及张力调节方法技术方案
图片尺寸1000x557
cn213535220u_一种卧式缠绕机有效
图片尺寸1906x1395
一种新型独臂悬臂缠绕机的制作方法
图片尺寸933x1000
龙门多轴双工位碳纤维缠绕机的制作方法
图片尺寸416x444
数控布带缠绕机的制作方法
图片尺寸1000x792
一种在线回转支承式缠绕机的制作方法
图片尺寸864x1000
一种缠绕机制造技术
图片尺寸309x368
大型水平轴向连续铺设纤维缠绕机概述
图片尺寸911x609
缠绕机的制作方法
图片尺寸1000x906
一种在线回转支承式缠绕机的制作方法
图片尺寸1000x979