翻板机结构图

cn213568553u_液压翻板卸车机有效
图片尺寸1816x1015
cn208828752u_一种平板型预制件输送环节中实现180度翻板的装置
图片尺寸1000x892
翻板机的结构主要为前后两条连动带和一个可转动的翻转架;翻转架位于
图片尺寸886x826
一种带挡边的翻板机的制作方法
图片尺寸1000x944
一种翻板机
图片尺寸1000x779
一种卸车机用液压翻板装置
图片尺寸1811x992
翻车机系统的四构四造和原理.doc 49页
图片尺寸792x1025
一种板材翻板机
图片尺寸1948x1268
一种光伏太阳能硅板的可调节翻板机
图片尺寸1601x1119
包括工作台本体以及与工作台铰接的翻板和翻板支撑结构,支撑结构利用
图片尺寸1666x997
cn106276166b_一种具有储板箱的光伏太阳能硅板翻板机有效
图片尺寸1579x1138
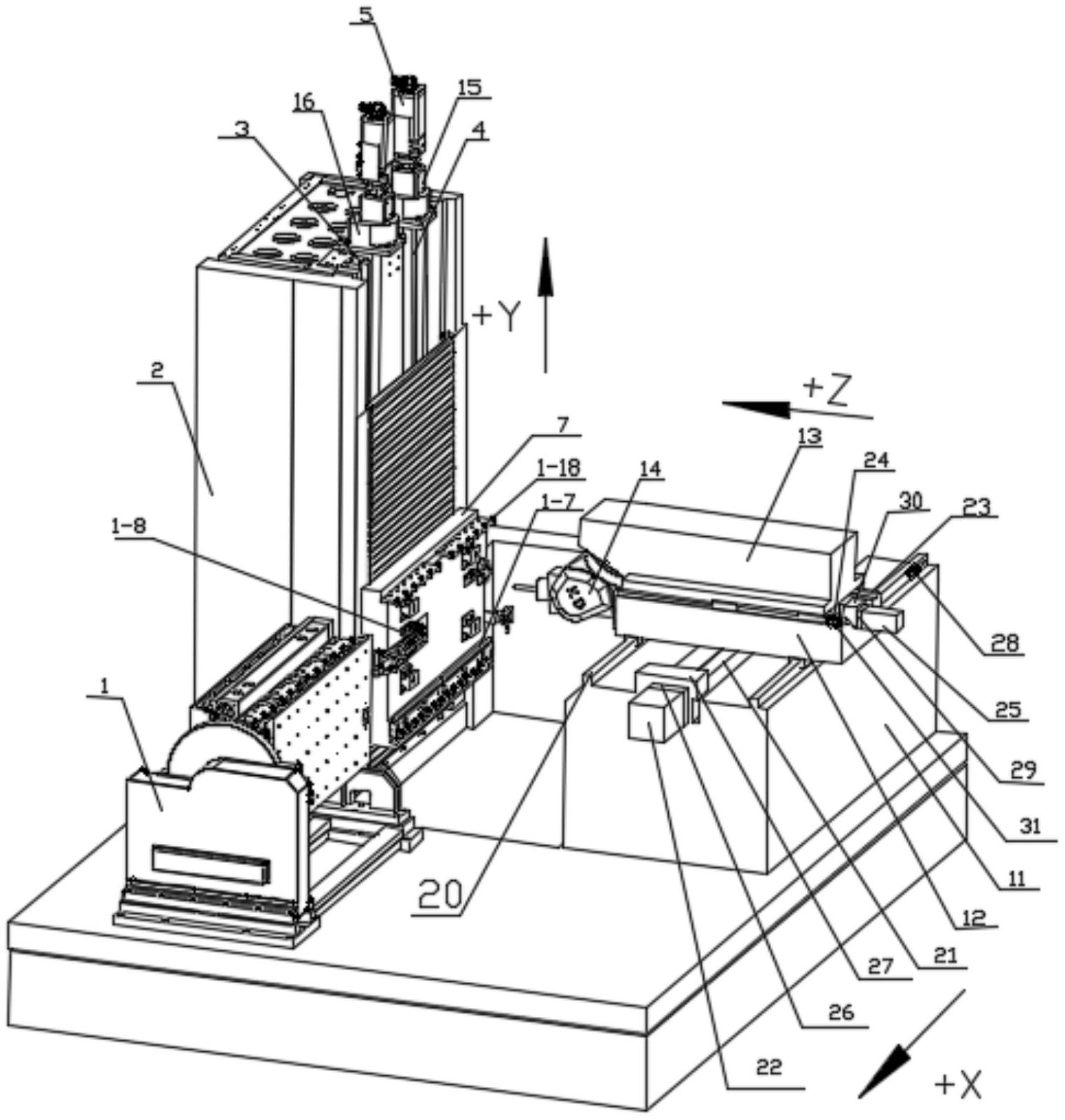
一种工作台上下垂直运动的卧式五轴翻板加工中心
图片尺寸1519x1598
图1 侧倾式翻车机结构示意图侧倾式翻车机主要由一个偏心旋转的平台
图片尺寸1250x612
一种板材翻板机的制作方法
图片尺寸1000x651
pcb板翻板机,翻转机构图纸(step(stp)/sldprt/sldasm文件)
图片尺寸1081x607
cn106743644a_一种夹持式玻璃翻板机在审
图片尺寸1000x847
cn203753900u_翻板装置及其组成的自动翻板机有效
图片尺寸909x1000
一种岩棉板生产流水线翻板机构的制作方法
图片尺寸1000x770
一种快速翻板机的制作方法
图片尺寸1000x747
翻板机的制作方法
图片尺寸443x275