翻转自锁结构

旋转自锁的方法
图片尺寸737x562
随着机械结构的不断发展,旋转双向自锁机构的需求越来越大,尤其是在
图片尺寸331x443
一种具有自锁结构的翻转机构-爱企查
图片尺寸642x799
自动翻转机构部分
图片尺寸674x584
天线旋转自锁机构的制作方法
图片尺寸1000x759
cn110131960a_一种自锁翻转梁结构在审
图片尺寸939x1000
一种旋转式自锁关节的制作方法
图片尺寸1000x963
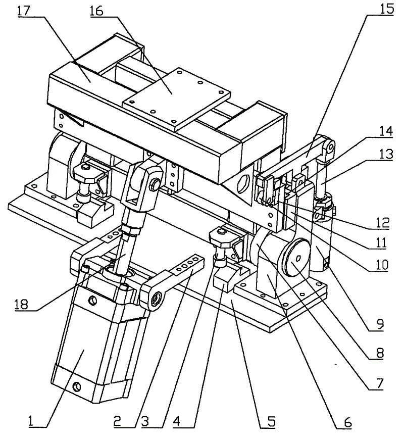
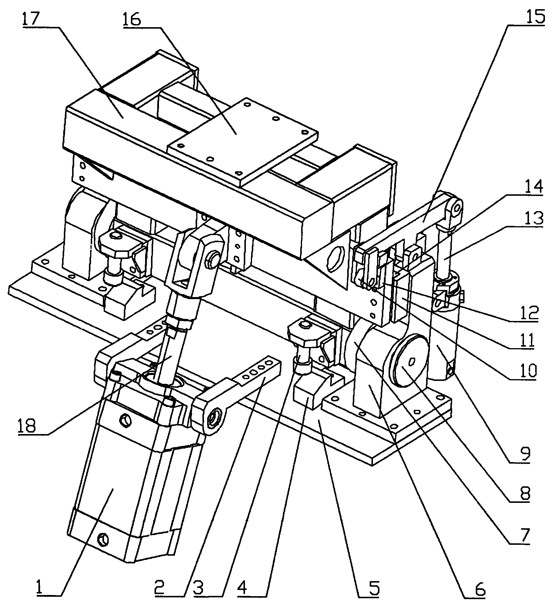
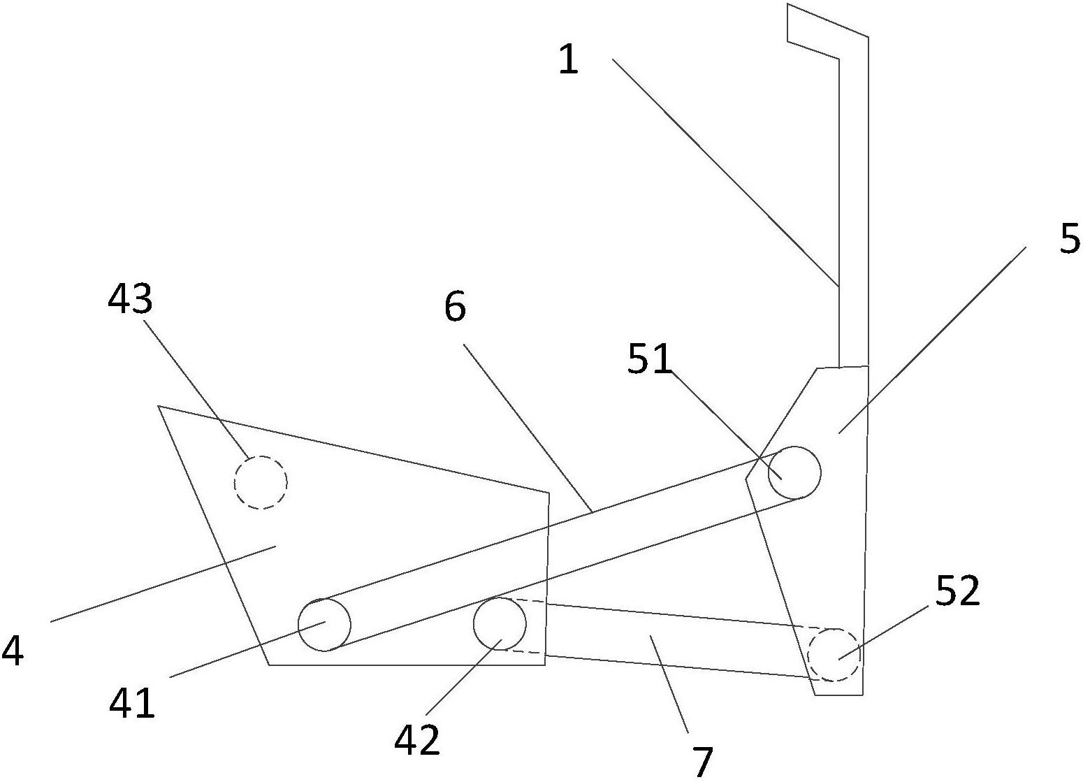
一种自锁式车身工装定位用翻转装置
图片尺寸1895x2076
一种异形工件翻转自动锁紧消隙机构
图片尺寸1291x903
一种汽车座椅翻转自动锁止机构制造技术
图片尺寸1000x917
一种消防用消防梯的自锁定式翻转结构的制作方法
图片尺寸1000x840
如何实现旋转加自锁?下图结构,求高手提点
图片尺寸733x553
一种真空吸吊机翻转连杆自锁机构-爱企查
图片尺寸1550x1119
基于超越离合器的双向旋转自锁传动机构
图片尺寸749x577
基于超越离合器的双向旋转自锁传动机构
图片尺寸850x536
一种旋转锁定机构的制作方法
图片尺寸999x1000
一种带有自锁功能的翻转机构的制作方法
图片尺寸444x326
一种机械智能自锁旋转装置的制作方法
图片尺寸1000x747
cn201291360y_一种自锁式车身工装定位用翻转装置有效
图片尺寸800x873
旋转开关结构 示意图如图7-11 所示.(1)互锁 (2)自锁 (3)联动
图片尺寸1080x810