肋板的断面图

物体肋板断面图表达正确的有().
图片尺寸881x387
第一个是作肋板的重合断面.第二个是按图示的剖切线画出移出断面
图片尺寸511x627
肋板(航海 名词)
图片尺寸268x240
画出十字肋板的重合断面图
图片尺寸569x456
展开全部 箭头所指部分为肋板.按纵向剖切的肋板不画剖面线.
图片尺寸780x1040
肋板.jpg
图片尺寸1562x725
断面图表达正确的答案是
图片尺寸628x423
肋板的局部剖视图
图片尺寸490x541
那些年,你漏诊过的肋骨骨折!
图片尺寸640x709
断面图中肋板要不要画剖面线
图片尺寸424x600
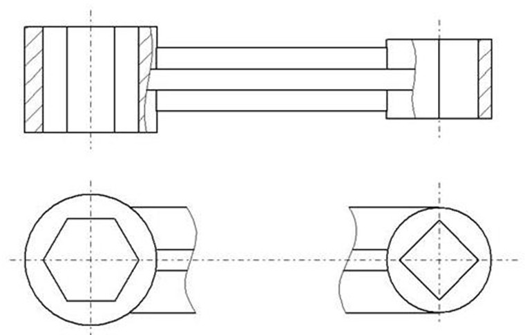
在俯视图中断开处画出十字肋的断面图
图片尺寸760x485
关于肋板的剖视图问题
图片尺寸872x620
一,肋板,腹条
图片尺寸644x330
肋板的画法
图片尺寸580x369
断面的分类
图片尺寸412x508
正文 剖切后将断面图形重叠在视图上,这样得到的剖面图叫重合断面
图片尺寸381x272
第一个是作肋板的重合断面.第二个是按图示的剖切线画出移出断面
图片尺寸949x527
cad机械制图常识之断面
图片尺寸248x196
1, 问题:下列是关于肋板剖切的画法,请判断对错
图片尺寸308x332
断面图表达正确的答案是
图片尺寸520x515