脚铐怎么画

卡通手绘镣铐素材
图片尺寸780x780
扁平化脚铐
图片尺寸650x651
流窜小偷深夜来到洗浴中心.
图片尺寸640x420
手绘手铐脚镣
图片尺寸610x610
警方对象示意图插画-正版商用图片05f3cc-摄图新视界
图片尺寸700x700
卡通手绘债务男士脚铐插画
图片尺寸340x511
紧握的拳头在脚镣-手铐与链
图片尺寸1100x1100
一种防脱逃电子脚铐的制作方法
图片尺寸1000x946
脚铐
图片尺寸3508x2337
cn204782383u_一种电子脚铐有效
图片尺寸869x943
网贷从业者必知:如果有经侦来了说要带你走该怎么办?
图片尺寸650x499
寥寥人生需尽欢
图片尺寸200x200
非监禁电子监控技术(电子脚铐)的起源
图片尺寸393x252
一种警用剪断报警的脚镣
图片尺寸911x1196
手铐手绘
图片尺寸1200x636
cn201444815u_家禽用脚镣失效
图片尺寸1054x1853
一种智能电击脚铐的制作方法
图片尺寸1000x663
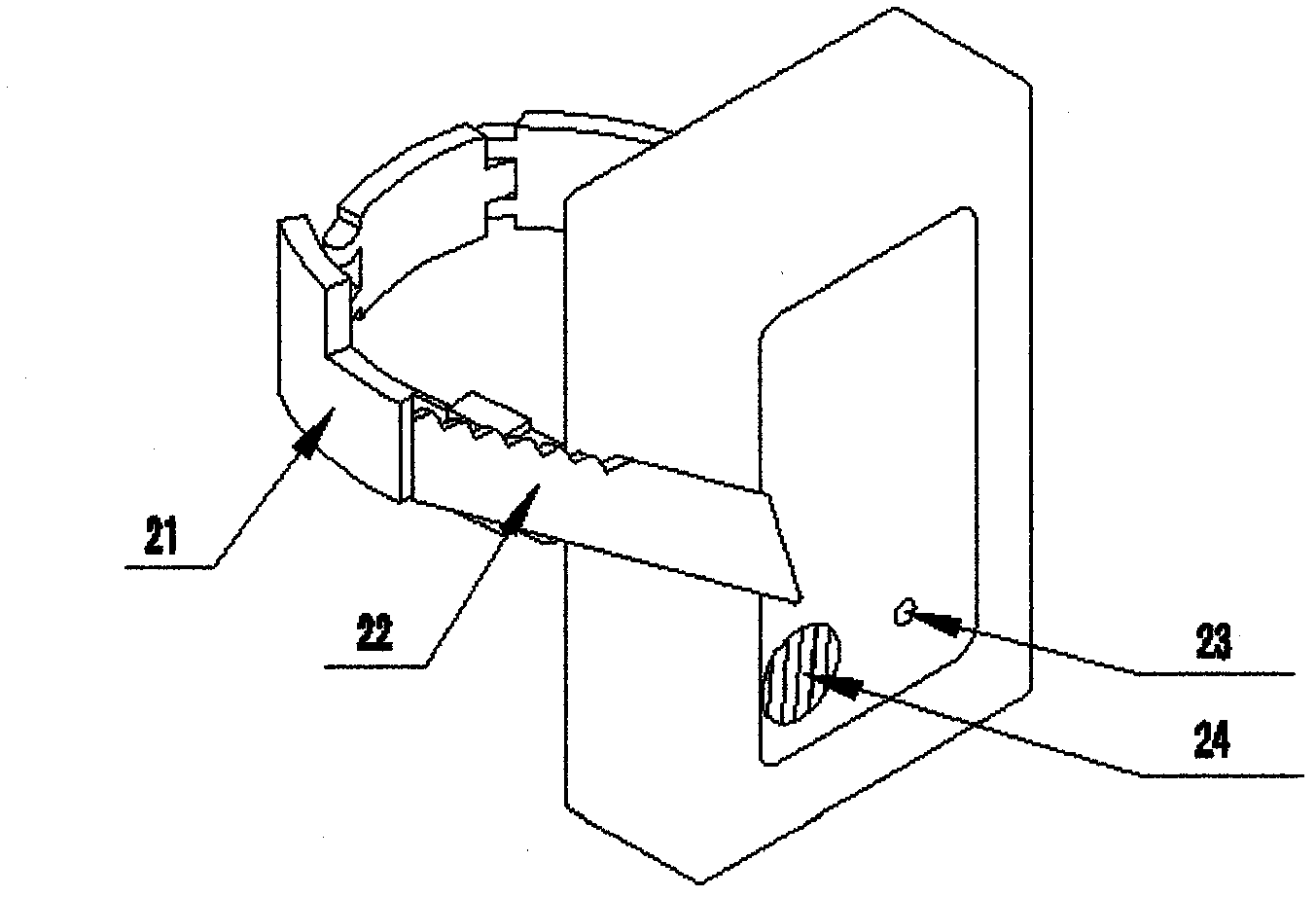
电子脚镣
图片尺寸1353x922
手铐的水彩素描在白色的背景
图片尺寸1200x679
玩篮球的男孩漫画素材
图片尺寸285x368