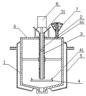
脱色罐结构图

一种精炼用脱色罐的制作方法
图片尺寸766x1000
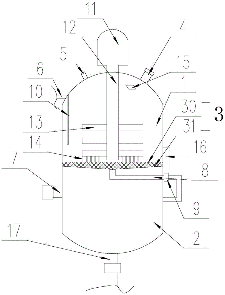
一种脱色罐的制作方法
图片尺寸615x1000
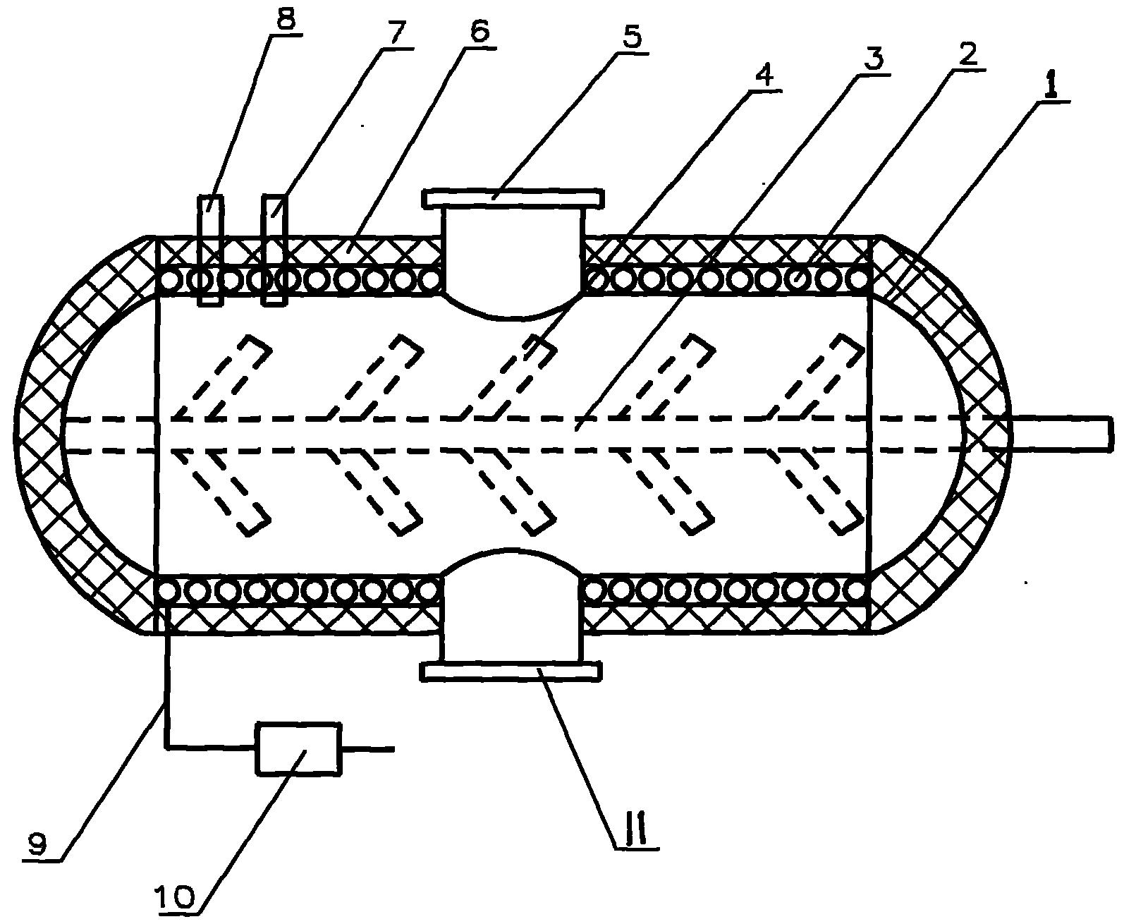
一种脱色罐的制作方法
图片尺寸700x1000
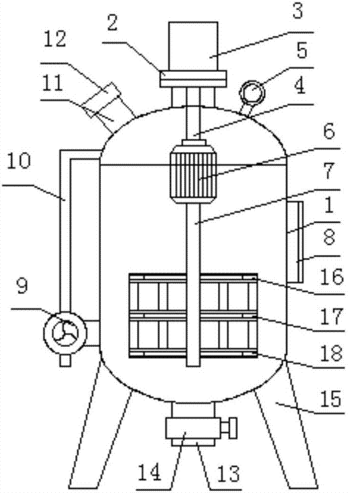
一种工作效率高的脱色罐的制作方法
图片尺寸873x1000
一种真空脱气罐
图片尺寸1459x2315
cn2216426y_油脂脱臭锅失效
图片尺寸1824x2624
cn209322824u_一种精炼用脱色罐
图片尺寸764x1000
一种带有柴油脱色砂的脱色罐制造技术
图片尺寸788x1000
一种废酸脱色装置-爱企查
图片尺寸278x311
一种葡萄糖脱色罐的制作方法
图片尺寸871x1000
k系列搪玻璃反应釜(反应罐)-淄博兴田工业塘瓷厂
图片尺寸1100x1493
背景技术:脱色罐广泛应用于含高杂质溶液的脱色,提纯,净化,去除热原
图片尺寸1000x974
cn208389452u_一种水果罐头加工用脱气罐有效
图片尺寸708x1000
一种脱色罐的制作方法
图片尺寸743x1000
一种水果罐头加工用脱气罐的制作方法
图片尺寸703x1000
电磁加热式再生橡胶脱硫罐-爱企查
图片尺寸1594x1310
厂家生产定制各类不锈钢反应釜 加热真空搅拌罐 交期保障
图片尺寸750x1184
一种沼气脱硫罐制造技术
图片尺寸1000x984
沼气脱硫罐,脱硫设备,脱硫罐厂家直销 干法脱硫
图片尺寸568x411
一种脱色釜制造技术
图片尺寸784x1000