自动冲水装置

小便感应冲水厕所全自动便器便池智能明装公厕感应冲水器
图片尺寸750x750
小便卫生间智能便池感应器公共厕所全自动感应冲水感应冲水器
图片尺寸800x800
大便感应器自动冲水阀红外线图片
图片尺寸300x300
厕所小便便池尿斗感应器卫生间一体式智能明装全自动感应冲水器
图片尺寸800x800
小便皇陶全自动智能感应便器冲水厕所装小便池感应冲水器
图片尺寸750x563
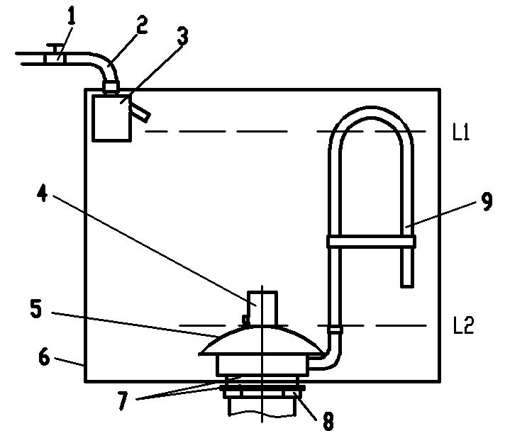
一种感应马桶的自动冲水装置
图片尺寸1560x2115
自动感应冲水器 明装小便器 红外线智能小便斗 公共洗手间男厕尿斗
图片尺寸790x787
九牧5213b自动感应冲水器
图片尺寸718x726
小便智能全自动感应器冲水阀明装小便池红外线挂墙感应冲水器
图片尺寸800x800
供应明装式挂墙直流自动感应小便冲水器
图片尺寸900x900
智能感应大便感应器明装暗装蹲便器全自动感应冲水阀厕所蹲坑大便
图片尺寸800x800
美的智能spa微气泡可视化冲牙器体验
图片尺寸2741x1824
沟槽大便公厕自动感应器人体感应冲水系统装置
图片尺寸600x545
脚踩储水式,自动式冲水装置
图片尺寸1134x668
zoom卓美全自动感应大便冲水冲洗阀蹲便感应器铜阀感应冲水器
图片尺寸800x800
其昌公厕定时冲水器沟槽式厕所定时自动冲水器便槽节水定时器冲水装置
图片尺寸743x618
暗装全自动感应大便器 厕所蹲便冲水器 明装感应冲洗阀配件
图片尺寸300x300
一种智能马桶冲水装置
图片尺寸1555x2501
明装大便感应器厕所冲便器冲水阀暗装冲洗阀全自动蹲便器冲水器
图片尺寸400x400
中水利用自动冲水装置-爱企查
图片尺寸513x505