自动夹持装置

机器人夹持器
图片尺寸947x744
器机械夹结构图用以按固定程序抓娶搬运物件或操作工具的自动操作装置
图片尺寸728x745
气缸抓手夹持装置
图片尺寸1100x682
力控制夹持器
图片尺寸820x605
机械夹持器
图片尺寸347x603
夹持装置爆炸图
图片尺寸1388x868
夹持式自动定心夹具模型
图片尺寸820x536
自适应轮对轴承及轴承过渡套装配夹持装置-爱企查
图片尺寸332x411
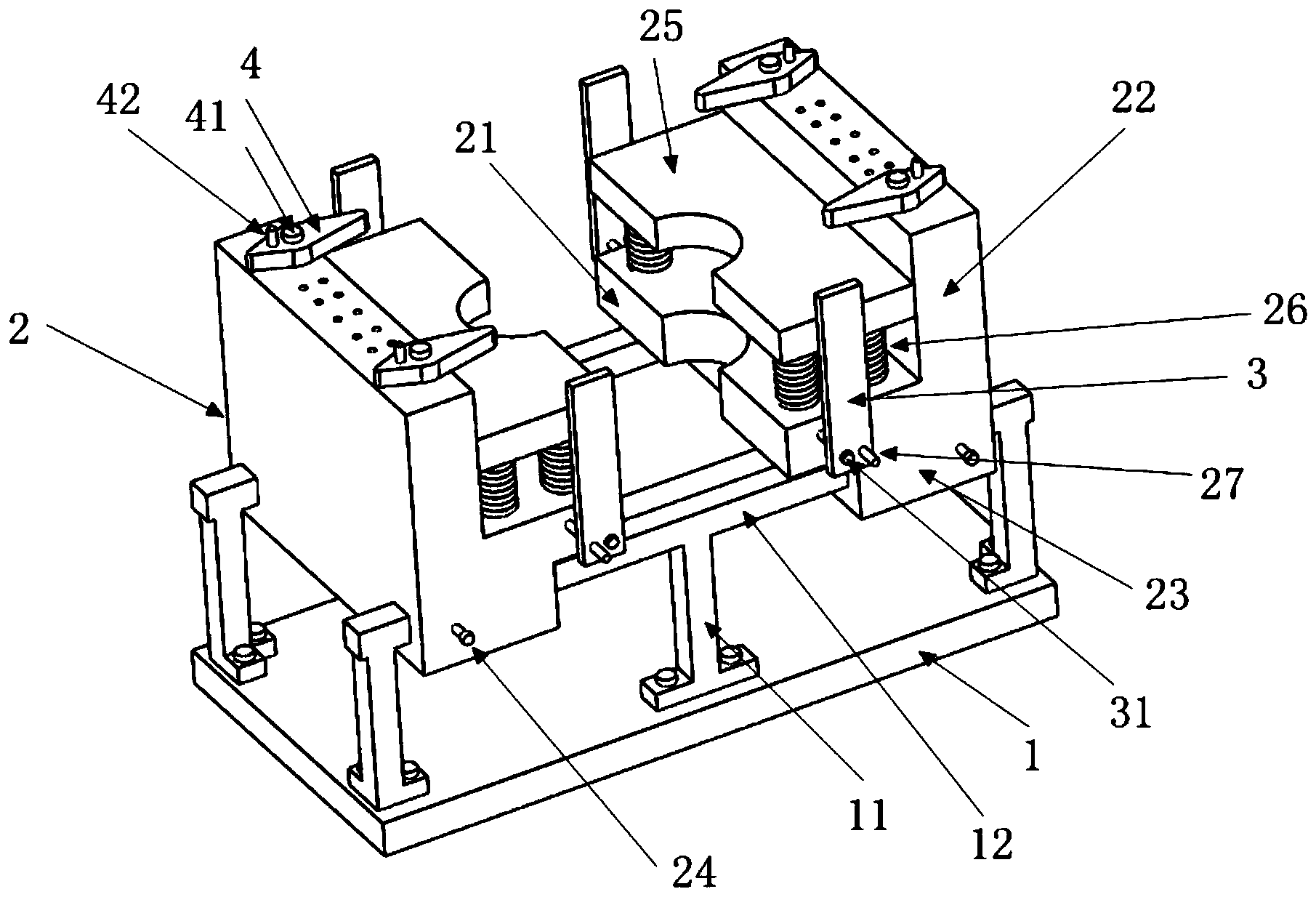
一种自适应料盘夹持装置
图片尺寸1809x1479
自动夹持装置
图片尺寸1209x708
气动夹持器 / 平行 / 双爪
图片尺寸500x500
搬运夹持机构三维图
图片尺寸950x534
夹持装置
图片尺寸814x1000
用于棒状物料夹持的机械手夹持器
图片尺寸1780x1793
器机械夹模型图用以按固定程序抓娶搬运物件或操作工具的自动操作装置
图片尺寸820x774
一种夹持装置
图片尺寸1811x1234
机械夹持器设计
图片尺寸291x218
机械设计夹持装置
图片尺寸820x339
一种卡爪连杆式自动夹持装置-爱企查
图片尺寸1247x1112
一种装配用全自动夹持装置
图片尺寸2448x1457